Passages in Black are found in all editions of the Manual. Those in red only appear in the ’60 edition. If starred in red the passage is not included in the ’60 edition.
This comparison project of the ’60 and 66′ editions is currently a work in progress.
ORDNANCE INSTRUCTIONS
FOR THE
UNITED STATES NAVY.
1866.
PART I.
RELATING TO THE
PREPARATION OF VESSELS OF WAR FOR BATTLE,
AND TO THE
DUTIES OF OFFICERS AND OTHERS WHEN AT QUARTERS.
PART II.
THE EQUIPMENT AND MANŒUVRE OF BOATS
AND
EXERCISE OF BOAT HOWITZERS.
PART III.
ORDNANCE AND ORDNANCE STORES.
FOURTH EDITION.—PUBLISHED BY ORDER OF THE NAVY DEPARTMENT.
WASHINGTON:
GOVERNMENT PRINTING OFFICE,
1866.
Ordnance any suggestions relative to future additions or
corrections, with the reasons for any proposed changes,
quoting part, page, and paragraph by its number.
CONTENTS.
[A full index will be found at the end of the book.]
| PART | PAGE | |
| Captain | 1 | 3-6 |
| Executive Officer | 1 | 6, 7 |
| Officers in charge of divisions | 1 | 8, 9 |
| Master | 1 | 9 |
| Chief Engineer | 1 | 9 |
| Gunner | 1 | 9-12 |
| Carpenter | 1 | 12 |
| Yeoman | 1 | 13 |
| General distribution of officers and men at quarters | 1 | 14-20 |
| Distribution and arms of men at the guns | 1 | 21-25 |
| Duties at quarters in battle or exercise | 1 | 26-40 |
| Equipments and Implements | 1 | 33-35 |
| Broadside guns, stations and gun-numbers | 1 | 35 |
| Calls for assembling at quarters | 1 | 36, 37 |
| Preparations for exercise at general quarters | 1 | 38-40 |
| Arrangements for delivering and distributing powder | 1 | 41-45 |
| Naval gun-carriages | 1 | 45 |
| Exercise of broadside-guns | 1 | 46-60 |
| Exercise of pivot-guns | 1 | 61-73 |
| Notes upon the manual exercise | 1 | 74-88 |
| The use of fuzes | 1 | 89-91 |
| Boarders | 1 | 92, 93 |
| General precautions to be observed in time of war | 1 | 94-96 |
| Directions in case of fire | 1 | 97-100 |
| Rifled Cannon | 1 | 101-107 |
| Monitors | 1 | 108-112 |
| Mortars | 1 | 113-127 |
| Miscellaneous Operations | 1 | 128-131 |
| Equipment of boats | 2 | 3-9 |
| Fixtures in boats for boat-guns | 2 | 6-9 |
| Exercise and Manœuvre for boat-howitzers | 2 | 10-18 |
| Exercise with howitzer on field-carriage | 2 | 19, 20 |
| Remarks on the use of Naval Light Artillery | 2 | 21, 22 |
| Notes on the use of boat-howitzers | 2 | 22-24 |
| Manœuvres of boats armed for service | 2 | 24 |
| Landing seamen, marines, and howitzers | 2 | 25-27 |
| Ordnance and Ordnance Stores | 3 | 3-80 |
| Inspection and Proof of Naval guns | 3 | 8-17 |
| Use of the Inspecting Instruments | 3 | 18-21 |
| Powder-Proof | 3 | 22 |
| Water-Proof | 3 | 23 |
| Marking guns | 3 | 23 |
| Extreme proof of trial guns | 3 | 24-26 |
| Preparation of guns for service | 3 | 27-29 |
| Preservation of guns | 3 | 30-32 |
| Examination of guns | 3 | 33-35 |
| Inspection of shot and shells | 3 | 36-38 |
| Shot and shell gauges | 3 | 39, 40 |
| Piling of balls | 3 | 41, 42 |
| Preservation of shot and empty shells | 3 | 43 |
| Preparation of shell for service | 3 | 44-47 |
| Gunpowder | 3 | 48-55 |
| Preservation and storage of powder | 3 | 48-53 |
| Service-charges for naval guns | 3 | 53, 54 |
| Boxes for small-arm ammunition | 3 | 55, 56 |
| Cannon and Friction primers | 3 | 56, 57 |
| Cartridge-bags | 3 | 57-59 |
| Magazines and shell rooms | 3 | 60-64 |
| Gun-carriages | 3 | 65, 66 |
| Gun-gear | 3 | 66, 67 |
| Griolet | 3 | 68 |
| Directions for cleaning arms | 3 | 80-82 |
| Paints and Lacquers | 3 | 83-89 |
| APPENDIX. | ||
| Directions as to using the allowance tables of crews | A | iii-v |
| Table I. Showing the number of hands for various kinds of guns |
A | vi |
| Table II. Allowance of Petty Officers for various kinds of vessels |
A | vii, viii |
| Table III. Allowance of Officers, when | A | ix |
| Table IV. Allowance of Marines, when | A | x |
| Graduation of sights and ranges, of 32 pds.: of 27 or 33 cwt.: No. 1 |
B | xi |
| Graduation of sights and ranges, 32 pds.: of 42 or 57 cwt.: No. 2 |
B | xii |
| Graduation of sights and ranges, 8 in.: of 55 or 63 cwt.: No. 3 |
B | xiii |
| Graduation of sights and ranges, 9 and 11 in. shell guns, No. 4 |
B | xiv |
| Approximate ranges of Shell guns No. 5 | B | xv |
| Approximate ranges of Shot guns and howitzers No. 6 | B | xvi |
| Approximate ranges of Rifle guns No. 7 | B | xvii |
| Table for finding the distance of an object at sea No. 8 |
B | xviii |
| Form of Report of Target Practice with great guns No. 9. |
B | xx, xxi |
| Form of Report of Target Practice with small arms No. 9. |
B | xxii |
| Directions as to preparing Reports of Target Practice No. 10 |
B | xxiii |
| Form of Reports of Inspection No. 1 | C | xxiv-xxvi |
| Questions to be embraced in Reports of Target Practice No. 2 |
C | xxvii |
| Tables of Allowances of Ordnance Equipments and Stores |
D | xxviii-li |
PART I.
RELATING TO THE
PREPARATION OF VESSELS OF WAR FOR BATTLE.
Bureau of Ordnance, }
Navy Department. January 1st, 1866. }
Sir:—
The Ordnance Instructions for the Navy having been again
carefully revised, and such additions and corrections made
as the new armaments of vessels of the Navy rendered
necessary, they are approved by the Bureau, and I have the
honor to submit them for the adoption of the Navy
Department.
I am, Sir, with high respect,
Your obedient servant,
H. A. WISE, U.S.N.,
Chief of Bureau.
Navy Department, }
Washington, January 1st, 1866. }
Sir:—
The revised Ordnance Instructions for the Navy, submitted
with your letter of this date, are hereby approved and
adopted by the Department, and all officers of the Navy will
strictly observe and enforce them.
Very respectfully,
GIDEON WELLES,
Secretary of the Navy.
Commander H. A. WISE, U.S.N.
Chief of Bureau of Ordnance.
CHAPTER I.
GENERAL DUTIES OF OFFICERS
IN RELATION TO ORDNANCE AND GUNNERY, AND TO MILITARY EQUIPMENTS AND
EXERCISES.
CAPTAIN.
1. The Captain or Commanding Officer will be careful to require that
all the Ordnance Instructions are strictly enforced on board the
vessel under his command; and although particular duties are assigned,
and various instructions given to the other officers of the vessel,
yet he is to see that the duties are performed, and the instructions
obeyed, by the officers to whom they are respectively addressed.
2. As soon as the crew is received on board the vessel, he shall cause
a fire-bill to be prepared, the crew shown their stations, and see
that they are duly stationed at quarters for battle (See Articles 78
to 103), and exercised at general quarters, and by divisions,
particularly the powder division (See Articles 180 to 201), until
each officer and man is thoroughly instructed in his duties; after
which the exercises are to be frequent during the cruise. Exercises
which are short and spirited are preferable to those which are long
and fatiguing. Distinctions and indulgences to those who excel are
recommended.
When the men have become well acquainted with their duties at the
guns, and in passing powder, or when the general duties of the ship
are unusually fatiguing, the divisional exercises may be confined to
those belonging to one watch. It is directed that, unless bad weather
prevent, Monday of each week be set apart for general quarters.
3. He will, at least once in two months for the first year of the
cruise, and once in three months for the remainder thereof, assemble
the crew at quarters in the night, without any previous intimation of
his intention to do so, and have a general exercise. He will inspect
the ship throughout, and cause an entry to be made in the log-book of
the length of time required between [4]the beginning of the call to
quarters and the complete preparation for commencing action; also,
when every gun is ready for a second fire.
4. In order to ascertain whether the equipments are complete and their
uses understood, as soon after the ship has been commissioned as
circumstances will permit, he will cause at least one round to be
fired, with shot or shell, according to the nature of the gun; and,
when practicable, at targets at known distances and with the
appropriate service charges. (See Tables of Ranges, Appendix.)
5. He will immediately endeavor to discover whether defects or
deficiencies in the armament or equipment exist, and, if any be found,
will remedy them as far as in his power consistently with
instructions, representing them to the Commandant of the yard of
outfit, if near it; and, if important, to the Chief of the Bureau of
Ordnance.
6. On the representation of the Gunner that the Ordnance Stores are
injured or liable to injury, he will order the survey called for by
Article 49.
7. He will, in each quarter of the first year of the cruise, expend in
target-practice six rounds, and in each succeeding quarter-year six
broadsides, making the report required by Art. 14.
He will not, however, either for this purpose or for saluting, reduce
his supply of ammunition below 100 broadsides.
8. In order to accustom the men to the use of loaded shells, they are
frequently to be used in preference to shot. For this purpose,
however, empty shells, or those that are “bouched” only, will be
carefully fitted, filled, and fused on board, in season, according to
the directions (Chap. I. Part III.), and first expended.
They should be fitted only as required to replace those expended; a
principal object in supplying a certain number of shells to be fitted
on board ships, is to disseminate information on this subject.
9. The relative proportions of “distant,” “ordinary,” and
“near-firing” charges are to be preserved (See Table of Charges,
Part III.) as nearly as practicable, and after action or exercise,
deficiencies caused by the expenditure of any particular kind of
charge will be made up, without unnecessary delay, from the others on
hand.
10. The allowances for target-practice are not to be expended in one
or two exercises, but are to be divided in such proportions as to
allow target-practice once a fortnight, or at least once a month, when
practicable; and at least three-fourths of the charges allowed shall
be expended in practice at sea, when it can be conveniently done,
opportunities being chosen for that purpose under all the
circumstances of wind and weather in which vessels of war are liable
to engage in battle.
[5]11. When in port, and circumstances will admit, such places are to be
selected for practice as are favorable for the recovery of the
projectiles; when the effect of the bursting charge is not important,
a blowing charge may be used in shells, to test the efficiency of the
fuze without destroying the shell.
In practice the service charges for which the sights are marked are
alone to be employed.
Distances within half a mile are preferable for solid shot, as best
showing the result. Targets of ten feet high by twenty long will
afford the means of general comparison, especially with the practice
at the experimental battery at Washington. For shells, the distances
should suit the ranges of their fuzes, or time of burning, that the
degree of certainty of explosion in direct or ricochet fire may be
seen and noted.
12. The whole crew is to be exercised in the use of the musket,
carbine, pistol, and sword, and in firing at a target with small arms,
by suitable persons, each division under the superintendence of its
respective commanding officer. The company and the battalion drill is
recommended as often as convenient opportunities of exercise present
themselves.
13. He will cause the boats’ crews to be exercised in all the
preparations for attacking an enemy, either by land or water, and in
the use of “boat and field howitzers,” and small arms, under all the
various circumstances likely to arise in such service, and
particularly in embarking and disembarking the “boat and field” guns
and ammunition. (See Part II.)
14. At the expiration of each quarter he will cause to be prepared,
and forward, by the earliest favorable opportunity, to the Bureau of
Ordnance, a report of all firing, with or without projectiles,
according to the detail given in form C. Appendix; also the Quarterly
return of receipts and expenditures in the Ordnance Department.
15. He will, once in every quarter, cause a thorough examination to be
made into the condition of the armament, shot and shells; and will see
that care is taken to keep the shot and shell lockers dry; that the
shot and shells stowed therein are clean and free from rust, and,
also, that the diameter of shot kept on deck is not increased above
the high gauge by injudicious lacquering or painting, and report to
the Bureau of Ordnance that this has been done.
16. He is to take care that especial attention is paid to the fuzes,
whether spare or in the shells; and if there be reason to suspect
injury from dampness or any other cause, he will have one or more
fuzes burned for trial.
17. He will not permit shells to be filled, or their fuzes to be
shifted or shortened, without his order; and whenever these operations
are to be [6]performed, he will see that a suitable and properly secured
place, not in the shell-room, and as far from the magazine as
convenient, is selected for the purpose. On such occasions the fires
and lights are to be extinguished, and also the further precautions
are to be observed, as to the manner of performing the work, contained
in the directions for filling and emptying shells. (See Chap. I.,
Part III.)
18. He is not to dismount, strike below, or otherwise render unfit for
immediate use, any of the guns on board the ship he commands, except
imperative necessity should require it for the safety of the vessel.
The particular circumstances of such necessity are to be immediately
entered at large in the log, and information is to be given to the
Commander of the squadron, and to the Secretary of the Navy.
When guns are to be struck below, or when shipped for transportation,
he shall cause all the precautions to be taken to guard them from
injury, prescribed in Article 46 of these instructions, and such
others as circumstances require.
19. He is prohibited from giving away the arms of any description
belonging to the vessel under his command.
20. He will keep the keys of the magazines and shell-rooms, and of the
receptacles for percussion caps and primers, and of the cocks for
flooding magazines and shell-rooms, in the cabin, where they may be
obtained by the Executive Officer in case they should be wanted when
the Captain is absent from the vessel; and they are only to be
delivered to the Executive Officer, or the Officer of the Powder
Division.
21. Before entering any friendly port, he will cause every gun to be
drawn and reloaded with cartridge, if necessary to salute.
22. He will not permit friction-matches to be on board under any
circumstances, and before sailing will notify all persons of this
regulation, and institute a search to see that it has been complied
with.
EXECUTIVE OFFICER.
23. The Executive Officer will, under the orders and direction of the
Captain, ascertain that all the ordnance stores and equipments ordered
or allowed for the vessel are received on board in good order; that
they are properly distributed and stowed; that they are only used or
expended according to directions from proper authority, and that they
are duly accounted for, according to the directions and forms which
are or may be prescribed by the Bureau of Ordnance. In small vessels
which have no Gunner, he shall receipt for and be accountable for all
ordnance stores, making all the returns which the Gunner is herein
directed to prepare.
[7]24. He will be particularly attentive to the state of the batteries,
small arms, magazines, shell-rooms, and shot-lockers; to the passages
leading to and scuttles connected with them; and take care that they
are kept clear and ready for action.
25. He will cause convenient places to be assigned for the stowage of
spare articles which may be required in action, and see that shot for
at least twenty broadsides for shot-guns, and one shell for each
shell-gun, are always in readiness upon the respective decks.
26. When salutes are to be fired he is personally to examine, or to
direct one of the Officers Commanding a Division to examine, ascertain
and report that the necessary preparations are made and precautions
taken to avoid accidents. The guns, if loaded, are to be drawn,
wormed, sponged and reloaded. They are, nevertheless, to be so laid as
to prevent the possibility of mischief, even in the contingency of a
shot or wad being left in any of them. Hard wads are not to be used in
firing salutes, nor are port-fires. The guns are to be fired either
with percussion or friction primers, as the Captain may prefer. These,
when in good order, are not apt to fail if the lock-string be properly
pulled; as, however, a slight deterioration may interfere with the
regularity of salutes, the precaution of dropping a few grains of
gunpowder into the vent will be found effectual.
Guns of the lowest calibre and class, when sufficient in number, are
to be used for saluting; and no heavier than their “near-firing”
charge is to be used. (See Table of Charges, Part III.) Two boats’
howitzers will be found sufficient for saluting. “Saluting powder” to
be used in all guns for this purpose, in preference to “Service
powder.”
27. In large vessels he will cause a cot with a spare sacking-bottom,
or such other apparatus as may be approved by the Surgeon, to be
prepared and kept for the purpose of lowering the wounded to the orlop
or berth deck.
28. Before the powder is received on board, he, with the Gunner, will
carefully inspect the magazines and shell-rooms, their passages and
light-rooms, and have them thoroughly cleaned, dried and aired, and
will see that the pipes and stop-cocks, and every thing connected with
flooding the magazines, are in order, and acquaint himself with their
position and mode of operation; the lighting apparatus cleaned and
dried; and particularly that the glasses for transmitting light into
the magazines and shell-rooms are clear and without fracture; that the
light burns clearly, and the box is well ventilated; and shall report
to the Ordnance Officer when the magazines are ready to receive the
ammunition. (See Chap. II., Part III.)
OFFICERS IN CHARGE OF DIVISIONS.
29. Officers in charge of divisions of guns are required to make
themselves thoroughly conversant with every particular relating to the
equipment, exercise, and management of the guns, as set forth in these
instructions, and especially to familiarize themselves with the
charges prescribed and the ranges given in the Tables; the principles
and practice of pointing guns under all circumstances, and also with
every precaution connected with the use of shells, and of percussion
and time fuzes.
30. They are carefully to inspect their divisions when called to
quarters for inspection or exercise, and see that every thing is, at
all times, in place and in order for service; and in case of
discovering any defect or deficiency, will report it to the Executive
Officer.
31. They will be careful, when instructing the men at quarters, to
require a strict adherence to the prescribed mode of performing their
duties, and to all the details of execution, in order that general
uniformity and the efficiency dependent on it may be secured. When the
individuals of the guns’ crews have become expert in the performance
of their particular duties, then each man shall be instructed by the
officer of his division, until he shall have become acquainted with
the special duties of every station at the gun.
32. They are at least once a week to examine the guns and all the iron
work of the carriages, and see that they are kept free from rust, and
especially the eccentric axles, elevating screws, and pivot-bolts,
which must be protected by a mixture of tallow and white-lead, or
other similar coating. The cap-squares must be frequently removed, the
guns lifted and the trunnions cleaned; the elevating screws oiled, but
never cleaned with brick or emery paper.
Once a quarter at least, all the connecting bolts, such as cap-square,
bracket, breast, and transom bolts, are to be examined and tightened
if they require it. To do this it is necessary, after lifting the gun,
to turn the carriage bottom up. The threads of the screws of the bolts
above named must be coated with the lacquer for small arms.
33. The Officer of the Powder Division will, in like manner, carefully
instruct and drill his men, and test the efficiency of the
arrangements for passing powder, shot, and shell, in order to insure a
sufficient supply of each to all parts of the batteries, without the
danger of misdirection or of accumulations in any part thereof. To
this end blocks of proper shapes and colors may be provided in the
appropriate tanks of the magazines, and passed up instead of powder,
when that is not used. These are to be counted and reported by the
Officers of the Gun Divisions, and will enable the [9]Executive Officer,
and the Officer of the Powder Division, to detect and remedy defects
or deficiencies in the system or its details, and to be sure that the
men are properly stationed and instructed.
MASTER.
34. The Master will see that the number of fighting-stoppers, whips
for preventer-stays, preventer-braces, slings for yards and gaffs,
relieving-tackles, and other articles in his division which are
directed, are all fitted and ready for use in action. At general
quarters his division must be regularly drilled in fishing masts and
spars, stoppering and knotting rigging, and trimming sails.
CHIEF ENGINEER.
35. The Chief Engineer will ascertain that all the tools and
implements necessary for the prompt and effectual repair of injuries
which the engine and its dependencies may receive in action, are
received on board and placed at hand.
GUNNER.
36. He shall attend personally at the ordnance store where his stores
shall be delivered to him, the Ordnance Officer furnishing him with
means of transportation and men for stowing them in their appointed
places on board ship, when the crew is not available for this purpose.
He is to be especially careful that the equipments and stores
belonging to the magazine are arranged therein in conformity to
Ordnance Instructions. (See Chap. I., Part III. for further
directions relative to his duties and responsibilities.)
37. The powder-tanks containing charges for each class of guns are to
be stowed on their sides, with the lids next the alleys and hinges
down, near the magazine scuttles through which these charges are to be
delivered; the charges for “ordinary firing” nearest the scuttle. When
tanks are emptied they are to be stowed on the upper shelves in order
that the powder may be kept, as much as possible, below the water
line.
38. In time of war, passing-boxes are to have charges for “ordinary
firing” kept in them ready for passing up at once.
39. In future white will be used for all cylinders, the calibre and
weight distinctly stencilled on each bag. In case of a deficiency of
white cartridge cloth, the different charges for all classes of guns
may be distinguished by the color of the cartridge-bags; white being
used for distant firing, blue for “ordinary” firing, and red for
“near” firing.
The lid ends of the powder-tanks for service charges are to be painted
of [10]the same colors as the cartridge-bags which they contain, and must
be distinctly marked with the calibre and weight of the gun for which
the cartridges are intended. Tanks for musket-powder must be marked
MUSKET-POWDER; and this powder may be put up in either of the kind of
charges allowed which will make the best stowage, the bags properly
stencilled.
Tanks containing saluting powder are to be marked “SALUTING.” It is to
be kept in bags, stencilled “saluting.”
40. No loose powder is ever to be taken or carried on board ship, and
all, whether public or private belonging to officers, must be safely
stowed in the magazines.
41. All metallic cartridges for small arms, percussion caps, and
percussion or friction primers, or other articles containing
fulminating matter, must be kept in boxes prepared for the purpose,
and the boxes must be stowed separately from other articles, in a dry,
secure, and safe place, under lock and key, and are on no account to
be put in the magazine. It is recommended that they be distributed in
two or three places, a portion conveniently at hand.
42. The fireworks, after carefully removing all fulminating matter,
such as caps or primers, if any such be used to ignite them, are to be
stowed in their proper packing-boxes in other light boxes of suitable
length, made water-tight, with lock and key, and to fit between the
beams and carlines of the gun decks of frigates and berth decks of
single-decked vessels. Those for instant use must be placed near the
after hatch, and the remainder abaft that position, if possible, so as
to be constantly under the care of the sentinel at the cabin doors. In
no case, however, are they to be placed over any standing light or
lantern on any deck.
43. All ammunition packing-boxes, shell-bags, and metal cases are to
be preserved, and returned into store at the end of the cruise.
44. No coopering is ever to be done in the magazines of ships. Should
powder be received on board in barrels, the hoops and heads must be
started on the orlop or berth deck before entering the magazine.
45. In stowing shell-rooms, filled shells are to be stowed together in
boxes or bags; those having fuzes of different times of burning, and
each kind of fuze, will be placed in tiers or ranges distinctly
separate. (See Article ON FUZES, C. IV.) Empty shells are to be
stowed by themselves, unsabotted, in bulk, in a dry place.
46. Whenever guns are to be struck below, or prepared for
transportation, the gunner will see that the bores are washed with
fresh water, carefully sponged, thoroughly dried, and coated with
melted tallow, and a wad dipped in the same material inserted, and
connected with a tompion by a lanyard. He is to see that the tompion
is put in securely, and the vent and all screw-holes stopped by a plug
of soft wood, and puttied over.
47. He is to examine and report daily, before 10 A.M. and 8 P.M.,
whether the guns and all their equipments; the whips for supplying
shot and shells; [11]the arm-chests, armory, and small arms; the supply
and reserve division boxes, and other articles furnished as ordnance
and ordnance stores, are in good order and in place, and make
immediate report to the Commanding or Executive Officer of any defects
or deficiencies which he may discover at any other time.
48. The guns and their equipments are to be kept as dry as possible,
and no salt water used in cleaning them.
49. If he shall discover any articles to be injured, or liable to
injury from any cause, he will ask, in writing, for a survey to be
held, to determine the amount, cause, or liability of any of the
stores or equipments to damage or deterioration; a copy of this
request and report of survey to be furnished to him as a voucher, by
the officer ordering the survey.
50. Whenever the magazines or shell-rooms are opened, he is to take
every precaution to guard against accident by fire; to examine
particularly that all the men stationed in any way in or about the
magazine, embracing all stationed within the magazine screen, put on
the magazine dress and shoes, and on no account have any thing
metallic about them, and that no improper articles are introduced. He
will also see that all the articles required for sweeping and removing
loose powder are at hand, and that those operations are performed
before the magazine is closed.
51. The tanks are never to be opened unless by special order, or when
powder is actually required for service; and then no more of the lids
are to be unscrewed than is necessary for immediate supply. The
strictest attention to this regulation is required of the Gunner, as
experience has proved that the preservation of the powder in good
condition depends upon the entire exclusion of damp air.
52. When the guns are ordered to be drawn before entering a friendly
port, the Gunner is to be particularly attentive to assure himself
that no shot or wad is left in any gun.
53. In saluting, he is to guard against accident in loading, pointing,
and firing, and to be particularly careful in reloading, where that
operation is unavoidable.
54. In the absence or illness of the Gunner, his general duties will
devolve on a Gunner’s Mate, under the supervision of the Executive
Officer.
55. The Gunner shall keep a minute-book of all expenditures in the
Ordnance Department, and on Monday of each week shall submit it to the
Executive Officer for examination and approval. Within ten days after
the expiration of the quarter, he shall make out his quarterly return
in the required form, which shall be signed by him, certified correct
by the Executive Officer, approved by the Commander, and forwarded to
the Bureau by the first opportunity. At the same time the ledger shall
be posted.
[12]56. When a vessel returns from a cruise to be refitted or repaired, or
placed in ordinary, the Gunner, or person performing the duty of
Gunner, is not to leave the ship, unless specially authorized by the
Secretary of the Navy, until all the guns, powder, small arms,
ammunition, and other articles under his charge, shall have been
examined and surveyed, and turned over to his successor, or other
person appointed to receive them, or to the Inspector of Ordnance, the
receipt for which he shall show to the officer to whom he applies for
leave.
CARPENTER.
57. The Carpenter shall ascertain and report to the Executive Officer
that there are a sufficient number of tarpaulins to cover all the
hatches leading to the fore and after orlops; that the pump-gear of
every description is ready and in order for rigging the pumps, and
that every preparation can be promptly made before going into action
to free the ship, in case of receiving injuries below the water-line.
58. He is also to examine and keep in order the force and channel
pumps, the fire-engine, the division-tubs, and, in short, all the
apparatus necessary to give a good and speedy supply of water in case
of fire in action.
59. He is specially charged with the care and distribution of articles
for stopping shot-holes or repairing other injuries to the hull, which
may be received in action, viz.: shot-plugs and mauls; pieces of pine
board from eighteen inches to three feet long, and from twelve to
fifteen inches wide, covered with felt or fearnaught, previously
coated with tar or white lead; patches of sheet-lead, all with
nail-holes punched; and trouser-slings for lowering men outside the
vessel, to be provided with a pouch or pocket, to contain a hammer and
nails. Tarred canvas or oakum should be prepared to shove into the
shot-holes before the patches of board or lead are nailed on. Although
shot-plugs are still to be allowed, the means just described are most
to be relied on.
60. In case it shall not have already been done, the Carpenter, under
the direction of the Commander or Executive Officer of the ship, will
draw a black line, two inches broad, on the ceiling of the ship, to
correspond with the ordinary height of the water-line. On this is to
be marked, by corresponding intervals and numbers, the position of the
ports on the lowest of the gun-decks. By this arrangement the position
of the shot-hole can be easily ascertained and communicated, through
the Officer Commanding the Powder Division, and a remedy promptly
applied. To this end he is to pay habitual attention to keeping the
wings clear to four feet below the water-line, and report any
obstructions to the Executive Officer.
YEOMAN.
61. The Yeoman is to charge himself with, and is to be accountable
for, all articles of ordnance stores which may be placed in the
storeroom under his charge, and is not to issue or expend any article,
except by order of, or authority from, the Captain or Executive
Officer.
62. On the return of a ship, to be laid up at a yard, or to be
refitted or repaired, the Yeoman will be retained to deliver the
ordnance stores in his charge into the hands of the Ordnance Officer.
If any deficiency in the stores under his charge be discovered, or
they are in bad order, the Ordnance Officer will report the same to
the Commandant of the yard, who will order a survey, to ascertain the
nature and extent of the deficiency, or injury, and whether either
were caused by the Yeoman’s negligence or fault. If the surveying
officers shall find just cause for suspecting fraud or negligence, the
Commandant shall suspend the payment and discharge of the Yeoman,
until he shall report the case to the Bureau and receive the orders of
the Department.
63. No person is to be knowingly appointed Yeoman who has already
served in that capacity in any vessel of war of the United States, who
cannot produce a satisfactory certificate of his former good conduct
as Yeoman.
CHAPTER II.
GENERAL DISTRIBUTION OF OFFICERS AND MEN AT QUARTERS.
64. The following directions for the general distribution of a ship’s
company at quarters, or for action, are intended to secure, upon the
most important points, a degree of uniformity which will promote
efficiency, and at the same time leave to the Captains the selection
and arrangement of many individuals under their command, according to
their own views of the particular qualifications of each.
65. The Captain’s station, in action, is upon the quarter-deck.
66. The Executive Officer, the Midshipmen acting as Aides to the
Captain, and the Signal Officer, are also to be stationed on the
quarter-deck.
67. The stations of the other Officers are to be regulated by
divisions, as follows:
The guns upon each deck are to be numbered from forward, beginning
with No. 1, and continuing aft, in succession, each gun and its
opposite being designated by the same number, excepting pivot and
shifting guns, each of which is to have a separate number. The guns on
each deck are then to be divided as equally as possible into three or
two divisions, according to the number of Lieutenants or other Watch
Officers on board, so that each division of guns, and the persons
belonging to it, may be commanded by a Lieutenant or other Watch
Officer. These divisions are to be numbered consecutively, designating
the forward division on the lowest gun-deck as the first division, and
passing from the after division of one deck to the forward division of
the next deck above it.
68. The command of these divisions of guns is to be assigned, in the
order of their numbers, to the Lieutenants or other Watch Officers,
according to their rank, assigning the first division to the officer
next in rank to the Executive Officer. In case of a deficiency of
Watch Officers, the quarter-deck division may be assigned to an Ensign
or Midshipman, who will act under the general supervision of the
Executive Officer. When the number of officers on board of vessels
having pivot-guns will permit, each pivot-gun will be placed under the
special charge of a suitable officer of the division of which it forms
a part.
MASTER’S DIVISION.
69. This division will comprise all those stationed in the tops, and
those appointed to attend to the rigging, sails, steerage, and
signals. The Master is to be stationed on the quarter-deck, and to be
assisted by the Boatswain, whose station will be on the forecastle.
The Boatswain will be charged with all his divisional duties in the
event of his death or absence. (For Arms, see Table in Article 101.)
POWDER DIVISION.
70. This division will be under the direction either of a Lieutenant,
Master, Ensign, or competent Midshipman. It will consist of all those
stationed below the gun-decks, except persons belonging to the
Surgeon’s Division and the Paymaster and his Clerk.
The Gunner is to be stationed in the main magazine, and a Gunner’s
Mate or Quarter Gunner in the other magazine when there are two; and
those persons of this division who may be stationed in the magazines
and passages are to be under the immediate direction of the Gunner and
his Mate, respectively. Those of the Carpenter’s crew stationed in the
hold or wings are to be under the immediate direction of the
Carpenter’s Mate, who will be stationed with them. All reports,
however, are to be made through the Commanding Officer of the
division.
DIVISION OF MARINES.
71. All the Marines who may not be distributed to other divisions for
action are to compose a Division of Marines, to be under the immediate
command of the Senior Officer of Marines on board. He will form his
division on such part or parts of the spar or upper deck as the
Captain may direct.
SURGEON’S DIVISION.
72. The SURGEON or senior Medical Officer will have the direction of
this division, which shall comprise all the Medical Officers and such
other persons as may be designated by the Captain to assist in the
care of the wounded in action. This division will occupy the cockpit,
or such other convenient place as the Captain of the vessel may
direct.
THE CHAPLAIN.
73. The CHAPLAIN will be in attendance to perform the duties of his
sacred office, and to render such other service as may be in his
power.
PAYMASTER.
74. The PAYMASTER’S station will be in the ward-room and on the
berth-deck, in charge of the money, books and stores belonging to his
Department.
ENGINEER DIVISION.
75. The Engineer Division shall be under the direction of the Chief
Engineer, and shall comprise the Assistant Engineers and such of the
Firemen and Coalheavers as may be detailed for the purpose. An
Assistant will be appointed to take charge of the fire party detailed
from this Division.
MISCELLANEOUS OFFICERS.
76. Ensigns, Midshipmen, Mates, Captain’s and other Clerks, the
Sailmaker, and other officers not enumerated, are to be assigned to
the different divisions at the discretion of the Captain.
77. In distributing the Petty Officers, Seamen, and others to the guns
and other stations in the several divisions, it is desirable, as a
general rule, that those stationed at the same gun or near each other
at quarters, should be drawn from different stations for working ship;
so that a great loss at any one gun may not fall too heavily on any
watch station.
Exceptions to this general rule may be advantageously made where the
duties of men require their habitual attendance on particular decks.
In such cases it will generally be advisable to station them at
quarters near to the places of their ordinary duties.
DISTRIBUTION OF THE CREW.
78. Table showing the number of men for the service of each kind and
class of gun in use in the Navy, assuming the vessel to have the
established complement.
| Pivot Guns: | Broadside Guns: | ||
| XI-inch of 16,000 lbs., X-inch of 10,000 lbs. |
24 | IX-inch of 9,000 lbs., 100-pdr. rifle. |
16 |
| X-inch of 12,000 lbs., 64-pdr. of 106 cwt. |
20 | 8-inch of 68 cwt. | 14 |
| IX-inch of 9,000 lbs., 100-pdr. rifle. |
16 | 8-inch of 6,500 lbs., 8-inch of 56 cwt. |
12 |
| 60-pdr. rifle. | 10 | 32-pdr. of 57 cwt. | 12 |
| 30-pdr. rifle. | 8 | 32-pdr. of 4,500 lbs., 32-pdr. of 42 cwt., 60-pdr. rifle. |
10 |
| 20-pdr. rifle. | 6 | 32-pdr. of 33 cwt., 30-pdr. rifle. | 8 |
| 32-pdr. of 27 cwt., 20-pdr. rifle. | 6 | ||
[17]To the XI, X, and IX-inch 100-pounder rifle, and 64-pounder pivot
guns, a Powderman, and to all other guns a Powder-boy is to be added.
The number of men to form crews of guns mounted on carriages of
special character, is to be regulated as may be found most
advantageous by the Commanding Officer.
79. In designating the Petty Officers and others for particular
stations, it is assumed that the intelligence, skill, and force of the
men have been equally divided between the two watches, and that the
men in the starboard watch have all odd numbers, as 1, 3, 5, and those
of the port watch even numbers, as 2, 4, 6.
To preserve this equality, and to secure the ability of those who may
be upon deck to prepare the ship for action at night, whilst the watch
below are bringing up and stowing the hammocks, all the odd-numbered
guns will be entirely manned by men belonging to the starboard watch,
and all the even-numbered guns by those belonging to the port watch,
as far as practicable. The crews of pivot-guns to be taken half from
each watch.
80. Where ports on opposite sides of the same deck are numbered the
same, and are both provided with a gun, guns’ crews are only to be
furnished for the guns on one side. Pivot and shifting guns are each
to have full guns’ crews.
81. When the complements allowed to vessels of the Navy will permit,
it is recommended as a general arrangement that the guns’ crews be
formed of about one-third Petty Officers and Seamen, one-third
Ordinary Seamen, and one-third Landsmen and Boys, and that this system
be observed as nearly as practicable.
82. At least one Quarter Gunner should be stationed at each division
of guns; and a Gunner’s Mate or Quarter Gunner in the smaller
magazine, and in each shell-room.
If there be more shell-rooms than there are disposable Quarter Gunners
to attend them, other careful and suitable persons are to be selected
to supply the deficiency.
83. Before permanently assigning the individuals which form a gun’s
crew, to the performance of particular duties connected with its
service in [18]action, it is important to ascertain their respective
qualifications, as far as may be practicable, by questioning them or
by exercising them at the guns.
84. The Captains, especially, should be selected from those in whose
skill, coolness, and judgment the greatest reliance can be placed,
without regard to their ratings, though at the same time care should
be taken to avoid stationing men of a higher rating than the Captains
of the guns, to perform subordinate duties at the same guns. They
should be examined by the Surgeon with reference to eyesight.
Spongers and Loaders rank next in importance, and, with activity and
coolness, should possess the necessary physical strength and stature.
For Handspikemen, weight is important, in addition to strength and
coolness.
85. Very careful men should be selected for attending the
Powder-scuttles on the different decks, as well to prevent noise and
contention among the Powder-boys as to guard against accidents, and
speedily to repair such as may occur. The boys should be trained to
fall into line, to insure an equal distribution of powder.
86. Unless some special reason should require a different arrangement
with regard to Boarders, Pikemen, Firemen, Sail-trimmers, and Pumpmen,
the following will be observed:
BOARDERS.
87. Half the men composing a gun’s crew, excluding the Powderman or
Boy, are to be Boarders. When this rule gives an odd number of men,
the odd one is to be a Second Boarder.
88. The Boarders are to constitute two divisions, called First and
Second Boarders.
89. First Boarders are, generally, to be taken from the second part of
a gun’s crew; and Second Boarders from the first part.
90. All Petty Officers on the spar-deck, except the Quartermaster at
the conn and the Quartermaster at the wheel, are to be First
Boarders.—(For Arms of Boarders, see Table, Article 101.)
The Executive Officer leads the Boarders. All the Division Officers on
the spar-deck shall be First Boarders, except the officer commanding
the quarter-deck division, who shall lead the Pikemen. On gun-decks
the officer commanding the second division shall be a First Boarder;
the commanding officers of the other divisions shall be Second
Boarders. If there are two officers in any division, the second shall
lead those Boarders who do not go with his principal. A Lieutenant or
other responsible officer should be detailed to command the gun-deck
in the absence of the boarders and pikemen.
PIKEMEN.
91. One-fourth of the number of men composing a gun’s crew, rejecting
fractions, and excepting the Powderman or Boy, and all the men of the
Master’s division on the spar-deck, except those designated as
Boarders and those at the wheel and conn, are to be Pikemen, and
compose but one division.
92. For each Pikeman at a gun there is to be a musket or carbine
provided, which in action, when not in use, is to be kept with the
bayonet unfixed, hooked securely against a carline or beam near the
gun; or on a spar-deck placed conveniently at hand. When they are
called away they will repair on deck with these arms, when, if
ordered, they will place them in a secure place, to be designated by
the Executive Officer, and arm themselves with pikes. Pikemen will
wear a cartridge-box whenever at general quarters or in action.
Pikemen of the spar-deck divisions will, on being called away, arm
themselves as directed.
Should it become necessary, in an emergency, to call “all hands” from
below to repel an enemy, the Pikemen will, if not already so armed,
arm themselves with muskets or carbines, leaving their pikes to be
used by those whose arms are not designated—that is, by the remainder
of the gun’s crew and Powder Division.
93. One boarding-pike for each gun on covered decks is always to be
kept triced up conveniently near it, and this is to be used by the
Powderman, or any other person left at the gun to guard the port.
94. Pikemen are to be covered by the Marines with their bayonets
fixed.
FIREMEN.
95. With broadside guns, one Fireman is to be taken from each gun’s
crew, and from pivot-guns two. Each Fireman is to have a fire-bucket
at hand near his gun, and to wear his battle-axe in a belt around his
waist.
SAIL-TRIMMERS.
96. In all vessels there shall be two divisions of Sail-trimmers,
composed of all the men at the spar-deck guns, except 1st Captains,
1st Spongers, 1st Loaders, and Powder-boys. The 1st Sail-trimmers are
to be taken from the guns on the forward half, and the 2d
Sail-trimmers from those on the after half of the spar-deck.
97. In vessels carrying guns on more than one deck there are to be
three divisions of Sail-trimmers, called 1st, 2d, and 3d
Sail-trimmers, and the third division is to be made up of one man from
each gun’s crew on the other deck or decks, as designated in the
tables.—(Article 101.)
[20]This third division of Sail-trimmers is to be regarded as a reserved
force, and is not to repair on deck at the general call for
Sail-trimmers, nor except when specially ordered. Besides serving to
re-enforce the other two divisions when absolutely necessary, it is
also to re-enforce either the Firemen or the Pumpmen in cases of need.
98. The third division of Sail-trimmers, and all the Pikemen of the
guns’ crews, and others armed with muskets (See Tables, Article
101), may be made to assemble together as a body of Musketeers, either
for landing or otherwise. No one gun more than another will be
weakened by so doing; and this suggests the propriety of preferring
these men ordinarily for the crews of boats.
PUMPMEN.
99. Each gun’s crew composed of as many as 14 men is to furnish two,
but, when of less than 14 men, one Pumpman only.
100. When Pumpmen are sufficiently numerous to admit of working the
pumps with one-half their force, they should compose two divisions, to
be called 1st and 2d Pumpmen.
DISTRIBUTION AND ARMS OF MEN AT THE GUNS.
101. The annexed Tables show the stations of guns’ crews at
pivot-guns, and at broadside-guns, when composed, respectively, of the
following numbers of men: 24, 16, 14, 12, 10, 8, or 6; how each man of
a gun’s crew is to be armed, and the number of small arms of all kinds
required for each gun’s crew.
N.B.—To these Tables is annexed another, showing the small arms of
the Master’s Division.
Pivot-Gun’s Crew, composed of 24 Men and a Powderman.
Gun’s Crew composed of 16 Men and a Powderman.
Gun’s Crew composed of 14 Men and a Powder-boy.
Gun’s Crew composed of 12 Men and a Powder-boy.
Gun’s Crew composed of 10 Men and a Powder-boy.
Gun’s Crew composed of 8 Men and a Powder-boy.
Gun’s Crew composed of 6 Men and a Powder-boy.
Small Arms of Master’s Division.
| Stations. | Ratings. | Arms. |
| Conn | Quartermaster | Pistol and Sword. |
| Wheel | Quartermaster and Seamen | Pistol and Sword. |
| Signals | Quartermaster | Pistol and Sword. |
| Signals | Boys | Pikes. |
| Relieving Tackles | Quartermaster and O.S. | Swords. |
| Main Braces | C.A.C. | Pistol and Sword. |
| Mastmen | B.M. | Pistol, sword, and Battle-axe. |
| Mastmen | Seamen and O.S. | Pikes and Battle-axes. |
| Topmen | Seamen and O.S. | Muskets |
| Forecastle | C.F. | Pistol and Sword. |
| Bell | S.C. | Pistol and Sword. |
[Note.—It is proposed to abandon the pike and all
muzzle-loading small arms for a breech-loading carbine and
pistol, with one uniform metallic cartridge for both.
The revolver pistol does not realize in service with seamen
the advantages claimed for that description of arm.]
102. The Captain will designate the different hatchways which shall be
used by the Boarders and others from each gun when they are called
upon deck at quarters. Cutlasses should not be drawn nor bayonets
fixed until ordered, and, in moving from one part of the deck to
another, should be sheathed, to avoid accidents.
103. The use of fire-arms in the tops being dangerous, and only
admissible under very peculiar circumstances, they are never to be
used there without the express direction of the Captain.
CHAPTER III.
DUTIES AT QUARTERS, IN BATTLE OR EXERCISE.
CAPTAIN.
104. The Captain, when at general quarters, either for exercise or in
action, is to superintend and take the general direction of every
thing connected with the management of the ship and the service of her
armament.
105. He will from time to time carefully inspect the ship, in order,
before commencing a general exercise, to ascertain that all the
required and proper preparations have been made for battle. When time
and other circumstances will permit, he will always make this
inspection before going into action, and when prevented from making it
personally, he will direct it to be made by the Executive Officer.
106. When engaged with an enemy at so great a distance as to require
the guns to be elevated, he will, if practicable, cause the distance
to be ascertained by observation, and, when that cannot be done, will
estimate the distance, and from time to time send directions to the
Officers of gun divisions for what distances the sights of their guns
should be set, and the nature of the projectile, and, if a shell be
used, the time of the fuze (See Article 326), and also the
cartridges to be used, whether for “distant,” “ordinary,” or “near”
firing.
107. He will determine and direct when two shot may be fired; when
“quick-firing” may be permitted; when small arms shall be distributed
and loaded; when Boarders shall be called up, and when they shall
assail an enemy. He will receive, through the Executive Officer, the
reports from all Officers commanding divisions.
EXECUTIVE OFFICER.
108. The Executive Officer, under the direction of the Captain, and
with the aid of the Master, will work the ship when in action or at
general quarters. He will receive the reports of the officers of the
different divisions and others, and communicate them to the Captain of
the ship.
SIGNAL OFFICER.
109. The Signal Officer is to see that every thing is prepared for
making and answering signals promptly, and will make all such as the
Captain may direct. He will provide himself with a watch, pencil, and
signal note-book properly ruled.
110. He will note and report to the Captain all signals that are made
to or by other vessels of the squadron, or other vessels in sight, and
also note the time at which each signal was made. He will observe and
report any material change which may take place in the positions of
the vessels of the squadron, or of other vessels, and every event of
moment that may occur.
MASTER’S DIVISION.
111. The Master will cause the persons in his division to sling the
yards and gaffs, to stopper the topsail sheets, to lead out the
preventer and other braces, and will see that they are clear, and
toggled, to prevent them from unreeving.
112. He will have the fighting stoppers at hand in the chains and tops
for stoppering the rigging; hatchets and axes ready for clearing away
any casual encumbrances from the guns; axes and hatchets for this
purpose must be sharpened, covered with painted canvas, and labelled
“not for general use;” and will cause proper arrangements to be made
for applying and securing grapnels, if they should be required.
113. He will see that the hammocks are compactly stowed, covered, and
stopped down, and will cause the boat and boom covers to be hauled
over and securely stopped down; the relieving tackles to be hooked and
ready for use; a compass to be placed to steer by; and see the spare
tiller at hand, the chronometer and other instruments put out of the
reach of shot, and relieved as much as possible from the jar of the
guns.
114. In case the Captain should give orders for sending small arms and
ammunition into the tops, he will attend to having them sent there,
and will be watchful that they are not so used as to expose the sails
and rigging to danger from taking fire; and in order to furnish a
sufficient supply of water, in case of accident, he will have four
fire-buckets fitted for each top, with [28]lanyards long enough to reach
the water from the yard-arms, and these should be filled with water in
preparing for action.
115. On the probability of an engagement, when the ship is on
soundings, the Master will have the ground-tackling ready and clear;
boats ready for getting out, and every preparation made for towing,
warping, anchoring, and getting springs upon the cables; and have
leads and lines in the chains. If at anchor, he will have the boats
dropped astern, the oars secured to the thwarts, and, if directed,
have the plugs ready to be taken out that the boats may fill, and also
cause the spare spars to be put overboard.
116. Whenever the cables are bent, they shall be kept stoppered until
wanted for use.
117. In action, besides aiding the Executive Officer in working ship,
the Master is to pay special attention to the steerage of the vessel,
and to the rigging, sails, and spars, and will see that the stoppers
are properly applied, and damages repaired as speedily as possible.
In vessels where there is no Signal Officer, the Master, in action or
general exercise, may be directed to perform the duties of Signal
Officer.
118. The Boatswain being the assistant of the Master, is to see that
the rigging, especially forward, is kept clear, and that all damages
are promptly reported and repaired. In the absence of the Master, all
the above preparations will be at once made by the Boatswain, and
reported to the Executive Officer by him.
ENGINEER’S DIVISION.
119. The Chief Engineer will see all proper preparations made for
repairing damages to the engine and its dependencies, and will have
the apparatus for extinguishing fire ready for immediate use. As soon
as these preparations are fully made, and his men mustered, he will
report his division ready to the Executive Officer. He will also
report such damages as may be received in action, and what assistance
is required to repair them, and he will have charge of the
preparations made for extinguishing fires below.
POWDER DIVISION.
120. The Officer commanding this division, when called to quarters for
general exercise or action, will receive from the Captain the keys of
the magazines and shell-rooms, and of their respective water-cocks,
and will deliver them to the persons in charge, who are not to open
them without his special order.
121. He will have the fire-screens let down, and the light-rooms and
the deck under his charge lighted.
[29]122. He will see that the shot and shell whips are in place and in
working order, and that shot-troughs are placed for conveying shot
where required; that the Gunner and his Mates at the magazine hatches
and scuttles, and the persons stationed at the shell-room scuttles,
are ready to open them when the order is given.
123. That all the precautions mentioned in the duties of Gunner and
Carpenter have been taken against fire, namely: that the division-tubs
are filled with water, and that wet swabs are placed by them, and
under all the lower scuttles through which passing-boxes are returned;
that a fire-tub is placed at the bottom of each chute for the return
of empty boxes; that it is nearly filled with water, and has its wire
grating shipped; that a proper supply of fresh water is provided for
the use of the men; that the hatchways of the decks next above that on
which the Powder Division is stationed are properly covered; that the
air-ports are closed and secured; and that the hose is screwed to the
force-pumps and ready for use.
124. He is to see that the means which are provided for lowering the
wounded are ready and properly fitted, and that the wounded, when
lowered down, are conveyed to the part of the vessel set apart for the
Surgeon’s Division, by the persons detailed for that purpose.
125. He will also see that all obstructions to the safe and rapid
passage of powder, shot, and shells are removed; and when every
preparation for action has been made in his division, will report it
ready to the Executive Officer.
126. When the order is given from the Captain to open the magazines,
shell-rooms, and scuttles, he will direct the Gunner and Gunner’s Mate
to repair to their respective scuttles, put on their magazine dresses
and shoes, divest themselves of every article of metal, and see that
the men stationed with them do the same; they are also to see that wet
swabs and cans of fresh water are provided.
127. The magazines being opened, the lids of the tanks are not to be
unscrewed until orders are given to that effect. Then the Gunner and
his Mate, and their assistants in their respective magazines, will
open as many, and no more, tanks than are necessary to supply charges
of the kind ordered, which they will pass up to the men stationed on
the deck above to receive them. These men will be particularly careful
to observe the orders transmitted from time to time, designating the
kind of charges required at the guns.
128. While at general quarters he will see that the men preserve their
proper stations in silence, order, and coolness; and he will give
particular attention to the sufficient and correct supply of powder
and projectiles to the various divisions, and take care that in time
of action, or of exercise with [30]powder, the passing-boxes, after being
once taken out of the magazine, are not passed into it again, or even
inside of the screen, during the whole of such action or exercise.
These duties are of the highest importance.
129. In exercise where no powder is used, he will see that such
substitutes for the various charges as the Captain may direct are
passed up in their proper boxes, so that the number of rounds and the
kind of charge, whether “distant,” “ordinary,” or “near,” may be
ascertained, and compared with those ordered. Should any defect or
deficiency in the arrangement for giving a full supply to the guns be
discovered, it is to be reported immediately to the Captain, in order
that a remedy may be applied as speedily as possible, by additional
men or other proper means.
130. The Carpenter will see that the hatches on the deck next above
the berth-deck or orlop are properly covered with gratings and
tarpaulins, and that the air-ports are closed and secured.
131. He will then cause all the pumps to be rigged, namely, the main
pumps, for freeing the ship in case of leaks, and the force and
channel pumps. He will have the engine also rigged and filled to
supply water for extinguishing fire.
132. He will attend particularly to the preparations for stopping
shot-holes, and see that all the articles enumerated in his general
duties (Article 59) are distributed among his mates and crew.
133. He will, when directed, cause the cabin and other bulkheads to be
taken down, and every other obstruction removed which comes within his
department, that may interfere with the working of the guns or the
passage of ammunition; and having performed this service, will report
to that effect to the Officers of the Divisions in which such
obstructions existed.
134. When these preparations are completed, he will see that the men
under his direction are in their proper stations, and, when all their
preparatory duties have been performed, will so report to the
Executive Officer, and to the Officer commanding the Powder Division
what relates to that division.
135. During an action the Carpenter will attend the pumps, sound the
well frequently, and, should he discover indications of serious injury
below the water-line, will immediately make them known personally,
either to the Captain or to the Executive Officer, and to them only.
136. During an action, such of the Carpenter’s crew as are stationed
in the wings, or on the orlop, in line-of-battle ships, or on the
berth-deck in other vessels, will be constantly on the look-out for
shot-holes.
When a shot enters they are to make its position known by reference to
the numbers of the ports under or near which the hole is found, and
its [31]distance below or above the water-line, as shown by the interior
line corresponding to it, already described in the general duties of
the Carpenter (Article 60); and are also to apply promptly such remedy
themselves as may be in their power.
137. The Master-at-arms, assisted by the Ship’s Corporals, will see
the galley fire and all unauthorized lights put out; that the lamps
are in their places, properly trimmed and lighted; and that the lenses
and reflectors are cleaned and polished.
After the magazines have been swept, closed, and secured, and the
retreat has been beaten, the Master-at-arms will see that the lights
in the light-rooms are extinguished, and apply to the Executive
Officer for permission to renew the usual lights and fires.
SURGEON’S DIVISION.
138. The Surgeon or senior Medical Officer will see that all necessary
preparations are made for the reception and treatment of the wounded,
in the part of the ship which may have been set apart by the Captain
for that purpose, and report to the Executive Officer when such
preparations are completed.
139. He will cause a sufficient number of tourniquets, or temporary
substitutes for them, to be distributed to such men of the different
divisions, and in each top, as may be appointed to receive them; and
he will take care that the persons in his division, and such others as
the Captain may direct, are instructed in the use of tourniquets, to
prevent, as far as possible, any dangerous loss of blood before the
Surgeon or his Assistants can attend to wounded men.
OFFICERS COMMANDING DIVISIONS OF GUNS.
140. Each Officer Commanding a Division of Guns is to see that all
persons belonging to it are present; that all the prescribed
arrangements are duly and promptly made; that every article designated
for use in the division is in order and in place; that the decks are
wet and well sanded; that the hand-swabs at the guns are wet; and that
any small arms that may be distributed among the men of his division
are properly loaded at the time directed by the Captain.
141. In action he will cause the wounded of his division to be
promptly and properly conveyed to the Surgeon, but will see that no
man leaves his quarters on pretence of assisting the wounded. Four
men, “aids to wounded”, should be attached to each Division of Guns,
so as not to take men from guns for that purpose.
[32]142. On the lower deck of line-of-battle ships, or the main deck of
frigates and spar-deck of single-deck vessels, he will see the
hatchways in the range of his division properly covered by the
Carpenter’s crew, assisted by the handspikemen or compressor-men of
the nearest guns, and the scuttles and whips duly prepared for passing
powder, shot, and shells.
143. He will be particularly careful to prevent the men from loading
the guns improperly, or otherwise than may be specially ordered, and
will prevent any unnecessary noise.
144. He will see that the guns are very carefully pointed and properly
aimed; that there is no firing until correct sight can be obtained, as
random firing is not only a waste of ammunition, but it encourages an
enemy, when he sees shot and shell falling harmlessly about and beyond
him.
He will carefully impress upon the Captains of guns that there is no
excuse for several successive bad shots, as observation of the first
or second will surely indicate an erroneous estimate of distance, and
afford means of correcting it. Accuracy of fire is to be encouraged
rather than rapidity.
It is essential to rapidity and accuracy of fire, particularly on
covered decks, that the Division Officers shall keep the Gun Captains
constantly advised of the position and distance of the object.
145. He will also take care to prevent confusion at the
powder-scuttles in the range of his division, and that all orders
which require to be repeated are duly passed. In case of accident to
the Powder-passers, he will promptly supply their places by such men
as can be best spared from his division.
146. He will take care that each gun in his division is provided with
all the “Equipments and Implements” prescribed for its use; and that
the “spare” articles which may be required in his division in action
are in place.—(Article 148.)
147. He will report to the Executive Officer when all preparations
have been made for action; and also after action and exercise, when
the guns have been properly secured, and the stores and implements
belonging to his division have been returned to their places.
EQUIPMENTS AND IMPLEMENTS.
148. Those for broadside-guns, whether mounted on two or four truck
carriages, or on slides, are to be as follows, viz.:
| Articles for each Gun. | Where they are to be put when the Gun is Secured. |
| Carriage complete, with bed and quoin, or elevating screw | At its port. |
| Breeching with shackle-bolts and pins | At the gun. |
| Compressors and levers, pivot-bolt and housing-chock, for Friction Carriages | At the gun. |
| Two side-tackles | Hooked to the securing-bolts on each side of the port and to the carriage. |
| One train-tackle | Hooked to the securing-bolts in the side, with the parts of the fall round the breech of the gun. |
| Two handspikes [1] | Resting on the bed-bolt, in-board ends secured by beckets. |
| One tompion with lanyard and wad | In the muzzle of the gun. |
| One sponge and cap [2] | On the beam or carling over the right side of the gun (on movable brackets). |
| One rammer [2] | On the beam or carling over the left side of the gun (on movable brackets). |
| One lock with string and vent-plug complete | In place on the gun. |
| One breech-sight with cover | In place on the gun. |
| One reinforce-sight with cover | In place on the gun. |
| One priming-wire and one boring-bit, with beckets for the wrist | Inside of the brackets of the carriage, near the breech. |
| One fire-bucket with lanyard | On gun-decks, close to the side, near the beam over the gun; on spar-decks, round the capstan and the boats forward. |
| One bucket of prepared grease or oil for rifle cannon | On the breast-piece. |
| One battle-lantern, with candle or lamp trimmed and primed, but provided for gun-decks only; none for spar-decks |
In the fire-buckets. The candle in supply box. |
| Battle-axes (as prescribed according to the number of men at gun).—See Art. 101 |
Inside of the brackets. |
| One hand-swab | On the breast-piece of the carriage. |
| One deck-bucket and large swab | To be kept in the hold until wanted. |
| Two chocking-quoins for truck-carriages | When not in use, between the brackets and the bed. |
| Two lanyards for each half port | In place. |
| Lanyards, chain pendents, runners and tackles for tricing up, and bars and keys for securing lower deck ports |
In place. |
| Ten shot for shot-guns | In racks round hatches nearest the gun. |
| For shell-guns, one shell in its box | Between the trucks on the left side of the gun. |
| Ten selvagee wads for shot and shell guns | On the breast-piece of the carriage, strung on a pin. |
| Two housing-chocks for lower deck guns | Placed before the front trucks when the gun is run in for housing. |
[1] Marsilly carriages require a roller handspike each.
[2] The rammers and sponges belonging to the broadside-guns
of spar-deck divisions of all ships having topgallant forecastles, or
other light decks, may be kept under the forecastle or light deck when
not in use. In ships not provided with these decks they are to be kept
at the guns inside the brackets; or, if that cannot be done, triced up
overhead on the next deck below.
[34]149. He will also assure himself that the following articles, which
may be required, are in readiness in his division, and prepared for
use, namely: One rattle for calling Boarders; one division-tub for
fresh water; one spare bed and quoin for carriages requiring them; two
spare gun-trucks; four spare handspikes; one worm; one scraper; one
bristle sponge for cleaning guns; two spare breechings; four swabs,
and, if any of the guns be on slides, a spare pivot-bolt. Of these
articles the worm, scraper, sponge, and spare breechings[1] are to be
becketed up between the beams and carlings on the gun-decks as far as
practicable, and those which cannot be so placed will be kept at hand
in the storeroom or other convenient place. A ladle is supplied for
each calibre on board, and will be kept ready in such place as may be
designated by the Executive Officer.
The above allowance of articles designated as “spare,” including worm,
scraper, sponge, and swabs, is upon the supposition that each division
is composed of five guns and their opposites. In case the number of
guns should be either more or less, the articles will be increased or
diminished proportionally to the nearest whole number.
150. He will take care that the Quarter Gunners of his division keep
the two division-boxes marked “supply” and “reserve” constantly
provided with the following articles, all in good order, viz.:
The “Supply” box with a waist-belt for each Boarder, Pikeman, Fireman,
Sail-trimmer, and Pumpman; a primed candle for each battle-lantern; a
thumbstall and vent-guard for the 1st and 2d Captains of each gun. The
belts of Boarders to be furnished with a frog for a pistol, with its
cartridges and percussion-caps; those of 1st and 2d Captains of guns
with a box containing fifty primers fitted to slip on the waist-belt.
Those for Firemen, Sail-trimmers, and Pumpmen to have each a frog for
the battle-axe.
The “Reserve” box with one drill-brace; three vent-drills; one
vent-punch; two gun-locks and strings complete; a flask of
priming-powder; two boring-bits; three priming-wires; eight
thumbstalls; four boxes of percussion-primers; one box of
friction-primers; one spare lock-string for each gun, and one
fuze-wrench; a shackle-punch and pin, and some rags for wiping. These
boxes are to be placed by the Quarter Gunners in their respective
divisions, near the mast, and on the opposite side to that engaged.
In vessels of the class of Frigates and upward, these boxes are to be,
on covered decks, kept in their several divisions and secured
overhead.
On spar-decks they are to be kept under the break of the poop and the
topgallant forecastle, and, in vessels having neither poop nor
topgallant forecastle, between the beams on the berth-deck. They will
be kept under lock and key.
[35]151. He will see that such men of the divisions, and others who are
appointed for the purpose, obtain the requisite number of tourniquets,
and distribute them to the men selected to use them. (See Article
139.)
BROADSIDE GUNS.
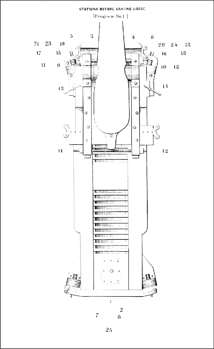
STATIONS AND GUN-NUMBERS.
152. The following are to be the gun-numbers and stations for a gun’s
crew composed of sixteen Men and a Powderman, when working
broadside-guns on lower decks; on other decks 15 and 16 are 3d and 4th
Side-Tacklemen.
| Left Side. | Gun-Nos. | Right Side. | |
| First Loader. | 3 | 4 | First Sponger. |
| Second Loader. | 5 | 6 | Second Sponger. |
| First Shellman. | 7 | 8 | Second Shellman. |
| First Handspikeman. | 9 | 10 | Second Handspikeman. |
| First Side-Tackleman. | 13 | 14 | Second Side-Tackleman. |
| First Port-Tackleman. | 15 | 16 | Second Port-Tackleman. |
| First Train-Tackleman. | 11 | 12 | Second Train-Tackleman. |
| First Captain. | 1 | 2 | Second Captain. |
Powderman near the midships, and on the left of the gun.
For a gun’s crew of fourteen men and a Powder-boy, or of twelve men,
the higher numbers are those to be omitted, and the stations and
duties of all the others remain unchanged.
With a gun’s crew of ten men, all the numbers continue with the same
stations and duties excepting No. 10, who becomes Train-Tackleman, and
the 2d Captain handles the handspike.
With a gun’s crew of eight men, numbers from 1 to 7 inclusive retain
the same stations and duties; No. 2 will, in addition to his duties as
2d Captain, also attend to the handspike, and No. 8 becomes
Train-Tackleman.
With a gun’s crew of six men, all the numbers retain the same stations
and duties, excepting that No. 5 also acts as Shotman, and No. 2
attends to the handspike and train-tackle in addition to the duties of
2d Captain.
153. This arrangement exhibits the gun’s crew placed as the men should
stand when first assembled at quarters, either for inspection or any
ordinary exercise. It is intended that the men are then to stand
parallel with the gun, and facing in-board.
CALLS FOR ASSEMBLING AT QUARTERS.
BEATS OF DRUM.
1st. The ordinary beat will be the call for Inspection at general
quarters.
2d. The ordinary beat, preceded by one roll—Exercise at general
quarters, without powder.
3d. The beat quick—Action; or Exercise at general quarters with
powder, as though engaged in battle.
4th. When at quarters, a roll of the drum will be a signal for
“silence and attention!” All firing or other noise will immediately
cease, and the next order be awaited in perfect silence. It is of the
utmost importance to impress this upon the officers and crew.
5th. When the Captain is satisfied that his order has been delivered
and understood, he will order two taps to be beaten, as a signal for
the “Execution of the Order.” The roll and the taps to be given
sharply and distinctly.
155. On assembling at quarters for inspection or general exercise,
unless directed otherwise, in port, the men are first to go to the
starboard guns on the spar-deck, the port guns on the main deck, the
starboard guns on the next deck below, and so on. At sea they are
first to go to the weather guns, or, if the ship be dead before the
wind, to the same sides as in port.
156. When assembled for inspection, besides seeing that all the guns
and articles belonging to them are in order and in place, it is
directed that the men, without arms or implements, or casting loose
the guns, shall be frequently called away and mustered in their
stations as Boarders, Pikemen, Sail-trimmers, and Firemen; and also
practised in shifting from one side to the other, and in taking their
places for fighting both sides at once.
157. On assembling for exercise at general quarters without powder,
after the men have been mustered and the divisional reports made, the
order will be given: “Cast Loose and Provide!”
Then the starboard watch will provide and cast loose the odd-numbered
guns, and the port watch will provide and cast loose the even-numbered
guns.
The 1st parts of guns’ crews on the starboard side providing and
casting loose the starboard, and the 2d parts the port guns. The 1st
parts of guns’ crews on the port side the port, and the 2d parts the
starboard guns. In securing guns the same order of distributing the
men is to be observed.
When both these services of providing and casting loose have been
performed, and the luffs choked or hitched and trucks chocked, the men
are all [37]to return to the guns at which they were mustered, and,
taking their places, await in silence further orders, if not already
given.
158. When assembled for exercise as though actually engaged in battle,
besides what is prescribed for an exercise at general quarters without
powder, the further preparations indicated hereafter will be made. The
guns’ crews will proceed at once to provide and cast loose both sides
without waiting to be mustered, or for any further orders.
159. The call for Boarders to repair to the spar-deck will be by the
rattle and verbal order, repeated by the Officer of each division of
guns. They should be trained to form promptly on the opposite side to
that engaged, near the hatch by which they ascend.
On the first call or order, the first division only will repair to the
spar-deck, led by their officers. If the call or order should be
repeated before the first division shall have returned to their guns,
the second division will immediately repair to the spar-deck.
160. The call for Pikemen to “repel boarders” will be by sounding the
Gong. At this signal all the Pikemen will assemble on the spar-deck
with their muskets.
161. All Hands will be summoned to repel boarders (See Article 92)
by springing the rattles and sounding the gong together, and by verbal
orders.
162. Sail-trimmers. The particular division that may be wanted at a
time will be called by passing the word for it.
163. The call for Firemen to repair to the spar-deck will be given
verbally and by striking the ship’s bell rapidly. The rapid ringing of
the bell will be the Fire-alarm at all times, when the crew will
immediately assemble at quarters.
164. Boarders, Pikemen, and Sail-trimmers of the spar-deck guns, or
any portion of them, and of the Master’s division, as well as the
Marines, may be ordered from their quarters to perform a particular
service, without any call, whenever the Captain may deem proper.
165. Men called for any of the foregoing duties will, on reaching the
spar-deck, form on the gangway, upon the side not engaged with the
enemy, unless otherwise directed at the time.
166. When called to quarters, every person is to repair to his station
promptly and without unnecessary noise; and on the order, “to your
quarters,” all will return to their stations in the same manner.
PREPARATIONS FOR EXERCISE AT GENERAL QUARTERS, WITHOUT POWDER.
167. Sling the topsail yards and gaffs, and put the preventer braces
in place; distribute fighting stoppers and jiggers; stopper the clews
of the topsails; get whips on each side of the lower masts for tricing
up the pendant tackles, and also the mast-bands and fishes required
for securing a crippled mast. Make arrangements for using grapnels;
get hauling-lines ready for sending small arms and ammunition into the
tops; if not on soundings, haul over boat and boom covers and stop
them down; bring up and stow, if down, such hammocks as interfere with
the guns, or are in the way of the powder division;[2] haul over and
secure the hammock-cloths; hook and mouse the relieving-tackles; place
the spare tiller and compass at hand; put the chronometers, and other
instruments of navigation, out of the reach of shot; distribute the
small arms together with their accoutrements and a supply of filled
cartridges, to the men appointed to use them; place axes and hatchets
at hand on the spar-deck for clearing away incumbrances at guns;
grapnels in mizzen channels with whips to after-davits and
spanker-boom end, to hook up any gear likely to foul the screw. In
steam vessels, topgallant masts and rigging ready to be sent down and
all unnecessary gear unrove.
If underway and on soundings, get the boats ready for hoisting out;
the ground-tackle ready for use and keep it clear, and make every
preparation for towing, warping, and anchoring with springs on cables;
stopper the chains; get lights in the light-rooms, including those of
the shell-rooms; light powder division; also gun-decks, if at night,
and it be ordered by the Captain; drop magazine screens; get shot and
shell whips, and buckets or nets, in place; rig canvas chutes for
returning empty passing-boxes; remove every obstruction to the free
passage of powder; clear away and open shot-lockers; see the hatchways
of the next deck above the powder division properly covered; division
and fire-tubs in place, with wet swabs by them, and at the landing of
each line of scuttles through which the passing-boxes pass; rig main,
force, and channel pumps and fire-engine, which fill with water; get
light Jacob-ladders and slings ready for lowering the Carpenters
outside, and materials for stopping shot-holes; take down cabin and
other bulkheads, when directed, and pass them below; sand the decks;
place a bucket of water and a wet swab in rear of each gun, and for
all rifle-guns a bucket of oil or prepared grease; have spare
breechings at hand; rope ladders for hatchways in place; a bag, to be
supplied from one reserve-box, containing a flask of priming-powder
and the following spare articles: two [39]locks, four lock-strings, eight
thumbstalls, two boring-bits, two priming-wires, a shackle-punch and
pins and some old rags, to be slung round the neck of the Quarter
Gunner of each division of guns; rammers and sponges placed, and the
latter uncapped; one worm in place, on each side of the deck, for each
division, and a ladle at hand for each calibre on board; pistols, in
frogs furnished with cartridges and caps, and cutlasses and
battle-axes, belted round the respective persons designated to wear
them; marines accoutred and under arms, and distributed as the Captain
may direct; tourniquets to be distributed as may be judged necessary.
(See Articles 139 and 151.)
PREPARATIONS FOR EXERCISE AT GENERAL QUARTERS,
WITH POWDER, AS THOUGH ENGAGED IN BATTLE.
168. Crew cast loose the guns; shell-rooms and magazine are opened;
powder and shells passed up, and every thing ready for firing, the
order for which is awaited. If the beat is followed by orders from the
quarter-deck to fire, then this is performed as soon as each gun is
ready. In this case, besides what has just been prescribed for a
General Exercise without powder, the following further preparations
will be made: Put out galley fire and all unauthorized lights; light
match and place it in manger; open magazines and powder-tanks, and
also shell-rooms, when ordered; close and secure air-ports; fill
division and fire tubs with fresh water; place cans of fresh water and
wet swabs in magazines and shell-rooms; light up the cockpit, or other
place, for the wounded; place mattresses, and if there be room, sling
spare cots; get ready the amputating-table, instruments, bandages,
lint, medicines; have a plentiful supply of fresh water and swabs, and
sprinkle the decks. Make a particular examination of all the
arrangements for extinguishing fire; see that force-pumps and hose are
in good order, and the men stationed at them in their places.
Speed being one of the principal elements of military force, steamers
will, on going into action, have all the furnaces clean, and the fires
in condition to make steam rapidly.
The beat to quarters for action is therefore a signal to start fires
in any furnaces not in use.
PROVIDING BROADSIDE-GUNS.
169. When the exercise of broadside-guns is to be confined to one side
only, each gun’s crew is to provide its own gun, on the side at which
it is ordered to assemble, as follows: but when the guns on both sides
are to be exercised at once, each part of a gun’s crew is to provide
its own gun; each Captain, Loader, Sponger, &c., doing separately what
is done by both himself and his second when the exercise is confined
to one side only.
[40]170. Captains of guns to provide themselves with percussion-primers,
thumbstalls, and priming-wire, and to see that the men of their
respective parts of the gun’s crew discharge their several duties
promptly and carefully.
171. Spongers provide sponges and rammers.
172. Loaders provide a bucket of water and a wet swab; and, for rifle
cannon, a pot of oil or prepared grease.
173. Shell or shotmen provide a sufficient supply of selvagee and six
junk-wads, and supply the racks around the hatchways with shot from
the lockers as required.
174. Handspikemen see the handspikes in place, and then assist in
getting up shot for the guns; and, if necessary, in covering hatchways
in the division.
175. The Powderman or Boy is to provide an empty passing-box, if no
powder is to be used; otherwise he is to present himself at the
appointed place to receive a full one.
176. The Fireman is to take down the fire-bucket, and place it and the
battle-lantern in their appointed places. On gun-decks the lantern
should be hung up at the ship’s side, or in rear of and between the
guns, as may be directed, and lighted when ordered by the Captain, and
the fire-bucket directly in rear of the gun. On spar-decks the bucket
may be laid on the deck, or hung up in any convenient place in rear of
and near the gun.
177. Side-tacklemen provide sand and water, and sprinkle and sand the
decks, if directed; and get bucket and swab from the hold, fill the
bucket with water, wet the sponge and the swab, and lay it on deck
under the sponge.
178. Quarter Gunners of divisions, besides equipping themselves, as
already directed (Article 167), with a bag of spare implements, will
attend to the “Supply” and “Reserve” boxes of their divisions (See
Article 150), and distribute the belts, primer-boxes, and other
articles which they contain, to the guns’ crews, as soon as
practicable, and then keep themselves ready to furnish any reserved or
spare articles which may be required, such as spare breechings,
ladles, and worms, and will see the battle-lanterns provided with
candles with primed wicks, ready for lighting when ordered by the
Captain.
179. The swords and pistols should be always available for the
Boarders, at the shortest notice; but their particular disposition at
quarters, and at what time the pistols shall be loaded, will be
determined by the Captain, as in his judgment circumstances at the
time may require. Pistols should be loaded, on the probability of
action, without further orders.
Lith. by J.F. Gedney, Washn.
C.K. Stellwagen, del.
ARRANGEMENTS FOR DELIVERING AND DISTRIBUTING POWDER.
180. In making arrangements to deliver and distribute powder from the
magazines, for action, the following general considerations and rules
should govern:
181. Cartridges, as experience proves, can be passed up each
independent chain of scuttles leading from the magazine to the point
at which the Powder-boys are to receive the full boxes, at the rate of
one every six or seven seconds.
182. Experience also proves that, under the most favorable
circumstances, the broadside-guns of a man-of-war cannot be
advantageously fired oftener than once in every seventy-five seconds.
Hence it may be received as a rule, that a single chain of
passing-scuttles is abundantly sufficient to supply powder for a
division of guns as large even as eight of a side; and that it is also
sufficient when both sides of such a division are to be used at once,
for then the firing of each piece is unavoidably retarded by the
division of the guns’ crews.
183. No one chain of scuttles should be required to supply cartridges
for more than a single description of guns,[3] unless their cartridges
be the same in diameter, weight, and form, and their passing-boxes
alike, as in the case of the 8-inch shell-gun of 63 cwt. and the
32-pounder of 57 cwt. If, therefore, there be on a deck of guns but
one differing from the rest in calibre, class, or assimilation of
cartridges, that one should have a separate chain of scuttles for its
supply, in order to guard effectually against confusion, or, at least,
delay. In a word, each additional calibre or class of guns, unless the
cartridges be assimilated and the passing-boxes alike, involves an
additional chain of passing-scuttles for its supply; and it should be
borne in mind that errors with respect to cartridges of guns of the
same calibre, but differing in class, are more to be apprehended than
with guns differing only in calibre.
184. If the guns on a deck be all of the same calibre and class, or of
like cartridges and passing-boxes, then one chain of scuttles to
supply the forward half of those guns, and another to supply the after
half, will be all-sufficient.
185. For each chain of passing-scuttles there will probably have to
be—
One man in the magazine to deliver charges from the tanks.
One man in the passage to receive and pass those charges through the
scuttle in the orlop or berth deck.
One man at the passage-scuttle on the orlop or berth deck, to receive
the charges and pass them to the screen.
One man just outside of the screen, to receive the charges through a
flapped hole therein, and put them in the empty passing-boxes.
[42]One, two, or three Runner-boys (according to the distance) to run, on
the orlop or berth deck, with full passing-boxes, from the screen to
the scuttles through the deck, and back again with the empty boxes to
the screen.
One man, a very careful one, at the bottom of the canvas chute, to
receive the empty passing-boxes, strike them, in an inverted position,
over the fire-tub, and inspect them carefully before allowing them to
be taken away to be replenished.
One man, on the orlop or berth deck, at the passing-scuttle through
the deck above, to pass up full boxes.
One man at the passing-scuttle on the next deck above the orlop or
berth deck, to receive and pass up full boxes, or, in the case of a
single-deck vessel, or of distribution on the main deck of a frigate,
or on the lower deck of a ship-of-the-line, to receive and deliver
them to Powder-boys.
One man at the passing-scuttle on the second deck above the orlop or
berth deck, to receive and pass up full boxes; or, in the case of a
frigate, or distribution on the main deck of a ship-of-the-line of two
decks, to receive and deliver them to Powder-boys.
And one man at the passing-scuttle on the third deck above the orlop,
to receive and deliver full boxes to Powder-boys on the spar-deck of a
ship-of-the-line of two decks.
Thus each chain of scuttles will require—
Seven men to supply its guns on the first deck above; as, for example,
the lower deck of a ship-of-the-line, the main deck of a frigate, or
the spar-deck of a sloop-of-war, or other single-deck vessel.
Eight men for the spar-deck of a frigate, for the main deck of a
ship-of-the-line of two decks, or for the middle gun-deck of a
ship-of-the-line of three decks.
Nine men for the spar-deck of a ship-of-the-line of two decks, or for
the main deck of a ship-of-the line of three decks.
And ten men for the spar-deck of a ship-of-the-line of three decks.
Besides, each of these numbers—7, 8, 9, and 10—is to be increased by
two or three Runner-boys, for the purposes above described.
186. In vessels of and above the class of frigates, or having two
magazines—one forward and the other aft—the forward half of the guns
on each deck is to be supplied from the forward magazine, and the
after half from the after magazine. Thus, for each deck of guns, one
scuttle at each of the two magazines, together with its corresponding
chain of scuttles, will be sufficient, if all the guns be of the same
calibre and class, or have like charges. But the introduction on board
of any vessel of guns differing in either of these respects will
involve the necessity above stated of a separate scuttle of delivery
at the magazine, and also of a distinct chain of scuttles connected
with it, for the exclusive supply of each variety of charges that may
be introduced.
[43]In this case, the exceptional guns should be supplied, whenever
practicable, from the larger magazine, when there are two differing in
size.
187. In single-deck vessels carrying more than sixteen guns, all of
the same calibre and class, and having but one magazine, two scuttles
at that magazine will be sufficient—one to supply the forward half of
guns, and the other the after half.
188. In single-deck vessels carrying only sixteen guns, or less, all
of the same calibre and class, or having like charges, one scuttle at
the magazine will suffice.
189. Should any single-deck vessel be of such great length, or so
remarkable in her armament of guns, although all of the same calibre
and class, as to render additional scuttles advisable, they are to be
cut.
PASSING-SCUTTLES.
190. All the powder is to be passed up from the orlop or berth deck
through circular scuttles, cut in the deck or decks at places, as
nearly as circumstances will permit, immediately abreast of the middle
of the particular set of guns to the supply of which each chain of
scuttles is specially appropriated. Besides these scuttles for passing
the powder up, there are to be corresponding ones for each set,
provided with a canvas chute for returning the empty boxes below. The
drawing shows the manner of supplying an upper deck and returning the
empty boxes from it. Each deck is to be supplied in like manner, by a
distinct and separate arrangement, through as many independent sets of
scuttles as may be required by the preceding “Arrangements for
delivering and distributing powder.”
191. Each scuttle is to have a tompion or other means of closing it,
so as to be water-tight when not in use, and to be so placed or
regulated in height as not to interfere with the transportation of
guns.
192. Should any serious difficulty arise in finding places for cutting
any of the different sets of scuttles through the decks, or in the
cases of small or very wet vessels, recourse may be had to the
gratings of the hatchways. Still, they are always to be cut through
the decks whenever it can be done with propriety.
193. For each scuttle at the magazine for the delivery of powder there
must be a corresponding flap-hole in the magazine screen, and this is
to be regarded as a part of the chain of supply equally with the
scuttle itself.
194. When on board ship there are any guns of the same calibre and
class, or of assimilated charges, carried on two consecutive decks,
all of them may be supplied by the same chain of scuttles, provided
the whole number of guns thus made to depend upon this chain does not
exceed eight of a [44]side. For instance, under the circumstances stated,
the chase, or a few shell or other guns on a spar-deck, may be
supplied by a chain of scuttles intended principally for the main-deck
guns; or, the shell-guns on a main deck being few, may be supplied by
a chain intended principally for the deck below.
195. In delivering cartridges from the magazines for serving guns,
they are to be passed up from the magazine to the orlop or berth deck
before they are put into the passing-boxes, which, in time of action,
or when exercising with powder, after being once taken out of the
magazine, are not, on any account, to be allowed to go into it again,
or even inside of the screen, during the whole time of such action or
exercise. They are to be replenished at the screen, but outside of it.
196. All passing-boxes shall be painted black, with the calibre and
charge painted in white letters, two and one-half inches (2 1/2) long
on the side, and one and a half (1 1/2) on the top.
197. If, however, there are any guns of the same calibre on spar-decks
requiring lighter charges, the lower half of the box shall be painted
white. For gun-decks in similar case the lower half shall be painted
red.
198. Empty passing-boxes returned by the chutes are always to be
landed upon wet swabs, and then to be turned upside down, and so
struck over a fire-tub, as before directed, to free them from any
loose powder.
199. One fire-tub, nearly filled with water, is to be placed on the
deck, alongside the bottom of each chute for returning empty boxes.
The top of this tub is to be provided with a stout hoop to ship and
unship, with a grating of stout copper wire, the meshes of which are
to be made small enough to prevent the passing-box from falling into
the water, in case of slipping from the man’s hand while being struck
over the tub.
SHOT AND SHELL.
200. Shot and shell are to be passed up by hand, or whipped up, by the
most convenient hatchways. The hands stationed below at the lockers
are to work the whips, each of which, being fitted with a toggle, will
indicate when the projectiles are hoisted high enough. In case a
shot-locker should be somewhat removed from the hatchway, up which the
shot are to be passed or whipped, the shot may be speedily conveyed
over the distance by means of a wooden trough fitted for the purpose.
HATCHWAY FOR THE WOUNDED.
201. One hatchway, or portion of a hatchway, and that as nearly
amidships as possible, is to be reserved for lowering the wounded
below, and to be properly provided with a cot or cots, having a whip
to each.
NAVAL GUN-CARRIAGES.
202. All gun-carriages and their equipments are to be made in
conformity with directions from the Bureau of Ordnance.
NOMENCLATURE OF ORDINARY NAVAL TRUCK-CARRIAGE.
WOODEN PARTS.
Carriage.
A. Brackets of large truck-carriages are made each of two pieces,
joined by a jog a, and dowelled. The remaining parts of the
brackets are the trunnion-holes b, steps c, quarter-rounds
d, and arch e.
B. Transom, let into brackets.
C. Breast-piece, in two parts—the inner part fixed, by two bolts,
into transom; the outer part movable, connected by hinges.
D. Front and rear axletrees, consisting each of square body f,
and arms g, jogged into brackets.
E. Front and rear trucks.
F. Dumb trucks.
G. Bed and stool.
H. Quoin.
Implements.
I. Handspikes.
K. Chocking-quoin.
METAL PARTS.
Carriage.
1. Two cap-squares.
2. Four cap-square bolts and two keys and chains.
3. Two bracket-bolts.
4. Two rear axletree-bolts.
5. Two side-tackle eye-bolts.
6. One train-tackle eye-bolt.
7. One transporting eye-bolt.
8. Two breast-bolts.
9. Two hinges of breast-pieces.
10. Two transom-bolts (upper and lower).
11. Two breeching side-shackles and pins.
12. Bed-bolt.
13. Four axletree bands.
14. Chafing-plates of steps and brackets.
15. Four linchpins and washers.
16. Quoin-plate and stop.
17. Ratchet for quoin-stop.
18. Four training loops.
19. Breeching-thimble (cast iron).
20. Side-shackle bolts for breechings.
21. Shackle-pin, plates, and keys.
22. Two axle-stays.
23. Handspike-shoe.
OF PARTS PECULIAR TO MARSILLY CARRIAGE.
A. The lowest piece of the bracket, in place of the rear truck of
ordinary carriages.
B. Rear transom, in place of rear axle.
C. Breast-piece (fixed).
D. E. Sweep-pieces.
D. Fixed below the port-sill
E. Movable, with brass catches (f f) and hooks and eyes (g g).
H. Elevating screw and lever, with saucer (I) in place of bed and
quoin.
K. Roller handspike.
L. Loop for handspike.
FOOTNOTES:
[1] The spare breechings should never be stowed near the
galley nor Engine-room, lest they be damaged by heat and moisture.
[2] The Executive Officer of the ship should appoint a
sufficient number of men in each watch for the purpose of stowing the
hammocks of the watch below in case of being called to quarters in the
night, so as to prevent confusion and insure the greatest possible
dispatch in clearing for action.
[3] See Table of Charges for Great Guns.
CHAPTER IV.
MANUAL EXERCISE.
EXERCISE OF BROADSIDE-GUNS,
ON ONE SIDE ONLY.[4]
IX-Inch Shell-Gun (as an example).
| I. | “Silence! Man the Starboard (or Port) Guns!” |
| II. | “Cast Loose and Provide!” |
| III. | “Run in!” (preparatory). |
| IV. | “Serve Vent and Sponge!” |
| V. | “Load!” |
| VI. | “Run Out!” |
| VII. | “Prime!” |
| VIII. | “Point!” |
| IX. | “Ready—Fire!” |
| X. | “Secure!” |
It is customary to keep the guns of the Battery loaded at sea; it has
been found that the fire of a ship could be commenced in three minutes
from the beat of drum, the guns being secured for sea, and no notice
of what was contemplated announced to men or officers save by the
signal for quarters.
This form of exercise therefore proceeds on the assumption that the
cannon are not loaded, but the order of the commands may be varied to
suit the circumstances of the case.
204. Guns should never remain loaded longer than necessary, as the
cartridge speedily deteriorates by the effects of moisture. If a shell
has been loaded twenty-four hours it should be drawn and refuzed.
D. Van Nostrand Publisher.
Julius Bien, pr.
I. “SILENCE! MAN THE STARBOARD (OR PORT) GUNS!”
205. At this preparatory order the strictest silence is to be
observed. The Captain faces the port, the men, on the right and left,
stand facing the gun; all fix their eyes on the Captain and
attentively wait for orders.
II. “CAST LOOSE AND PROVIDE!”
206. The Gun Captain commands, sees his gun cleared and cast loose,
portlid unbarred ready for tricing up, or half ports taken out; side
and train tackles hooked, the side-tackle to the side training-bolt,
and the train-tackle to the eye-bolt in the deck in the rear of the
gun; casts loose and middles breeching and places selvagee straps and
toggles amidships; takes off lock-cover, and hands it to the
train-tackleman, who places it amidships; buckles on his waist-belt
(furnished as directed in Article 150); provides himself with a
priming-wire; puts on and secures his thumbstall; and sees that the
gear and implements for the service of the gun are all in place and
ready for use, and that the men are properly equipped.
When the gun is ready for action he sees that the men take their
proper positions, and reports to the Officer of the subdivision to
which he belongs.
It is important that the battery shall be completely provided at every
exercise, otherwise something is sure to be omitted in preparing for
action.
207. 2d Captain assists in casting loose and middling breeching; takes
off and places amidships sight-covers, selvagee straps, and toggles;
handles quoin; provides thumbstalls, priming-wires, and boring-bit,
and equips himself with the first two; clears lock-string and lays it
in a loose coil round the lock, convenient for use, and buckles on his
waist-belt furnished as 1st Captain’s. If the gun is furnished with an
elevating screw, elevates the gun, that the lower half port may be let
down.
208. 1st Loader, aided by 1st Sponger, casts loose port-lanyards,
removes upper half port, and passes it to the men on the left side of
the gun, who lay it amidships; lets down the lower half port. On lower
deck casts off port-lanyards and muzzle-lashing; removes port-bar and
passes it to the men at the left side of the gun, who lay it
amidships; bears out port. On all decks places hand-swab and
chocking-quoin near the ship’s side on the left side of the gun; aids
1st Sponger in taking out tompion.
209. 2d Loader assists in casting loose; sees the wads in place, and
for rifle cannon a pot of grease at hand; hooks outer block of
side-tackle to side training-bolt, on the left side of the gun.
210. 1st Sponger casts loose port-lanyards and aids 1st Loader in
removing upper half ports and letting down lower ones, and on lower
decks in removing the port-bar, bearing out the port and taking off
the muzzle-lashings; takes out tompion, and passes it to 2d Sponger,
who hangs it amidships; places chocking-quoin on the right side of the
gun, near the ship’s side.
[48]211. 2d Sponger assists in casting loose; hooks outer block of
side-tackle to the side training-bolt, on the right side of the gun.
The Spongers take down the sponges and rammers; take off the
sponge-cap and hang it up out of the way; place sponges and rammers
together, on the right side of the gun, heads toward the breech, in
the brackets overhead on covered decks, otherwise on deck.
The Side-tacklemen assist in casting loose; on lower decks, aid
Port-tacklemen; moisten the sponge, being certain that the end of the
sponge which touches the bottom of the bore is thoroughly wet.
212. Shellmen assist in casting loose, provide shot and wads, and
proceed to hatchway, ready to pass loaded shell, if ordered.
213. Train-tacklemen lead out and hook train-tackle.
214. Handspikemen take out the handspikes on their respective sides,
and with carriages using a quoin, each standing between his handspike
and the side of the ship, place the heels of their handspikes on the
steps of the carriage and under the breech of the gun, and raise it so
that the quoin may be eased and the lower half port let down, or, when
housed, the bed and quoin adjusted. Then each Handspikeman will lay
his handspike on deck, on his own side of the gun, parallel with its
axis, clear of the trucks and butt to the rear.
215. Powder-boy
repairs to his proper scuttle for his passing-box,
which having received he returns and stands a little to the left and
in rear of the gun, keeping the passing-box under his left arm and the
cover closely pressed down with his right hand.
216. When there are fourteen or more men at a gun, the Port-tacklemen and Side-tacklemen, on lower decks, lead out port-tackle falls and
assist in tricing up the port, and, when high enough, belay the fall.
217.
In the temporary absence of the first Captains, Loaders, or
Spongers, when at quarters on one side, their Seconds will take their
places and perform their respective duties.
When exercising by divisions, or single gun’s crews, every station
should be filled; if necessary, taking men from the Master’s or Powder
division to fill vacancies. The guns will be sufficiently exercised in
working with reduced crews at general quarters.
218.
With a gun’s crew of ten or more men, No. 7 will take the place
of No. 5, and No. 8 of No. 6, when Nos. 5 or 6 are absent
temporarily.
III. “RUN IN!” (preparatory).
(Diagram No. 1.)
219. Nos. 7, 8, 9, 10, 11, 12, 13, 14, 15, 16 (and, if necessary, 5,
6), man the Train-tackle.
2d Captain ships and works Roller Handspike. Nos. 3, 4, overhaul or
tend the Side-tackles.
The gun having been run in, No. 12 chokes luff of Train-tackle,
assisted, if there is much motion, by No. 11.
Nos. 3, 4 place Truck-quoins in front of Trucks.
No. 6, with back square to gun, and facing over left shoulder to
Sponger, takes up the Sponge, head in-board, and stands ready to hand
it to 4.
No. 8, facing to the gun, and outside of 6, does the same with the
Rammer.
The rest of the men go to their stations.
IV. “SERVE VENT AND SPONGE!”[5]
(Diagram No. 2.)
220. Gun Captain serves and then stops the Vent. No. 4 receives the
moist Sponge from 3, right hand over, left under, sends it home, and,
assisted by 3, presses it to bottom of bore; then, turning it round
two or three times, from left to right, in the direction which is
needed to have the worm take, withdraws it, and, when out, strikes the
staff several smart taps under the muzzle, then hands it back to 6,
who lays it on the deck or lodges it overhead on the hooks, if they
are provided. No. 10 examines and clears sponge-head and worm.
After the Sponge is withdrawn, Gun Captain serves the vent with his
priming-wire and again closes it.
No. 8 hands Rammer to 4 as soon as the Sponge is taken from him by 6.
Should 4 observe that the Gun Captain neglected to serve the vent, he
is to call his attention to it.
No. 3 stands ready with Charge he has taken from Powderman.
No. 5, assisted by Shellman, opens Shell-box, disengages the Shell,
and has it in readiness to pass to No. 3.
V. “LOAD!”
(Diagram No. 2.)
221. No. 3 places Charge in muzzle, seam from the Vent, small end in,
and pushes it well into the Bore.
No. 4 stands ready with the Rammer, enters it into the muzzle, and
pushes the Charge steadily to the bottom of the Bore, which will be
shown [50]by the mark on the rammer handle; 3 assists with one hand, and
the charge is on no account to be struck.
While 4 withdraws the Rammer, 3 is to receive the Shell from 5, lift
and enter it, sabot first, into muzzle, fuze out, as soon as the
rammer is clear thereof.
As the shell lies just fair with muzzle, 3 removes cap from Fuze,
which is to be passed along to the Gun Captain, and pushes the Shell
into the Bore.
No. 4 enters Rammer, and, assisted by 3, pushes in the Shell until the
mark on handle shows it to be in place. It is most strictly forbidden
to strike the Shell with the Rammer.
No. 6 takes Rammer from 4 and lays it down.
Whilst this has been doing, the preparation for the next order has
been proceeding, thus:
2d Captain ships Roller Handspike. Nos. 7, 9, 11, 13, 15,—8, 10, 12,
14, 16 take hold of Side-tackles; Gun Captain feels if Vent is clear,
and Charge home.
Action.
(This is equivalent to the order “Together.”)
Nos. 5, 6 assist at Side-tackles.
Nos. 3, 4 attend Truck-quoins and keep the Breeching clear of
Front-trucks.
No. 12, assisted in heavy rolling of lee guns by 11, prepares to tend
Train-tackle. If necessary with a round turn round all parts of the
fall.
VI. “RUN OUT!”
(Diagram No. 3.)
222. The execution of this order is to be controlled by the gun being
to windward or to leeward, and also by the nature of the Roll.
To leeward, and with much motion, the cannon will rush out violently
unless prevented; therefore 11 assists 12 at the Train-tackle; 7, 9,
11, 13,15, and 8, 10, 12, 14, 16 start the gun cautiously.
2d Captain heaves up on Roller Handspike, but is careful to let down
the Carriage if it begins to start out rapidly; it may even be
advisable not to use the Roller Handspike at all.
Nos. 3, 4 remove Truck-quoins and tend breeching.
Action.
If to windward, 2d Captain heaves up Carriage fully on Roller
Handspike.
Nos. 5 and 6 assist at Side-tackles.
No. 12 only tends Train-tackle if the Roll should need it; otherwise
he overhauls it and assists at Side-tackles.
Nos. 3, 4 remove Truck-quoins, and keep Breeching from fouling the
[51]Front-trucks; 7, 9, 11, 13, 15, and 8, 10, 12, 14, 16 set taut the
Side-tackles.
When the gun is out the 2d Captain swivels the Roller Handspike for
training, or removes it altogether if the Handspike alone be preferred
for this operation.
Nos. 5, 6 choke and retain hold of luffs of Side-tackles, while 3, 4
place Truck-quoins in rear of trucks, if the movement of the ship
requires it. Crew close up; rear man coils end of fall, clear for
running.
If the training is to be sharp, the proper Side-tackle will be hooked
to the further eye-bolt inside; 12 unhooks the Train-tackle, and hooks
it also to the proper eye-bolt in deck.
VII. “PRIME!”
(Diagram No. 4.)
223. Gun Captain again makes sure that the Vent is clear, and, in so
doing, lets down his wire quickly into the charge.
He inserts a Primer, and turns down the Hammer upon it.
Meanwhile 9, 10 take up handspikes, and place themselves at rear of
bracket conveniently to heave forward or aft.
In sharp training Nos. 13, 14 assist them.
Nos. 3, 5, 7, 11, 13, 15, and 4, 6, 8, 12, 14, 16 man Side-tackles.
VIII. “POINT!”
(Diagram No. 4.)
224. Gun
Captain adjusts or verifies Sliding-Bar of Rear Sight to
proper distance given by the Officer of Division, and falls back so as
to be clear of the recoil, lanyard in hand, face to the Port, standing
directly in the rear of the gun, with his eye ranging over the
sights, and keeping in view the water-line of the opposing ship,
trains the gun by voice or sign.
No. 6 throws back the Hammer, and takes hold of lever of Elevating
Screw. (If Roller Handspike is not used in training, 2d Captain
performs this.)
At word “Right” or “Left,” 3, 5, 7, 11, 13, 15, or 4, 6, 8, 12, 14, 16
haul on the proper Side-tackle, and 9, 10 heave correspondingly on
handspikes. Nos. 3 and 4 keep their eyes on handspikemen opposite to
them, to give the time to the other Nos. for hauling on the fall.
No. 6 (or 2d Captain) Elevates or Depresses as directed.
Action.
2d Captain unships the Roller Handspike if it has been used in
training. Nos. 9, 10 withdraw handspikes, and step back clear of
recoil.
Nos. 3, 4 overhaul Side-tackles to mark, unless the motion does not
admit of it.
[52]No. 12 overhauls or holds up Train-tackle.
Nos. 7, 8 remove quoins from Trucks.
Men to their stations.
IX. “READY—FIRE!”
(Diagram No. 5.)
225. The Gun Captain, standing as already placed, waits patiently, but
sharply, for the coincidence of the sights upon the object, which, if
a ship, is always the water-line. When a correction of elevation or of
direction is required, he repeats such of the previous orders as may
be necessary; and these are to be re-executed accordingly.
If the gun is to leeward, the men stand ready to take hold of the
Train-tackle and jerk the cannon into a taut breeching.
When sure of his aim the Gun Captain, who has held the lock-lanyard
just taut, draws it promptly and firmly, bearing in mind that in no
case is he to attempt moving from his post.
The 2d Captain stands ready with a primer, and, in the case of
failure, throws back the hammer and inserts another. If necessary,
serves the Vent. If a second failure occurs, it is a certain
indication that the charge is not home.
Action.
Instantly with the explosion, 11, 12 jerk away the parts of the
train-tackle, or hook it if it has been unhooked.
Nos. 3, 4 place quoins in front of trucks. 9, 10 lay down handspikes.
When the gun is not in to a taut breeching, the 2d Captain ships the
Roller Handspike.
Nos. 7, 8, 9, 10, 11, 12, 13, 14, 15, 16, take hold quickly of
Train-tackle, and run in to a taut breeching.
When in, 3, 4 move up the Truck-quoins, 12 chokes luff of
Train-tackle.
Gun Captain puts back the hammer and coils up lanyard.
No. 6 takes up Sponge, and the exercise proceeds as already directed.
If necessary, No. 2 levels the gun for loading, and lays it fair for
running out.
226. If the exercise is to be continued, it is resumed at the fourth
command:
“SERVE VENT AND SPONGE!”
“CEASE FIRING!”
227. Whenever this order is given, either by the roll of the drum, or
by passing the word, if the gun is primed, the Gun Captain immediately
removes the primer, and with the crew stands at “Attention.”
[53]228. Note.—The breechings of IX-in. guns are to be so fitted that the
face of muzzle when in shall be 18 inches from inner face of side, for
two reasons:
To prevent the gun from returning to the port, and to give room for
the handling of such large shells.
Seventeen men are a proper number for working a IX-in. gun under any
circumstances.
Rammer handles are to be marked for place of charge and of shell.
Side and train tackles are also to be marked to the proper overhaul,
so as to avoid slack rope.
Breast-sweeps are useful at lower sill of port, for training more than
a point.
X. “SECURE!”
229. The Powder-boy returns the spare powder and the passing-boxes to
the magazine. The Shellmen return the shells and empty shell-boxes, if
any remain on deck, to the shell-room.
The Gun Captain directs the gun to be laid square in the middle of the
port.
When the guns are to be secured without being housed the Loader and
Sponger place the chocking-quoins square up against the rear part of
the front trucks and put in the tompion. The Handspikemen, if there is
a quoin, free the quoin and lower the breech, the 2d Captain handling
the quoin. When the gun is fitted with an elevating screw this
operation is performed by the 2d Captain alone, who handles the screw.
The Gun Captain, assisted by the 2d Captain, hauls the breeching
through the jaws of the cascabel to the left side of the gun, forming
with the bight a turn over the breech and cylinder, taking care to
keep the breeching well clear of the elevating screw to prevent chafe,
and securing the parts on each side with selvagees and heavers; or, if
this should interfere with the breech-sight, by crossing the breeching
at the side and securing it with selvagee straps and toggles. In this
case the breeching should be secured after alternate exercises right
and left.
The Loader and Sponger haul up and secure the lower half-ports, put in
tompion, and secure muzzle-bag. The Gun Captain puts in the vent-plug,
lays the hammer of the lock in its place, and the lock-string in a
coil around it. The 2d Captain takes the lock-cover from the
Train-tackleman and secures it over the lock, and in like manner
covers the breech and reinforce sights.
The men at the side-tackles unhook the outer blocks from the
training-bolts and hand them to the Loader and Sponger, who hook them
to the securing-bolts at the sides of the port. The men on both sides
haul them taut and stop the parts of the tackles together, with
knittles provided by [54]the Quarter Gunner, and then expend the
remainder of the falls by passing them around the breech of the gun,
through the jaws of the cascabel, and stopping the bights alternately
to the eye-bolts on each side of the port until expended; or, at
four-truck carriages, take two half hitches over the tail of the
brackets, and expend the ends of the falls.
The Train-tackle men hook the train-tackle to the side-tackle bolts on
each side of the port, the double block on the left side, haul the
tackle taut, expend the end round the breech, and stop the parts in
with the side-tackles.[6]
The Gun Captain then directs the Handspikemen, or if the screw is
used, the 2d Captain, to raise the breech so as to level the gun and
bring all parts of the tackles and breeching taut.
The Loader and Sponger put in and secure the upper half-ports, if
directed, and the Loader swabs the deck to collect any loose powder
which may have been scattered on it.
The several persons who provided the arms and implements used in the
exercise, return them to their proper places, or to the persons
appointed to take charge of them, care being taken that the small arms
are unloaded and reported so before they are sent below, unless
otherwise directed by the Captain.
HOUSING LOWER-DECK GUNS.
230. If the lower-deck guns are to be housed, the Gun Captain directs
the gun to be laid square in the middle of the port and run in to a
taut breeching, and if loaded, the load to be drawn. The Loader and
Sponger place the housing-chocks before the front trucks.
The gun is then run close up against the housing-chocks, and the
chocking-quoins are placed square up behind the rear trucks.
The Handspikemen raise the breech to free the quoin; the 2d Captain
withdraws it and the bed; the Handspikemen lower the breech upon the
axletree, so that in case the gun should break adrift, the muzzle will
take the upper port-sill; and the Port-tacklemen lower the port-lid.
The 2d Loader and 1st Shellman bring the port-bar to the Loader and
Sponger, who put it in place across the port, hook the port-hooks in
the ring-bolts in the port-lids, and drive in the keys until the port
is perfectly closed.
The men on both sides shift the side-tackles from the training-bolts
to the securing-bolts, haul them taut, and expend the ends between the
blocks. The Loader and Sponger pass the frapping lashing round both
parts of the breeching, in front of the brackets, and with the
assistance of the men nearest them bowse it well taut; and secure the
muzzle by placing the grommet over it and the housing hook-bolt, and
by frapping the two parts [55]together with the lashing. When the
housing-bolt is an eye-bolt, a toggle will be necessary to keep the
grommet in its place.
In moderate weather the train-tackle is unhooked from the deck, and
made up and stopped along the side-tackle, on the forward side of the
gun. In bad weather it is kept hooked, bowsed taut, and the end
expended through the ring-bolt and round the arms of the rear axle.
The manner of housing guns, mounted on truck-carriages, on other
decks, in bad weather, does not vary materially from that just
described, excepting that the upper half-ports and the port-bucklers
are put in and secured.
When there are no housing-chocks the ordinary chocking-quoins may be
used as such. It will be an additional security to take off the rear
trucks, and to tighten the muzzle-lashing by raising the breech.
GENERAL REMARKS ON THE MANUAL EXERCISE.
231. The exercise of the great guns has a double object: 1st, To teach
the crew all the details necessary to Load, Point, and Fire the gun;
2d, To develop their activity, intelligence, and muscular force.
The principal object, the base of all this instruction, is loading and
pointing; too much care and attention cannot be devoted to obtain
exactitude in all the movements. There is a tendency to devote too
much time to such exercises as shifting carriages from side to side.
There is always sufficient time for these manœuvres. The most
important are the management of the rammer and sponge in loading and
the handspikes in pointing.
232. At the time of reception on board, the crew may be considered as
made up of three classes: 1st, The Captains, Loaders, and Spongers of
guns, who may be considered as competently instructed in the manual;
2d, another part, who have had some instruction and are competent to
fill the secondary duties; 3d, The remainder, who are entirely
ignorant.
The directions in the manual are more particularly devoted to the
instruction of a crew completely formed, omitting all the minor
details of position and exactness in the performance of the motions
under the different commands, which are to be supplied by the
Instructor. These details would break the connection of the several
commands, and increase the bulk of the work. The precepts of the
manual are not for self-instruction of the ignorant, but to produce a
uniform system of commands in the Instructors. The important point, is
to instruct the last two classes by gun’s crews, and then by
divisions. This is accomplished by drilling the guns’ crews
separately, until each man has acquired some facility in his
particular duties, and then selecting the most deficient for special
instruction, combining them as a gun’s crew, in order not to uselessly
fatigue those who are already expert or readily acquire the drill.
Whenever a new order is to be executed, [56]it should be first thoroughly
and minutely explained; and as soon as all have heard and appear to
understand, execute it. If not correctly performed, repeat the
explanation.
233. When the individuals of each gun’s crew have become well
acquainted with, and expert in the performance of their several
special duties, they are to be successively transferred, temporarily,
to the performance of the duties of some other station, until each man
shall have become acquainted with the special duties of every station
at the gun.
In exercising each man of a gun’s crew in the duties of all the other
men of that crew besides his own, it is to be done thus:
The system supposes that, beginning with the 2d Captain to take the
place of the 1st Captain, the men are to be called to perform the
duties of the latter in a regular succession agreeably to the way they
are placed at the gun; i.e., after the 2d Captain, the 2d
Train-tackleman is to do the duties of Gun Captain; and so on all
round the gun. Each man is to fleet his position one remove or place,
in a direction “with the sun,” so that instead of the interchange of
duties being confined to two individuals only, it is to extend to the
whole gun’s crew. Thus, for instance, when the 2d Captain is called
upon to do the duties of 1st Captain, the latter, by moving one place
“with the sun,” becomes the 1st Train-tackleman, the 1st
Train-tackleman the 1st Port-tackleman, and so on all around the gun
throughout the whole crew, the person at the muzzle of the gun on its
left side crossing over and taking the place of the one at the muzzle
on the right side. Next in order, the 2d Train-tackle. is required to
take the place of the 1st Captain, then the 2d Captain becomes 1st
Train-tackle., the 1st Captain the 1st Port-tackleman, the 2d
Port-tackleman the 2d Captain, and so on throughout.
If it should be desired to take, at first, a man from the middle of
the crew of the gun, or even still further towards the muzzle, to do
the duties of 1st Captain, then it must be done under the supposition
that all the men preceding him in the order above mentioned have
already been exercised in those duties, and the men are then to take
their stands accordingly.
After the guns’ crews have been well trained by giving the words of
command, it will be expedient to exercise them without giving the
several detailed commands, by directing them to “load and fire!” At
this command the different individuals should, each in proper order of
time, silently perform his prescribed duties of sponging, loading,
running out, training, and pointing, the Captain of the gun regulating
the elevation and depression, by raising or lowering his hand, and by
holding it horizontally and steady when the gun is “well;” and in
pointing, by moving his hand to “right” or “left” as the gun requires
to be trained, and by bringing it down to his side when it is “well.”
Before firing, he is to throw his hand well up as a signal for the men
to “drop tackles,” and is to give the word “fire” when he pulls the
lock-string.
[57]When casualties occur at the guns, the Captain of the gun will order
“close up,” and then equalize the crew on each side. If the Powderman
is disabled the highest number takes his place.
234. Whenever the crew of a gun becomes so greatly reduced in action
that men enough are not left to work the piece, it may be fired while
partially run in. In such case, however, the breeching should be
frapped forward of the carriage, the ends crossed under the muzzle or
otherwise arranged so as to keep the muzzle outside of the port; the
side-tackles left loose; the chocking-quoins placed square up against
the outer part of the front trucks; the train-tackle hauled taut, the
end of the fall passed through the train-bolt and well secured, and
wet swabs placed up against the forward part of the rear trucks and
sprinkled with sand or ashes. After three or four rounds the
train-tackle should be re-secured; the chocking-quoins will require
re-placing after each fire. The greatest possible care should be taken
to guard against accident from fire, and minimum charges of powder
used.
Experiment proves that a gun may be fired in this manner without
injury to the ship’s side or the breeching, and by three or four men.
It must be apparent to every officer that both the rapidity and the
accuracy of fire to be obtained from guns in vessels at sea, must
depend, in a great degree, upon the care which may be taken to explain
to the men the best mode of performing their respective parts of the
exercise, and the particular object for which each part is intended,
and especially on such frequency of exercise and target-firing as will
make the men perfectly familiar with their prescribed duties. The
importance of this instruction, which may decide whether an action
shall result in victory or defeat, will, it is hoped, insure due
attention to it from all officers, and especially from the officers of
divisions at quarters.
THE GUNS ON ONE SIDE BEING MANNED,
TO CHANGE SIDES,
OR BOTH SIDES BEING MANNED,
TO MAN ONE SIDE ONLY;
COMMAND.
“MAN THE STARBOARD (OR PORT) GUNS!”
235. Whenever this or any other order is given which requires all the
men suddenly to leave the gun which they are working, they are not to
do so until it is properly loaded, and well secured by hauling taut
the side and train tackles, and hitching their falls around the straps
of the inner blocks; nor on lower decks of ships-of-the-line till the
ports are down and secured by their lanyards. A strict compliance with
this injunction is indispensable to guard against excessive or
imperfect loading and other accidents.
When these precautions have been duly taken, the men will shift over
in obedience to the command.
EXERCISE OF BROADSIDE-GUNS,
ON BOTH SIDES AT ONCE, BY MANNING ALTERNATE GUNS WITH FULL CREWS.
236. In the event of being required to fight both sides, it is
generally conceded that a more effective fire is maintained by
handling alternate guns with full crews.
In this case the preparatory order will be given:
“SILENCE! MAN BOTH SIDES, EVERY OTHER GUN WITH FULL CREWS.”
Upon which the guns’ crews of the guns of the starboard watch will man
the odd-numbered guns on the starboard side, and the guns’ crews of
the port watch will man the even-numbered guns on the port side, and
the exercise will be the same as prescribed for “broadside guns on one
side only.”
MANNING ALL THE GUNS.
GENERAL REMARKS.
237. Arrangements have been made to enable each gun’s crew to work
together and fire alternately a pair of guns on the same side of the
deck. Experience, however, shows that this can only be continued with
effect for three or four rounds, and is in general results inferior to
those obtained by manning alternate guns with full crews.
QUICK FIRING.
238. The service of the guns consists, essentially, of two distinct
parts, pointing and loading. The first of these, pointing, cannot be
performed too carefully and methodically, and requires extreme
coolness and attention on the part of the Captain of the gun; loading,
on the contrary, cannot be executed with too much rapidity, provided
neither the safety of the gun nor of its crew be compromised.
It is clear that if two hostile vessels meet equally matched in all
the ordinary points of equipment and preparation, and manned by crews
equally skilled in gunnery, the advantage will be in favor of the ship
that loads quickest; and should it happen that nicety of aim becomes a
matter of secondary importance, in consequence of the closeness of the
action, then, evidently, rapidity of fire will determine the affair.
These considerations appear decisive, and every care should be taken
in the instruction of guns’ crews, that pointing be executed with
deliberation, care, and method, and loading with all possible
dispatch. In order, therefore, to insure the great advantage of rapid
firing, officers are enjoined [59]frequently to exercise the crews in
setting the cartridge, shot, and wad home together, in one motion, of
such guns as may be loaded in this manner, without inconvenience. This
is the case with all the guns, chambered as well as unchambered,
excepting the 8-inch shell-gun of 63 cwt. of patterns earlier than
1851; it is not recommended, however, to practise simultaneous loading
with guns of higher calibre, such as IX-inch and upwards, as nothing
will be gained by it in point of time.
To prevent the shot from rolling on the tie of the cartridge and
jamming it, the end of the cartridge-bag, outside of the tie, should
be shortened as much as security will permit, unless it has been
specially prepared for this use, by stitching back the end in the form
of a cockade.
With the view of affording the Loader a certain and independent means
of knowing when the whole load is really home, the handle of the
rammer should have a mark upon it, easily distinguishable either by
day or night, and this should be suited to the “ordinary firing”
charge of powder, due allowance being made for the others.
COMMAND.
“LOAD IN ONE MOTION!”
239. The Loader receives the cartridge and puts it in the gun, as
already described; he also receives the shell or shot and wad and
introduces them accordingly.
As soon as the whole charge has been introduced, the Sponger and
Loader together thrust it down smartly with the rammer, as in ordinary
loading. When home, the men run the gun out as quickly as possible;
the Captain of the gun clears the vent, primes in running out, points
and fires in the usual manner, but as rapidly as is consistent with a
good aim, taking care that the muzzle is clear of the port-sill, and
on lower decks that the port is triced up clear of the explosion.
SHIFTING BREECHINGS IN ACTION.
COMMAND.
“SPONGE, LOAD, AND SHIFT BREECHING!”
240. Supposing the gun’s crew to be reduced to six men and the
Powder-boy, that being the least number required to perform the
evolution, and the gun to be discharged and run in. The Captain hauls
taut the train-tackle and chokes the luff, and the Loader and Sponger
place the chocking-quoins forward of the front trucks, and proceed to
sponge and load the gun in the usual manner. The 2d Sponger and 2d
Loader haul taut side-tackles and choke luffs, or, if rolling deep,
hitch the falls round the straps of the blocks, and then unshackle the
old breeching and shackle the new, which is to be brought to the gun
by the 2d Captain.
[60]The Captain removes the old breeching from, and places and secures the
bight of the new one in the jaws of the cascabel, after the gun is
sponged. The 2d Captain passes the old breeching amidships, and the
men resume their usual duties at the gun.
When there are more than six men at the gun, the 2d Sponger and 2d
Loader, after securing the side-tackle falls, will assist to load the
gun, and the additional men will assist in unshackling the old and
shackling the new breeching, but one of these will do all the duties
just assigned to the 1st Captain, so as not to interfere with his
ordinary duties in loading.
SHIFTING TRUCKS.
241. The operation of shifting a truck can only be required when the
gun is “run in” after firing. At the order to shift any one of the
trucks that may be designated:
With the Marsilly carriage.—Heave up with the roller handspike under
the end of the bracket on the side on which the truck is to be
removed; handspikemen pass inside the breeching and place their
handspikes under the axletree as near the truck as possible, and,
assisted by 5 and 6, lift the gun while the shellman removes the old
truck and side-tackleman puts on new one.
With the Ordinary carriage.—To shift a rear truck, handspikemen lift
under the rear axletree. To shift a front truck the rear truck on the
opposite side should first be taken off, then handspikemen lift under
the fore axletree.
EXERCISE OF PIVOT-GUNS.
XI-INCH SHELL-GUN
(As an example.)
242. Arranged to traverse on circles fitted with Bossed Sockets for
pivoting, and with clevis-bolts and sockets for housing.
Equipments and Implements.
| Articles for each Gun. | Where they are to be put when the Gun is Secured. |
|
| Carriage and slide complete, with elevating screw and pivot-bolts |
In place. | |
| Two front roller leversTwo rear roller leversTwo levers for training and shifting trucks | } } } |
Becketed to brackets. |
| Two in-tackles | Hooked in place. | |
| Two out-tackles | Hooked in place. | |
| Two shifting-tackles | Made up on slide. | |
| Two training-tackles | Made up on slide. | |
| Breeching | In place. | |
| Preventer | In place. | |
| Lashings for securing gun | In place. | |
| Tompion, with wad and lanyard | In place. | |
| Sponge and cap Rammer |
} } |
Becketed to beams between decks, or inside the brackets. |
| A pot of oil or prepared grease for rifle cannon | Breast of carriage. | |
| Lock, with string | In place. | |
| Vent-plug | In place. | |
| Lock-cover and strap | In place on gun. | |
| Breech-sight and cover | In place on gun. | |
| Reinforce-sight and cover | In place on gun. | |
| Trunnion-sight | In box between decks. | |
| Priming-wires Boring-bits |
} } |
Inside brackets |
| Water-buckets and large swab | Hold, until wanted. | |
| Hand-swabs | Breast of carriage. | |
| Selvagee-wads | Breast of carriage. | |
| Battle-axes, as allowed (Art. 101) | On breast-transom. | |
| Two transporting axles and trucks | In storeroom, at hand. | |
| One shell in box | On slide. | |
| Shell-bearer | On slide. | |
| Rail transom-chocks [1] | Under rails. | |
[1] These should always be kept under the centre transom when
the carriage is not in use; also in firing at high angles of elevation
to relieve the rails of the shock.
STATIONS AND GUN-NUMBERS.
243. The following are to be the gun-numbers and stations for a gun’s
crew of twenty-five, including the Powderman, the XI-inch shell-gun
being taken as an example:
| Left Side. | Gun-Nos. | Right Side. | |
| First Loader. | 3 | 4 | First Sponger. |
| Second Loader. | 5 | 6 | Second Sponger. |
| First Shellman. | 7 | 8 | Second Shellman. |
| First Front-Leverman. | 9 | 10 | Second Front-Leverman. |
| First Compressman. | 13 | 14 | Second Compressman. |
| First Rear-Leverman. | 11 | 12 | Second Rear-Leverman. |
| Tacklemen. | { 17 { 19 { 21 { 23 |
18 } 20 } 22 } 24 } |
Tacklemen. |
| First Train-Leverman. | 15 | 16 | Second Train-Leverman. |
| First Captain. | 1 | 2 | Second Captain. |
| Powderman. | 25 | ||
To reduce from 24 men and Powderman to 20, omit four highest numbers.
To reduce from 20 men and Powderman to 16 men and Powderman, omit four
next highest numbers.
To reduce from 16 men and Powderman to 12 men and Powder-boy, omit
four highest numbers; 7, 9, and 10 become Pikemen, 11 and 12
Compressmen and Train-Levermen, in addition to other duties.
To reduce from 12 men and boy to 10 men and boy, omit two highest
numbers; 5 becomes Pikeman, 7 becomes Fireman, 9 and 10 Compressor and
Train-Levermen, in addition to other duties.
EXERCISE FOR HEAVY GUNS
MOUNTED ON PIVOT-CARRIAGES.
XI-Inch Shell-Gun. (As an example.)
244. The gun is supposed to be secured amidships, fore and aft, over
the housing pivot, and not loaded.
The exercise will proceed in conformity to the following words of
command, viz.:
| I. | “Silence! Cast Loose and Provide!” |
| II. | “Run in!” |
| III. | “Shift Pivot!” (To the Right or Left!) |
| IV. | “Serve Vent and Sponge!” |
| V. | “Load!” |
| VI. | “Run Out!” |
| VII. | “Prime!” |
| VIII. | “Point!” |
| IX. | “Ready—Fire!” |
| X. | “Shift to Housing-Pivot, and Secure!” |
N.B.—It is always to be understood that when any of their respective
duties under one command are executed, the men will at once proceed to
prepare for those which follow next in order. The exercise must be
considered as a whole, though the details are necessarily divided
under the several words of command.
EXERCISE OF PIVOT XI-IN. CANNON.
GUN SECURED FOR SEA AMIDSHIPS.
I. “SILENCE! CAST LOOSE AND PROVIDE!”
245. No. 1, Commands; sees his gun cleared and cast loose; circles
cleared and swept; tackles hooked; levers shipped; lock and sights in
place; elevating apparatus, pivot-bolts, and compressors in working
order; takes off lock-cover and hands it to 23, who lays it clear of
circle: provides himself with waist-belt and primers, priming-wire,
boring-bit, and thumbstall; and sees that all the gear and implements
are ready for use, and the men at their respective stations.
No. 2, Takes off sight-covers and hands them to 22, who lays them
clear of circle; removes rail-chocks and assists in casting loose. He
provides waist-belt and primers, and sees that the men on his side of
the gun execute promptly their several duties.
CAST LOOSE.
(Diagram No. 1.)
| Clear away the Bulwarks | 15.16.17.18.23.24. | ||||
| Lashings of Gun—Adrift | 3.4.11.12. | ||||
| In-Tackles—Cast loose | 15.16. | ||||
| Out-Tackles—Cast loose | 13.14. | ||||
| Training-Tackles—Cast loose | 19.20.21.22.23.24. | ||||
| Implements | Qr. Gunner. | ||||
| Powder | 25. | ||||
| Shells, Shell-Ladle, &c. | 7.8. | ||||
| Sponge | } Take down | 5.6. | |||
| Rammer | |||||
| Front Carriage-Levers, Ship[7] | 9.10. | ||||
| Rear Carriage-Levers—Ship | 11.12. | ||||
| Slide-Levers—Ship forward | 15.16. | ||||
| Sight-Covers—Take off. 2d Capt. and hands to 22. | |||||
| Buckets of Water[8]—Fill; | } | 5.6. | |||
| Wet Swabs—Bring. | |||||
| Outer Tackles hook as Shifting-Tackles |
|
21.22. 23.24. |
|||
| Inner Tackle[9] hook |
|
17.18. 19.20. |
|||
| Attend Compressors | 13.14. | ||||
| Man In-Tackle | { | 11.15.17.19.21.23. | |||
| 12.16.18.20.22.24. | |||||
| Man Carriage-Levers | { | Front. 9.10. | |||
| Rear. 11.12. | |||||
STAND BY TO RUN IN.
(Diagram No. 2.)
| Ease Compressors[10] and go to In-Tackles | 13.14. | |
| Up Carriage-Levers[11] | { | Front. 3.9. and 4.10. |
| Rear. 11.12. | ||
| Tend Out-Tackles | 5.6. | |
II. “RUN IN!”[12]
| Haul on In-Tackles | { | 11.13.15.17.19.21.23. |
| 12.14.16.18.20.22.24. | ||
| Out-Tackle block—Unhook from Slide, to leave room for hooking Inner Shifting-Tackle | } | 5.6 |
| Down Carriage-Levers | { | Front. 3.9. and 4.10. |
| Rear. 11.12. | ||
| Tauten Compressors | 13.14. | |
STAND BY TO PIVOT.
(Diagram No. 3.)
| Draw Fore Pivot-Bolt | 3.4. | |
| Up Shifting Slide-Levers | 15.16. | |
| Man Outer Shifting-Tackle | { | 3.11.5.9.13.15.17.19.21.23. |
| or or or or | ||
| 4.12.6.10.14.16.18.20.22.24. | ||
| Attend opposite Outer Shifting-Tackle | 19.3. or 20.4. | |
| Down Carriage-Levers | { | Front. 3.9. and 4.10. |
| Rear. 11.12. | ||
| Stand by to hook Inner Tackle, when the Outer Shifting-Tackle is a-block | { | 17 or 18. |
[66]III. “PIVOT TO RIGHT OR LEFT!”
(Diagram No. 3.)
| Haul on—Outer Shifting-Tackle[13] | { | 3.11.5.9.13.15.17.19.21.23.* | ||||
| or or or or | ||||||
| 4.12.6.10.14.16.18.20.22.24. | ||||||
| Ease away opposite Shifting-Tackle | 19.3 or 20.4. | |||||
| Hook to Slide, Inner Tackle and Haul Taut | 17. or 18. | |||||
| Unhook Outer Shifting-Tackles | 21.22.23.24. | |||||
| In Fore Pivot-Bolt | 3. or 4. | |||||
| Shift Inner Tackles as Train-Tackles | { |
|
||||
| Down Shifting Slide-Levers, unship them and ship them on Rear Slide Training-Trucks[14] | { | 15.16. | ||||
| Hook Out-Tackle Block to Slide | 5.6. | |||||
| Take stations for next order—which, if the gun is loaded, will be “Run Out;” if not loaded, will be “Sponge.”[15] |
||||||
| When the Gun is Run Out— | ||||||
| Shackle Breeching[16] | 3.13.—4.14. | |||||
| Draw the Rear Pivot-Bolt | 2. | |||||
| * Other numbers may be called to assist, if needed. | ||||||
[67]IV. “SERVE VENT AND SPONGE!”
(Diagram No. 4.)
248. No. 4 is to receive the moist sponge from No. 6, right hand over,
left under, to send it home, and, assisted by No. 3, to press it to
the bottom of the Bore, then to turn it around two or three times from
left to right, in the direction that the worm may take,[17] withdraw
it, strike the staff several smart taps under the muzzle, then return
it to No. 6, who will receive it and lay it down;[18] the Gun Captain
serves, then stops the Vent,[19] and as soon as the sponge has been
withdrawn, serves the Vent with his priming-wire and again stops it.
This being done—
No. 20 hands the Rammer to No. 4 as soon as the latter has been
relieved of the Sponge by No. 6. Should No. 4 observe that the Gun
Captain has neglected to serve the Vent, he is to call his attention
to it.
No. 3 stands ready with the Powder which he has taken from No. 5, to
whom it was passed by No. 25.
Nos. 7, 8, open the Shell-Box, disengage[20] the Shell, and place it
in the Ladle, in readiness to pass to Nos. 3 and 5. (Special drill.)
(Diagram No. 4.)
249. No. 3 places the charge in the muzzle, seam from the Vent,[21]
small end in, and pushes it well into the Bore.
No. 4, who stands ready with the Rammer, enters it into the muzzle,
and pushes the charge home steadily, until the mark on the Rammer
handle shows the charge to be in place.[22] No. 3 assists with one
hand, and the charge is on no account to be struck.[23]
Whilst No. 4 withdraws the Rammer, Nos. 7, 8 each take a handle of the
Ladle, lift up the Shell,[24] and, assisted by No. 5, pass it on to
Nos. 3 and 4, who enter the shell into the muzzle, sabot first and
Fuze out, as soon as the Rammer is clear of the muzzle.
As the Shell lies just fair with the muzzle, No. 3 removes the cap
from Fuze,[25] which is passed along to the Gun Captain, and pushes
the Shell into the Bore.
No. 4 enters the Rammer, and, assisted by No. 3, pushes in the shell
until the mark on the handle shows it to be in place. It is most
strictly forbidden to strike the shell with the Rammer.[26]
No. 6 takes the Rammer from No. 4 and lays it down, or lodges it
overhead on the hooks. Whilst this has been doing, the preparation for
the next order is to go on.[27] Nos. 13, 14 ease compressors, if no
motion. If there is, they stand ready to ease at next order. The
Out-Tackles are manned by Nos. 19, 21, 23, 17, 15, 11, 13, and 20, 22,
24, 18, 16, 12, 14. The Inner Tackles tended by No. 2 and Qr. Gunner.
The Front Carriage-Levers grasped by 3, 9, and 4, 10. The Rear by 11,
12.
(Diagram No. 5.)
250. The mode of executing this order will vary with circumstances—by
the gun being to windward or to leeward, and by the nature of the
rolling motion.
To leeward, and with much motion, the tendency is to go out with
dangerous violence.[28]
Therefore, Nos. 5, 19, 21, 23, 17, 15, 13, and 6, 20, 22, 24, 18, 16,
14, haul cautiously on the Out-Tackles, the Qr. Gunner and No. 2,
assisted by 15, 16, holding well back on the In-Tackles with a turn
caught; 13, 14 ease the compressors; Nos. 3, 9, and 4, 10 heave up the
Front Carriage-Levers; Nos. 11, 12 keep down the Rear Carriage-Levers,
unless it is seen that they are necessary.
In running out to windward[29] the compressors may be eased at once,
the In-Tackles slacked, the Carriage hove up on its trucks, and the
gun run out by the Out-Tacklemen, assisted by any of the numbers not
employed in other duties. When out, the Carriage-Levers are let down
promptly and unshipped. The compressors are set[30] and Rear
Slide-Lever shipped.
(Diagram No. 6.)
251. The Gun Captain again makes sure that the Vent is clear,[31] and
in so doing lets his wire down quickly into the charge.[32] If all is
right, he inserts a primer.
If the Slide-Levers have not been shipped, or have been unshipped,
they must now be put on the axles of the Rear Slide-Trucks—15, 16.
The Rear Train-Tackles will be manned by
| Nos. | { | 13.15.17.19.21.23.5. | |
| 14.16.18.20.22.24.6. |
VIII. “POINT!”
252. The Gun Captain adjusts or verifies the Sliding-Bar of the Rear
sight to the desired range,[33] and steps off the slide directly to
the rear, lock-lanyard in hand. The 2d Captain takes hold of the
Elevating screw,[34] 15, 16 heave up the levers of Rear Slide-Trucks,
and the Training-Tackles are manned by
| Nos. | { | 13.15.17.19.21.23.5. | |
| 14.16.18.20.22.24.6. | |||
| (Right or Left.) | |||
253. The Gun Captain, with lock-lanyard just taut and his eye ranging
over the sights, but kept well down to the bottom of the notch in head
of sliding-bar, and over the point of middle sight, awaits these being
brought into coincidence by the roll with the object, which is always
the Water-Line—the Slide being trained constantly as desired by voice
or sign.[35]
When sure of his aim, the Gun Captain draws the lock-lanyard promptly
and firmly.
If the primer miss, the 2d Captain removes it, clears the vent, and
puts in a fresh primer.
If the gun, when fired, does not come into its place for loading, ship
Carriage-Levers, heave up, and run in by the In-Tackles to a taut
breeching.
Down all levers and set Compressors.
If the firing or exercise is to continue, the next order is “Sponge.”
If not, unshackle the breeching, then—Run in, back to rear hurter for
pivoting—”Stand by to Pivot”—”Pivot to right or left;” when
amidships—In Pivot-Bolt—”Run out,” and secure for sea.
X. “SHIFT TO HOUSING-PIVOT, AND SECURE!”
254. The gun is brought into the housing position amidships and
pivoted to the socket farthest from the extremity of the vessel, and
run out.
No. 1 puts in the vent-plug, wipes and lays the hammer in place and
the lock-string around it, then puts on the lock-cover; sees his gun
properly secured, and the implements and spare articles returned to
their places.
No. 2 levels the gun and wipes off and re-lacquers rear pivot-bolt and
elevating screw; puts on sight-aprons; puts in rail-chocks and assists
in securing lashings and breeching.
Loaders put in the tompion and on muzzle-bag, and wipe off and
re-lacquer the front pivot-bolt.
Spongers return rammer and sponge to place, and assist in securing
lashings and breeching.
[72]Levermen wipe off and re-lacquer their respective levers and
eccentrics, secure levers in place, and assist in securing the gun.
Compressormen wipe off, re-lacquer, and tighten the compressors, and
assist Carpenter in replacing and securing bulwarks.
Shellmen return shells, empty boxes, and shell-bearer to their places,
and assist in securing bulwarks.
Powderman returns spare powder and passing-box to the magazine.
Tacklemen tighten and secure “in” and “out tackles,” and make up and
stow “shifting” and “training tackles” on the slide; ship the
clevis-bolts, pass and tighten the gun-lashings, and assist in
replacing bulwarks.
The men who provide implements and spare articles return them to their
places.
TRANSPORTING PIVOT-GUNS FROM ONE END OF A VESSEL TO THE OTHER.
255. The gun must be pivoted and trained so as to bring its muzzle
towards the direction in which it is to be transported, the
transporting-trucks shipped and secured to their axles, the
chocking-quoins placed, the training-trucks thrown out of action, the
compressors brought to bear to confine the gun near the middle of the
slide, some of the tackles hooked for dragging, and others, with
capstan-bars, for guiding and steadying it. The pivot-bolts are to be
removed, and the gun’s crew, aided by others if required, transport it
to the desired position at the other end of the vessel. The slide is
then brought over and pivoted upon a fighting or outer centre, the
transporting-trucks removed, and the training-trucks brought into
action. When the implements for working and loading the gun are
brought to it, it will then be ready for action.
When the forward and after slides are of different lengths, and the
traversing circles of different diameters, the longest slide will be
fitted with an additional rear pivot-hole and plate, to correspond
with the smaller circle, in order that the gun may be worked from the
midship pivot-bolt and shifted to the different fighting centres or
pivot-bolts of the smaller circle.
Thus, when only one pivot-gun is mounted forward and one aft, and when
they can both be brought to bear from only one end of the vessel, the
force may be doubled at that extremity by pivoting one gun on each bow
or quarter, as the case may be.
For heavy guns this is practicable in smooth water only.
Arrangements are made for shifting the broadside-guns both to the bow
and stern, in aid of the pivot-guns, when the distance of the enemy is
not too great. When the stern gun is pivoted over the rudder, one of
the broadside-guns may be worked on each side of it, in firing right
aft. Guns mounted on pivot-carriages may be fought upon the rear
pivot, on the common or shifting centre, and fired from any point of
the traversing or [73]shifting circle, if the elevation be such as will
not endanger the decks. In this case the training must be done with
the gun run in over the rear pivot, as after it is run out the
training will be difficult, and the helm must be relied on to bring
the gun on with the object.
Guns should never be transported about the deck of a ship when
loaded.
NOTES UPON THE MANUAL EXERCISE.
FOURTH COMMAND.
“SERVE VENT AND SPONGE!”
“The Gun Captain-serves, then stops the vent!”
256. A difference of opinion being entertained among artillerists with
regard to the utility of stopping the vent, the continuance of the
practice, as directed in the text, is recommended.
The thumbstall has been made of various materials, but its use is
somewhat inconvenient for the Gun Captain, and he cannot feel that the
vent is stopped. At the Experimental Battery of the Ordnance Yard the
naked thumb is used, and experience shows that the gun is never so hot
as to occasion the least inconvenience, except with howitzers.
257. It has been the uniform practice at the Experimental Battery at
the Ordnance Yard, Washington, and also on board the Gunnery Ship
Plymouth, in 1857-’58, to use a moist sponge; and as no accident
from premature explosion has taken place in either case, the inference
is that the method is a safe one, and might obviate other precautions,
especially where reloading is necessary, as in firing salutes, when,
there being no shot over the cartridge, it is imperfectly consumed.
258. “Strikes the staff several smart taps under the muzzle!” to shake
off any adhering fragments of the cartridge. Should any burning
fragments be drawn out, the Loader extinguishes them with the wet
swab; the Gun Captain again commands “Sponge.”
259. Gun Captain “serves the vent with his priming-wire!” If at any
time he should find the vent obstructed, and be unable to clear it
with the priming-wire or boring-bit, he will at once report to the
officer of division, who will order the vent-punch used; or, if this
should fail, have recourse to the vent-drill and brace in charge of
the Quarter Gunner. The boring-bit, vent-punch, and drills should be
used with caution, as, being of steel, they are liable to be broken
off in the vent and thus effectually spike the gun. After clearing the
vent the bore should be sponged.
260. Spongers and Loaders are to be careful to keep their bodies as
much within the port as practicable, otherwise at close quarters they
will be picked off by musketry.
FIFTH COMMAND.
“LOAD!”
“No. 3 removes cap from fuze!“[36]
261. The cap is never to be removed until the shell has been entered
in the gun. With high elevations, or when rolling, care should be
taken that the shell does not slip down the bore before this is done.
The cap or patch is removed by taking hold of the lug with the
forefinger and thumb, first raising it a little, and without twisting;
a pull readily removes it. The patch is passed to the Gun Captain, as
an evidence that the priming has been exposed; the patches to be
preserved and accounted for at the end of the firing.
262. The Loader must be careful not to touch the fuze composition with
his fingers, for fear of injuring it by moisture. Where the firing is
not hurried it is advisable to raise the priming of the fuze, to
insure its ignition. All of these details should be carefully
explained to the crew.
263. No wad is required over a shell, but a selvagee wad may be used
in heavy rolling.
264. When loading with shot a selvagee wad is placed over it. A
part—half or a third—of a selvagee wad, is equally efficient in
holding the shot in place.
265. Shells should be used against Ships at all distances where the
penetration would be sufficient to lodge them. They are of no service
in breaching solid stone walls, but are very effective against
earthworks, ordinary buildings, and for bombarding. For these purposes
a good percussion or concussion fuze is desirable, but no reliable
fuzes of these kinds have as yet been devised.
266. Solid shot should only be used when great accuracy, at very long
range, and penetration are required.
267. If, in loading, a shot or shell jams in the bore, no attempt
should be made to force it down, but it should be withdrawn. This may
be done with the ladle, by depressing and striking the muzzle against
the lower sill of the port, or by running the gun out hard against the
side at extreme depression.
268. A gun is not to be loaded with more than a single shot at once,
without the express sanction of the Captain, and never with more than
a [76]single shell. Solid shot are not to be fired from shell-guns
without a direct order from the Captain.
269. Experiments show that firing two loaded shells together should
never be practised. With quite reduced charges [of from 1/8th to
1/12th the weight of the single shell], of 88 loaded shells thus
fired, 25 were broken and 48 did not explode, and some of the
remainder were exploded too soon by the shock of discharge. Of 50
unloaded 8-inch shells, fired two at the same time, with 6 lbs. of
powder, only one was broken by the shock of the discharge. This
difference between loaded and empty shells is accounted for by the
fact that a small hole is generally broken into the outer shell,
through which its charge is ignited. See p. 13, Report of Admiral
Farragut, dated August 31, 1853, on experiments made at Old Point
Comfort.
270. In loading with a shell, the most exact attention is required to
all the precautions relating to the position of the fuze and the mode
of setting home the shell. The Loader is to be specially instructed
that unless the leaden patch is stripped off, to expose the priming,
the fuze will not ignite, and consequently the shell cannot explode.
271. Grape-shot have not sufficient penetration to be used with
effect, generally, against ships-of-war beyond 150 yards. When the men
on the spar-decks of the enemy are exposed, by the heeling of the
ship, grape or canister may be used against them, at distances varying
from 200 to 300 yards. Against light vessels, a single stand of grape
from heavy guns may be used at about 400 yards. The dispersion of the
balls is about one-tenth the distance, and is practically independent
of the charge.
272. The XI-inch gun, at 10° elevation, gives for the mass of grape or
canister a range of about 1,300 yards; the spread about 10°. They may
therefore be used with great effect against boats or exposed bodies of
men.
273. A stand of grape is not to be used with any other projectile.
274. Canister or case-shot, prepared for immediate use, are supplied
for all guns, including boat and field howitzers, and are effective at
short distances against boats or exposed bodies of men; they may be
used also, under favorable circumstances, against the tops of an
enemy.
275. Shrapnel-shell or spherical case-shot is intended to exceed the
range of canister, and is to be used only under the same
circumstances, but at an increased distance. Canister is more
effective at from 250 yards with the 12-pdr. howitzer, to 400 yards
with the XI-inch; but beyond those distances shrapnel should be used
up to 900 yards for the 12-pdr., and 1,500 with the XI-inch. A
well-delivered shrapnel-shell from a heavy gun must sweep away the
crew of a pivot or other gun, on a spar-deck not protected by
bulwarks. The ‘distant firing’ charge is always to be used with
shrapnel.
SEVENTH COMMAND.
“PRIME!”
“He inserts a primer and turns the hammer down upon it.“
276. To prevent the primer from being blown out of the vent by the
blast of the next gun, as occasionally happens on light-covered decks.
With guns of the old pattern this cannot be done, because, if turned
down, it would interfere with the aim.
277. It is essential that the head of the primer shall be placed flat
and pressed close upon the vent, that the hammer may strike it fairly.
The tip of shellac, by which the lower end of the tube is sealed,
occasionally obstructs the jet of flame so as to split the tube. In
this case the flame is dispersed laterally, and fails to ignite the
charge; it is therefore a good precaution to pinch the end of the tube
before putting it into the vent.[37]
278. The tubes of all the primers are carefully gauged before issuing
them for service; but such as, from any cause, become so much enlarged
as not to go easily into the vent, should be rejected without
attempting to force them down.
It will occasionally happen, either from carelessness or inattention
to the instructions given for the proper manner of pulling the
lock-string, that the head of the primer will be crushed without
exploding it. Frequently a second and stronger pull will have the
desired effect, if the fulminate has not been dispersed; in case,
however, this attempt should prove unsuccessful, the tube of the
primer should be drawn out, if possible, before using the priming-wire
to clear the vent.
279. In case either lock or primer should entirely fail, recourse will
be had to the friction-primers or to the spur-tubes. In using the
first, the Captain of the gun, after taking the primer from the box,
will raise up the twisted wire-loop until it is on a line with the
spur; place the tube in the vent with the spur towards the muzzle of
the gun, and so that this spur will rest on the lock-piece; then hook
the lanyard into the raised loop, and pull it, when otherwise ready to
fire the gun, as though it were a lock-string, using, however, a less
degree of force. The lanyard may be hooked to the loop before the tube
is put into the vent. When the spur-tubes are used, the Gun Captain
exposes the priming and the 2d Captain applies the match.
280. The men should be practised at unloaded guns, in placing the
primers, both percussion and friction, properly, and in pulling the
lock-string so as to insure their explosion, until this very essential
knowledge and skill have been perfectly attained.
EIGHTH COMMAND.
“POINT!”
“His eye ranging over the sights!“
281. The Gun Captain gives the necessary order, “Right” or “Left,”
“Raise” or “Lower,” by voice or sign. He alone should speak, giving
his orders in a sharp, clear tone, but not louder than necessary for
his own crew to hear him.
282. He should make use of the following signs to assist in making
himself understood, which, when the crew become well drilled, are
sufficient without the verbal orders.
In Pointing.—He should move the left hand, held vertically, to the
right or left, according as he wishes the right or left tackle hauled
upon.
In Elevating.—He should move the hand, held horizontally, up or down,
according as he wishes the breech raised or lowered.
283. Officers of divisions, while instructing the men in aiming,
should be particular in impressing upon their minds the necessity of
bringing the eye to an exact level with the bottom of the sight-notch,
as otherwise they will fire too high.
284. In lateral training, when the direction of the gun is frequently
changed by the coming up or falling off of the ship, or when the
position of the object to be fired at is rapidly changing by passing
in opposite directions, or from other causes, it is better to train a
little beyond, and then watch the proper moment for firing, instead of
endeavoring to train at once directly on the object.
285. The lateral training, or pointing, when considerable, should
always precede the elevation; because, the jarring of the gun is apt
to alter the elevation.
286. “If roller handspike is not used in training.” A great difference
of opinion exists on this point. The use of the roller handspike
somewhat facilitates extreme train, but the gun cannot be fired until
it is unshipped, which alters the elevation and consumes time. It is
perhaps preferable to use one handspike under the bracket, manned by
two men, and the other to lift and slue the gun, manned by one man,
under the transom.
287. “Elevate or Depress as directed!” If the carriage is fitted with
a quoin, handspikemen standing between the handspikes and the side of
the ship, place their handspikes on the steps of the carriage and
raise the breech. As soon as the quoin is free, the 2d Captain takes
hold of it with both hands and withdraws the quoin to the full extent;
handspikemen “raise” or “lower” the gun slowly and steadily. When the
proper elevation is [79]given, the Gun Captain gives the word “Well!” and
the 2d Captain forces the quoin tight under the breech, giving the
word “Down!”
288. To facilitate the operation of pointing guns according to the
distance of the object aimed at, sights are prepared and fitted to
each gun; and breast-sweeps for all truck-carriages of heavy guns.
The ordinary sights consist of two pieces of bronze gun-metal, one of
which, called the reinforce-sight, is a fixed point, firmly secured to
the sight-mass, upon the upper surface of the gun between the
trunnions. The heads of the sights should not be bright, otherwise it
interferes with the aim when they are exposed to a bright sun.
289. The other, or breech-sight, is a square bar or stem, with a head,
in the top of which is a sight-notch. It is set diagonally, so as to
expose two faces to the rear; the rear angle chamfered, to afford a
bearing for the clamp-screw. This bar or stem is made to slide in a
vertical plane, in the sight-box fixed to the breech sight-mass, and
is held at the various elevations for which it is graduated by means
of a thumb-screw. Its length is sufficient for all the elevation which
can be given—about 5°—before the muzzle appears above the front
sight, after which a long wooden sight must be used, graduated for the
whole length of the gun, using the notch in the muzzle.
The bar or stem of the sight has lines across its faces denoting for
all the old guns degrees of elevation, each of which is marked with
the number of yards at which a shot or shell will strike the point
aimed at, when that line is brought to a level with the top of the
sight-box, and the gun is loaded with a specified charge of powder;
for the guns of the new system, the ranges are marked in even hundreds
of yards.
The uppermost line on the stem marked level is the zero of the other
graduations, and when adjusted to the level of the top of the
sight-box, the bottom of the notch in the head of the breech-sight and
the apex of the reinforce-sight show the dispart of the gun. When the
line of sight coincides with these points, it is parallel to the bore,
and when continued to a distant horizon, the gun is laid level or
horizontal.
Sights should invariably be made so that the level line on the stem
will correspond with the bottom of the head when it rests on the
sight-box, and thus secure a dispart-sight in case of accident to the
screw in the sight-box.
A white line, one-fourth (.25) of an inch wide, drawn on top of the
gun from the breech-sight to the notch on the swell of the muzzle, has
been found to greatly facilitate the aim. For night-firing a broad
wooden block, painted dead-white, to ship over the reinforce-sight,
leaving 1/4 of an inch of the sight exposed, will assist in preventing
the aim from being too high.
290. For shot-guns the ranges in yards for one shot with the
[80]distant-firing charge of powder are marked for each degree of
elevation on the right in-board face of the sight-bar; for the
ordinary firing, on the left face.
291. The gun being placed a certain height above the water, depending
on the class of vessel and the deck on which it is mounted, it is
evident that, when the axis of the bore is horizontal, the shot will
have a range proportionate to this height. This range or distance is
commonly called point-blank, or point-blank range, and is the number
noted in the column marked P.B., or 0°, or level in range tables.
This point-blank, therefore, depends on the class of gun, the charge,
and the height above the water.
292. A preferable definition of this distance is “range at level.”
293. The aim is always supposed to be directed at the water-line. But,
with the sight-bar at level, if a gun is aimed by it at the water-line
of a vessel at point-blank range, the shot would strike short of the
point aimed at by about one-quarter of the distance; or, if aimed,
under similar conditions, at the upper part of the hull, the shot
would fall a distance below the point aimed at equal to the height of
the gun.
294. In firing at small objects, particularly boats, within
point-blank range, it is therefore important to attend to this source
of error. It is desirable that all sights should be marked, from 100
yards to the greatest range, and thus avoid all consideration of
point-blank.
In fitting new guns, or those upon which the sights require replacing,
the sight-bar will be fitted as described in Article 289, and
graduated from 100 yards downwards.
For shell-guns the ranges are marked for shells on the sight-bars, in
the same manner as those for the shot of shot-guns.
295. These sights being each adjusted to a particular gun, and marked
with its class and number, do not, in strictness, admit of being
transferred to other guns, even of the same class.
296. When used, the stem of the breech-sight must be raised or
lowered, to correspond with the ascertained or estimated distance, in
yards, of the object aimed at, and firmly secured there by the
thumb-screw. Then, if the ship be steady, elevate or depress the gun
until the line of sight from the bottom of the notch of the
breech-sight, the top of the reinforce-sight, and the point to be
struck, will coincide; but if the ship have a rolling motion the gun
must be so laid, after the sight is set for the distance, that this
coincidence may be obtained, if possible, at the most favorable part
of every roll which the ship makes.
297. The inclination of the line of metal to the axis of the bore
varies in guns of the same class, as well as in those of different
classes. Aiming, [81]therefore, by the line of metal cannot be relied on
for definite ranges; besides that, within those ranges, it is apt to
mislead by giving too much elevation to the piece. Therefore, when the
established sights are not furnished, or have become unserviceable,
wooden dispart-sights lashed on the reinforce should be immediately
substituted. A narrow groove in the upper surface of the wooden sight,
made to coincide with the plane of the line of sight marked on the
gun, will assist the Gun Captain in getting the true direction
quickly.
Half the difference between the diameters of the gun at the base-ring
and swell of the muzzle, or at any intermediate point on the line of
metal, will give the proper height of the dispart-sight at the point
where the least diameter was taken, to which must be added the height
of the lock-piece above the base-ring, in order to get a line of sight
over it, parallel to the axis of the bore.
The guns of the Dahlgren pattern are cylindrical for a certain
distance forward of the base-line, always giving a line of sight
parallel to the axis of the bore.
298. All the new guns are marked on the top of the lock-piece,
base-ring, the reinforce sight-mass, and the swell of the muzzle, by
notches which indicate a vertical plane passing through the axis of
the bore, at right angles to the axis of the trunnions.
299. Pivot-guns have been supplied with trunnion-sights, designed to
be used when the ordinary sights do not give the required elevation.
This instrument, however, gives but a rude approximation in either
elevation or direction.
300. The rifled cannon in service have the breech-sight on the side of
the breech and the front sight on the rimbase, which permits the gun
to be accurately aimed and the object kept in view at all elevations.
It is intended in future to apply this arrangement to all cannon
mounted on pivot-carriages.
301. Various modes have been practised to ascertain at sea the
distance from the object aimed at, so as to regulate the elevation of
guns, but none can be depended upon for giving it with minute
accuracy, and even when obtained it is continually varying; therefore,
when the projectile is seen to exceed or fall short of the object
considerably, the sight-bar must be readjusted accordingly. It thus
becomes, under ordinary circumstances, the best instrument for
approximating distances. In correcting the elevation, however, the
variation of range to the first graze, attributable to eccentricity,
differences of windage, and other causes, must be taken into
consideration, as, under the most favorable circumstances, at the
[82]Experimental Battery of the Ordnance Yard, this variation is found to
equal fifty yards, more or less.
302. In addition to the errors arising from these sources, we have
also those due to the direction and force of the wind, the movement of
the ship across the line of fire, and to sheering round a pivot when
performing evolutions.
303. They can be obviated or diminished by the following means:
1st. Allow the Gun Captain to estimate the distance to windward or to
leeward, right or left, to be allowed for the deflection; or,
2d. Indicate the number of yards right or left of the object; which,
after all, depends on his estimation of distance.
3d. Furnish a sight which, in addition to the elevation, allows for
the deviation, and permits the Gun Captain in all cases to aim
directly at the target.
Such a sight is furnished to the Parrott rifles, and is desirable for
all guns.
304. In case the ordinary sights should be lost or rendered useless,
tangent firing may be resorted to against ships, by pointing with the
wooden dispart-sight at such part of the ship as the Tables indicate
for the distance, and according to the class of gun in use at the
time.
A Table of this kind is appended, which has been calculated for the
8-inch and some of the heavier of the 32-pounder guns when loaded with
single shot and distant-firing charges.
The different classes of sailing ships-of-war, whether of the same or
of different nations, are not of the same length, nor are their masts
of the same height from the deck, or from the water. They, however,
correspond so nearly, for the same class of ships of the same nation,
that calculations made from the angles subtended by the average height
of their masts, will generally give their distance with sufficient
accuracy for general firing.
Tables are inserted at the end of the book, in which the distances
corresponding to different angles made by the masts of English and
French ships-of-war are shown—from which the intermediate distances
due to other angles may be estimated, and the sights regulated
accordingly, if circumstances should render it desirable. Also an
abridged Table, in which the height of our own mast is used as the
base.
305. Officers of divisions and Captains of guns should be occasionally
practised in measuring the distances of objects by the eye, at times
when opportunities offer of verifying the accuracy of their estimate
by comparing it with the distance obtained by the foregoing methods,
or any other which will afford the best means of comparison.
306. Within point-blank range, if the hull of an enemy’s vessel is
[83]obscured by smoke or darkness, the aim may be directed by the flashes
of his guns.
307. Most naval guns are now fitted with elevating screws, passing
through a hole in the cascabel of the Dahlgren system, and for those
of the old system attached to the carriage: but the ordinary beds and
quoins are also still in use; they are arranged to allow the extreme
elevation and depression of the guns which the ports will admit with
safety. When the inner or thick end of the quoin is fair with the end
of the bed in place, the gun is level in the carriage; or horizontal,
when the ship is upright. The degrees of elevation above this level,
which may be given to the gun by drawing out the quoin when laid on
its base, are marked on the side or edge, and those of depression on
the flat part of the quoin, so that when the quoin is turned on its
side for depressing, the marks may be seen. The level mark on the
quoin is to correspond with the end of the bed. When the quoin is
entirely removed, and the breech of the gun rests on the bed, the gun
has its greatest safe elevation; and when the quoin is pushed home on
its side, the gun has the greatest safe depression that the port will
admit.
Care must be taken that the stop on the quoin is always properly
lodged, to prevent the quoin from flying out or changing its position,
and that the bed is secured to the bed-bolt.
Porter’s bed and quoin has been adopted for all carriages requiring
quoins. This quoin, being graduated to whole degrees, requires a small
additional quoin for slight differences of elevation in smooth water.
When the elevating screw is used, a quoin should be at hand to place
under the breech of the gun, when at extreme elevation, to relieve the
screw from the shock of the discharge, and prevent a change of the
elevation, as well as to take the place of the screw if it should be
disabled. When the fire is continuous at the same distance, the lever
of the elevating screw should be secured by a lanyard, to prevent the
screw from turning and altering the elevation.
308. If a greater elevation for broadside-guns should be desired for
any special purpose, it may be obtained by placing inclined planes
behind the rear trucks, for them to recoil over and produce a
corresponding depression of the muzzle of the gun as it comes within
the port. But it will be observed that, beyond the elevation which the
ports will admit of, the sights can no longer be taken by the tangent
or any other top sight, as the upper sill of the port interferes. The
gun must therefore be laid by the quoin and pendulum.
Additional depression may also be obtained by placing inclined planes
for the front trucks to recoil upon, or by raising the breech by means
of a wooden toggle placed vertically under it. One end of a
tripping-line is [84]fastened to the middle of the toggle, and the other
to the breeching-bolt in the side of the ship; by this arrangement the
toggle is tripped from its place at the commencement of the recoil,
and the muzzle is raised so as to clear the port-sill by the
preponderance of the breech.
NINTH COMMAND.
“READY—FIRE!”
“Waits patiently for the coincidence of the sights upon the object.”
309. The exact moment for firing, at sea, necessarily varies with
circumstances; but when these are favorable the following general
principles should govern:
310. When the ship is steady, the gun should be fired when the line of
sight is brought upon the object; but when the ship has much rolling
motion, the moment for firing should be chosen a little before, so
that the shot will probably leave the gun when the roll brings the
line of sight upon the object aimed at.
When practicable, and too much time will not be lost, it will be best
to fire when the vessel is on the top of a wave and just begins to
roll towards the object. If the loss of time should be found
objectionable, the gun may be fired at any other instant, when
properly pointed, giving a preference, however, to the moment when
rolling towards rather than when rolling from the object, and making
due allowance for the probable change of elevation by the roll of the
ship before the shot leaves the gun.
311. If, from any cause, the firing should be delayed after the gun
has been pointed, it should be carefully pointed again before the
order to fire is given.
312. The great object is to fire low enough to strike the hull if the
shot preserve the intended direction, and as a general rule to strike
it near the water-line.
313. To avoid loss of shot from lateral deviations, it is recommended
to direct all the guns to be pointed to strike somewhere between the
fore and mizzen masts of an enemy; when quite near, the guns of the
forward divisions should be pointed in preference to that part of the
hull about the foremast, and one or two of the after guns at the
rudder, if it should be fairly exposed.
REMARKS ON THE DIFFERENT KINDS OF FIRING.
314. Firing at Will.—By this is meant firing the guns independently
of each other, each Captain of a gun seizing the most favorable
opportunity. This firing should always be used in action—unless
ordered to the contrary—whenever the object is visible, the smoke
from one gun not greatly impeding the firing of another.
315. Firing in Succession.—By this is meant firing one gun after
another in regular order, commencing from the foremost or after gun,
according as the wind is blowing from aft or forward. This firing may
be used with advantage in the commencement of an action, or whenever a
continuous, steady fire is desired, as the smoke from one gun will not
impede the firing of the next.
316. Quick Firing.—By this is meant rapid firing at will, the
tangent-sight not being raised. This firing should be used only when
close alongside an enemy, as then but little pointing would be
required.
317. When the guns are laid for the projectile to strike the object
aimed at without grazing between the gun and the object, the firing is
said to be direct. This mode of firing is to be preferred when the
object fired at is so near that the chances of hitting it are very
great, and also when the intervening surface between the gun and
object is so rough or irregular that a projectile striking it would
have its velocity much diminished or destroyed, and its direction
injuriously affected.
Direct Firing requires a good knowledge of distance, and precision
both of elevation and lateral direction, in order to strike an object
which is comparatively a point. It is always to be preferred when the
distance is accurately known.
318. When the guns are so laid that the projectile makes numerous
grazes between the gun and the object, and continues its flight, the
firing is denominated ricochet.
That properly so called is performed at level, or at most at three
degrees of elevation; shot will often ricochet at much greater angles,
but it is not what is meant by ricochet firing.
Ricochet Firing, upon a smooth surface within certain distances, has
some important advantages over direct firing. When the guns have very
little or no elevation, and are near the water, as they are in a
ship’s battery, the projectile strikes the water at a very small
angle; its flight is not greatly retarded by the graze, and it rises
but little above the surface in its course. The distant charge should
always be used, but the penetration is not to be depended on beyond
1,500 yards against ships-of-war.
[86]Ricochet firing at low elevations requires only correct lateral
direction, since the projectile would rarely pass over and would
probably strike a vessel if within its effective range, whether the
actual distance had been correctly ascertained or not.
The deviation of projectiles is, however, generally increased by
ricochet, and in proportion to the roughness of the surface of the
water. Even a slight ripple will make a perceptible difference not
only in direction, but in range and penetration, and the height to
which the projectile will rise in its bounds.
Although these facts demand attention, yet when the estimated distance
does not require an elevation of more than three degrees, projectiles
from guns pointed rather too low for direct firing will probably
ricochet and strike the object with effect, even when the water is
considerably rough. This may be called “accidental ricochet.”
When the water is not smooth, the most favorable circumstances for
ricochet firing are when the flight of the shot is with the roll of
the sea, and that roll is long and regular.
Ricochet will be effective against small objects up to 2,000 yards,
but should not commence at less than 600 yards; at less distances it
is preferable to fire direct. Ricochet is of no value from rifled guns
firing elongated projectiles, as they lose all certainty of direction
on the rebound.
Upon smooth water, a shot fired horizontally from the 32-pdr. of 33
cwt., with 4 1/2 lbs. powder, ricocheted and rolled about 3,000 yards;
the greatest range obtained from an elevation of 5°, with the same gun
and charge, was less than 1,800 yards. See Dahlgren’s Report on
32-pdr. of 32 cwt., p. 90.
Shot rarely ricochet at all with elevations above 5°, and the bounds
are always higher, with equal charges from the same gun, as the
elevation of the gun is increased.
319. Concentration of fire may be desirable under certain
circumstances; and arrangements have been sometimes made to secure it
by the simultaneous discharge of a number of guns upon some part of an
object whose distance is known.
The advantages of these arrangements are not very obvious, excepting
in cases where the position of the enemy may be visible from one part
of a ship and not from all the guns in the batteries.
The object sought to be obtained is therefore to aim from in-board at
an invisible target, the distance and direction of which are indicated
by the Captain. It is consequently necessary that he shall be so
placed as to obtain a distinct view of the enemy, or have suitable
observers to inform him of his exact position.
[87]320. In general, this sort of fire has been of little efficacy; but by
the aid of a simple implement, readily made on board ship, it is
believed that good results may be obtained, and particularly at night,
when firing from guns on covered decks is now absolutely ineffective.
It consists of a simple metal or wooden batten, sliding in two beckets
attached to the outer or inner sides of each of the brackets of the
carriage, retained in any position by a thumb-screw. This batten is
graduated by experiment or calculation for either the parallel or
converging fire, for such points on the bow, beam, or quarter, as may
be deemed advisable.
A small knob is screwed into the inner end of each batten, and a
cod-line provided, with a loop in each end, somewhat longer than the
width across the transom. If, then, one of the battens be drawn out to
the graduation representing the degree of train required, the line
stretched taut from the two knobs and hitched, and guns trained until
this line is parallel to a mark on the deck, or one of the seams of
the deck-plank—if they are parallel to the keel—the guns will all
make the required angle, and may be fired simultaneously or in
succession, as ordered.
[88]321. The principal object in view, therefore, is so to prepare the
training by anticipation, that when the smoke rises, or on sheering
the vessel, the enemy shall be visible to all the Gun Captains at the
same time; giving them the choice to fire at will, or on a given
signal, if simultaneous fire be desired.
It diminishes the great disadvantages of guns on covered decks, where
the Gun Captains can only with difficulty ascertain the direction of
the enemy; and places the whole battery more completely under the
control of the Commander.
322. The principal care of the Commander must be to keep his guns
always bearing on the enemy, and never pass the limits of extreme
train for all his guns, unless absolutely necessary in manoeuvring.
This he must regulate, either by one of the guns in his vicinity, or,
better, by the aid of a bearing-plate, a species of plane-table which
gives the angular bearing of the object.
323. Concentration of fire upon a particular part of an enemy’s vessel
may also be obtained by a general order for the guns to be aimed to
strike that part when visible, leaving the Captains of guns to
determine the proper time for firing, according to circumstances at
the moment. This obviates the objections due to simultaneous firing,
and would generally be equally effective at distances beyond
point-blank. In this, as in all other cases of firing at sea, success
depends mainly upon the skill, judgment, and coolness of the Captains
of the guns.
THE USE OF FUZES.
324. All spherical shells, except those for the 24 and 12 pdr.
howitzer, and all shrapnell, are fitted with the Navy time-fuze.
This fuze is composed of a composition driven in a paper case, and
then inserted in a metal stock which screws into a bouching fitted to
the shell.
The composition is covered with a safety-cap, which protects it from
moisture and accidental ignition; also with a water-cap of peculiar
construction, intended to protect the flame from being extinguished on
ricochet.
A safety-plug at the lower extremity prevents the communication of
fire to the powder in the shell, in the event of the accidental
ignition of the fuze after being uncapped.
325. It is strictly forbidden to show or explain to foreigners or
others the construction of any fuzes, except so far as may be
necessary for the service of the guns.
326. These fuzes are of 3 1/2, 5, 7, 10, 15, and 20 seconds time of
burning; which are supposed to offer a sufficient variety for most of
the exigencies of service. There are also supplied paper-case fuzes of
greater length, which, when used, are always to be inserted in metal
stocks.
All the Navy time-fuzes—paper case as well as metal stock—being
intended for use under a water-cap, burn a longer time in the open
air.
All shells, unless otherwise ordered, are fitted and issued from the
shell-houses with the 5-seconds fuze, which is to be regarded as the
general working fuze.
For greater or less distances this fuze may be drawn, and any of the
others substituted.
The Navy time-fuze is rarely extinguished by several ricochets on
water; and near the end of its flight, when fired direct, frequently
acts by concussion.
The fuze used should not be of longer time of burning than requisite
to reach the object; the shorter times are of quicker composition,
therefore more certain; also in firing on ricochet the shell may sink
short of the distance necessary for its explosion, and consequently be
supposed to fail.
327. For special firing, as for example at shore-batteries or masses
of uncovered troops, any of these fuzes may be shortened. To do this,
unscrew the water-cap and back the paper case out from the lower end
with a drift and mallet; cut off from the lower end with a fine saw,
or sharp knife struck with a mallet, the proportional part required,
and insert [90]the upper part in the stock, forcing it down with a few
gentle blows with the drift; screw on the water-cap. It is preferable,
however, when circumstances will admit, to take up such distance as
will correspond with the time of flight of one of the regulation
lengths. When firing against ships or earthworks, the fuze should be a
little longer than necessary, in order to reach the object before
bursting; but a little shorter when firing against boats or masses of
troops, in order to insure its bursting in front of them.
328. The Bormann fuze is fitted to the 24-pdr. and 12-pdr. howitzer
ammunition, and all shrapnell. It has also been fitted to certain
shells used for special firing. The length of fuze is the limit of the
distance within which this fire is effective.
This fuze is opened at the required number of seconds, by cutting
close to the right of the mark on the index-plate. The cut should be
made down to the plane of the table, in order to expose the
composition; and is best made at two or three efforts, instead of
trying to effect the cut at once. This fuze should be carefully
explained to the men, as shells have been taken from guns with the cut
made into the priming-magazine, which would explode them at the
muzzle.
329. There are also on trial for the rifled cannon the percussion and
time fuzes of Schenkl, Hotchkiss, Parrott, and others.
No reliable percussion or concussion-fuze has as yet been arranged for
spherical shells.
330. These fuzes will be exhibited and explained by the Ordnance
Officer on the application of Commanders of vessels, who, with the
Executive Officer and Gunner, are enjoined to make themselves
thoroughly acquainted with this most important part of the equipment.
331. Commanders of vessels will carefully note and report the
efficiency of all fuzes fired in action or exercise; giving the
elevation of the gun, the estimated or measured range, the number
fired, the name of the inventor, whether percussion or time, the
number of failures to explode the shell, premature explosions, and
satisfactory action. Great waste of ammunition is frequently
occasioned by an under-estimate of the distance.
332. The times of flight and length of fuze for all projectiles, so
far as ascertained at the Experimental Battery at Washington, are
given in the Table of Ranges, Appendix B.
333. The best effect of a percussion-fuze is obtained by firing into a
mass of timber. They frequently fail if fired into a bank of soft
earth, sand, or other material which does not offer a sufficiently
sudden resistance; also, if fired at high angles of elevation, owing
to the fact that the rifle-shells do not generally strike point
foremost.
[91]334. Time-fuzes are also very unreliable in rifle-guns; expanding
projectiles cut off the flame from the fuze.
With the Parrott shell, however, the Navy time-fuze is the most
certain of ignition and regular in its time of burning. The
safety-plug should be removed when the Navy time-fuse is used in
rifled cannon, as recent experiments show that it is a probable cause
of premature explosions of shells.
In testing the Navy time-fuse by the watch, or michronometer, the
safety-plug must be removed: otherwise the fuze will burn longer than
the time for which it is marked.
BOARDERS.
335. It is not supposed that any directions can be framed which will
entirely provide for all the various circumstances which may require
attention when about to board an enemy, or to repel a similar assault
made by an enemy upon our vessels.
The following general suggestions are, however, presented for the
consideration of Captains, in order that some degree of uniformity may
be preserved when other more important considerations do not prevent
it.
336. Upon the signal for Boarders, the divisions called should form on
the gangway of the side which is not engaged, properly armed, and
remain there until ordered elsewhere, provided there be time to make
this disposition of them. In all movements from one part of the ship
to another, cutlasses should be sheathed and pistols in the frogs. The
men of each division should be united as much as possible under their
own officer. Bayonets not fixed until ordered.
“PREPARE TO BOARD!”
(FROM ANY SPECIFIED PART OF THE SHIP.)
337. The Boarders should repair to the place directed, taking care to
keep themselves down so as not to be seen by the enemy, and form close
to the bulwarks, until the order is given to—
“BOARD THE ENEMY!”
338. The Boarders should then gain the enemy’s deck as quickly as
possible, keeping near enough to each other for mutual support, and to
act in concert against the opposing force, using every possible
exertion to clear the enemy’s decks by disabling or driving the men
below.
In case the intention of boarding should be discovered by the enemy,
and he collects his men to repel the attack, the marines and small-arm
men should take positions where they can best fire upon the men thus
collected; and, if possible, the spar-deck guns loaded with grape, and
howitzers loaded with canister, should be used for the same purpose
before the Boarders are ordered to make the attack.
So long as the contest is continued after boarding, the fire should be
kept up against the enemy from all the guns with as much vigor as the
number of men remaining at them will allow.
The guns should then be much depressed, in order that there may be
little or no danger to our own men. Much positive injury may be
inflicted on [93]the enemy in this way, besides the advantages of
dividing his attention at such an important moment.
If it should be necessary to repel Boarders from the enemy, the
Boarders and Pikemen must be called, and at the order—
“PREPARE TO REPEL BOARDERS!”
(AT ANY SPECIFIED PART OF THE SHIP.)
339. The Pikemen should arrange themselves in rear of those armed with
swords, and in situations which will allow them to rest the points of
their pikes on the hammocks or rail, and cover that part of the ship
and the parts where the assault is expected. The marines, with their
muskets loaded and bayonets fixed, may be formed behind the Pikemen,
or at any other place from which their fire on an assailing enemy may
be most effective and least dangerous to our own men.
340. The moment an enemy commences his assault, the order—
“REPEL BOARDERS!”
Should be given, and every effort made to prevent his gaining or
retaining any foothold in the ship.
It will, of course, be important to bring grape and musketry to bear
at once upon the enemy’s men when they are assembled for boarding, if
they should be discovered in time.
The men left at the guns must be watchful that the enemy does not gain
an entrance through ports or quarter-galleries.
341. In case the enemy should effect a landing on the decks, the pikes
may, from their length and the press of the contending parties, become
less efficient than the swords. Whenever this occurs, the sword must
be brought into full use, as the most efficient weapon for attack or
defence at such close quarters.
342. The howitzers, mounted on the field-carriage and charged with
canister, should be ready for use in case of the enemy’s getting a
footing on the spar-deck.
343. Unless induced by circumstances to attempt to board the enemy
first, the most favorable opportunity for attack will present itself
when his men have been driven back; and to guard against the
contingency of being repulsed, in all cases where the Boarders are
called to attack the enemy they are to be covered by the marines and
all the available small-arm men on deck.
344. The men, and especially the Boarders and Pikemen, must be
exercised and encouraged to practise with the single stick and sword,
as far as circumstances will allow.
GENERAL PRECAUTIONS
TO BE OBSERVED IN TIME OF WAR.
345. In time of war, unless otherwise ordered by the Admiral
commanding, every cruiser should at nightfall carefully extinguish all
lights not absolutely necessary, and shade all those that are
indispensable, that they may not be visible from out-board.
346. The watch on deck shall be mustered at their quarters, and the
guns so far cast loose as the state of the weather will permit.
347. The officer of the watch shall, on taking the deck, ascertain
that the means of making and answering signals and a competent
signal-man are always at hand. It is his duty to make himself fully
acquainted with all the day and night signals.
348. Before making night-signals, every light should be extinguished
or covered.
349. Particular care is required, when it is expedient to conceal the
lights of the ship, to look well to the cabin and wardroom lights.
Ports and air-scuttles there, are more apt to be imperfectly masked or
thrown open heedlessly by servants.
350. If in company with other vessels, two guns in each broadside must
always be ready for making signals of immediate or urgent necessity.
351. No vessel cruising shall allow a strange or suspected vessel to
come within gunshot, without the watch being at quarters and ready to
open fire.
352. It is the duty of the officer of the watch to immediately inform
the Commander of all suspicious movements which he may observe, or
which may be reported to him, and of all unknown vessels or boats that
may appear in sight.
353. Speed being one of the principal elements of military force,
Steamers will, on going into action, have all the fires lighted and in
condition to make steam.
The beat to quarters for action is therefore a signal to start fires
in all the furnaces not in operation.
354. If at anchor singly or in squadron in our own waters, in those of
an ally, or elsewhere within our right to exercise control, and where
liable to an attack by an enemy in any form, no strange or suspicious
vessel must be [95]permitted to be underway between evening gun-fire and
daylight. The nearest vessel must require her to anchor, and send an
armed boat to ascertain her character.
355. If the Senior Officer opens fire on any vessel, the nearest
vessel in a position to do so will also be prepared to fire to bring
her to, if signalled. All boats to be hailed and ordered alongside to
give the countersign, or to lay off on their oars to be visited by the
guard-boat.
356. If at anchor in or about an enemy’s waters, steam shall be kept
up at night at all times, sufficient to move the vessel at half speed
at least, and the engines moved certainly every hour, or oftener if
necessary, to keep them in a condition for immediate service. In
vessels with single engine, liable to be caught on the centres, means
for turning it off to be kept at hand, and suitable persons stationed
to attend to it.
357. The cable must be kept ready in every respect for slipping, with
a stopper forward of the bits, and even unshackled, if the weather
will permit, with a steady man stationed to slip or cut as may be
requisite.
358. Some of the guns, and those such as may be brought most
conveniently to bear upon the probable quarter of attack, must be
loaded with grape and some with canister, and ample supplies for
reloading be kept on deck. Appliances for extreme depression should be
at hand for broadside-guns; a gun here and there depressed extremely.
The Howitzers, on field-carriages, in place, and loaded with canister.
Pikes distributed about the decks ready for use.
359. Small vessels lying in rivers or sounds, and liable to be
attacked and carried by boarding, will have their boarding-nettings of
wire rope secured at evening quarters; the guns cast loose; the watch
completely armed and on the alert, and every preparation made for
instantly slipping and getting under way and repelling boarders.
360. At the hail by the look-out of “Boat ahoy,” without further
orders or the striking of the bell, the engine should be started
immediately, the slip-rope cut, and all boats are to be received
while under way and the crew at quarters.
361. It is important that the arms of the watch below should be as
accessible as possible, that no confusion may take place in case of
being summoned suddenly. The engineer and watch in the fire and engine
room must always be armed.
362. On dark, foggy, or hazy nights, no lights should be shown, nor
the bell struck or watch piped to indicate the position of the vessel.
The look-outs, increased and cautioned to greater vigilance, relieved
at [96]least hourly, and visited by either the Commander or Executive
Officer half hourly.
363. The safety of small vessels at night requires that they shall be
always either underway, or else in readiness to be got so at the
shortest warning.
364. If circumstances prevent this, the greater the necessity for
increased precaution and vigilance, and therefore a picket or advice
boat should be kept out in the direction from which attack may be
expected; and, indeed, the resort of picket-boats should be observed
whenever practicable and at all likely to be of service.
365. In case of sending away a boat that is to return before
sunrise—which is always to be avoided, if possible—a concerted
signal, such as a certain number of flashes of a light, preceded or
followed by the firing of a certain number of muskets, must be made at
the distance from the vessel of about one-half mile, the number to be
agreed upon for each night as the boat leaves the vessel. A
countersign is also to be given; but if not understood by the
look-out, he is to call out “Enemy,” at the same time warning the boat
to keep off, at which the vessel will be got underway at once.
366. The boat must be furnished with suitable and reliable fireworks
or other means for announcing instantly the approach of an enemy, and
no excuse can be taken for a failure on the part of the picket to give
the alarm. The capture of the picket-boat is a minor consideration.
367. When confident of being able to repel any force, the boat should
return to give timely notice for preparation; and in this case it may
be expedient to be prepared to light up the adjacent waters, to enable
an effective fire to be opened on the enemy from guns and howitzers.
368. Commanding Officers of vessels situated as described in Art. 359,
are required to practise their crews, by going on deck and hailing,
“Boat ahoy,” at least once a week.
The time taken for the execution of this order to be noted on the log.
369. In times of anticipated attack from rams or mail-clad vessels
upon a fleet or single ship, it is recommended to load the guns with
maximum charges and solid shot; but where there is doubt of the
character of the assailant, the guns should only be loaded with the
service powder charge having ready at hand shot, shell, shrapnell,
grape, or canister, as the case may demand.
DIRECTIONS IN CASE OF FIRE.
370. In the following directions, no other object is proposed than to
notice some of the more prominent and common preparations which may be
generally made, and the measures to be adopted in vessels on the alarm
of fire. The variety of circumstances under which that danger may be
presented can only be successfully met by properly stationed,
well-trained and disciplined men, judiciously directed by the Captain,
and superintended by officers whose coolness and presence of mind are
proof against every form and degree of danger, which alone will enable
them to adopt and execute the best plans the emergency may require.
To this end the Captain will, as soon as the crew is organized, cause
a Fire-Bill to be prepared, adapted to the particular arrangements of
his ship, and in accordance with these Directions, by which the crew
is to be drilled once a week till expert, and after that occasionally.
This fire-bill should, as far as possible, conform to the arrangement
for extinguishing fire during exercise at General Quarters. Much
confusion has been known to arise from requiring different duties from
the same person at Fire Quarters, and in case of fire when at General
Quarters.
371. Should the alarm of fire be given when the men are not at
Quarters, that alarm of itself is to be considered as a call to
Quarters, and the men must repair to their stations at once. This must
be impressed upon the men by the Division Officers. But the ordinary
call for inspection is to be given as soon as practicable, by way of
enforcing the order.
The alarm will be given by the sentinel near the bell, by ringing
quickly and loudly successive peals for ten or fifteen seconds, with
short intervals between.
The bell is to cease, however, as soon as the drum begins to sound the
call to Quarters.
Should it be deemed necessary to water and provision the boats,
preparatory to lowering them, the drum will beat the usual call for
provisions, when the men stationed for these purposes will promptly
proceed with their duties. In this case the shot shall be drawn or
discharged from the guns, to guard against accidents in leaving the
vessel, should it be impossible to save her.
372. The Captain will direct the Executive Officer, and such others as
he may deem proper, to visit the place of the fire, and to transmit
reports to him, by officers, of its character and extent, and to
suggest the measures which will most speedily and certainly subdue it,
or prevent its extension.
373. He will, if at sea, cause the ship to be hove-to, or steered in
such [98]direction as will be least likely to increase the activity of
the fire, or will best enable the men to use the means in their power
for controlling and extinguishing it.
374. If fire should take place in a ship at anchor in port or harbor,
his attention must be given to prevent the communication of the fire
to other vessels or combustible objects, and to have the cables ready
for slipping, boats ready, and, if advisable, springs prepared to
change the position of the ship, in order to prevent danger to other
vessels.
375. He will decide whether the magazines and shell-rooms shall be
flooded, and give orders accordingly; whether the hammocks shall be
brought up and stowed; where sentinels shall be placed, and what
disposition shall be made of the sick and prisoners.
If hammocks are to be brought up, each man not a Fireman, Pumpman,
Hoseman, Axeman, or Smotherer, or belonging to the Carpenter’s gang,
or detailed as a Sentinel over boats’ falls or spirit-room, will lash
and carry up two hammocks and stow them in the nettings on his way to
Quarters. Blankets, or other woollen materials, when wet, afford an
excellent means of smothering fire, and should be left out by the
party lashing up the hammocks and collected by the Smothering party,
in charge of an officer, whose duty it will be to see them properly
used.
376. The Officers of the respective divisions will enforce the
strictest observance of orders from those under their command, and
allow no one to leave his station, unless by express orders or
permission. At the same time they will direct the most trustworthy of
their men to perform any particular duty within their divisions which
may tend to check the spreading of the fire, or furnish the means of
extinguishing it.
377. Officers of gun-deck divisions will be prompt to detach, under
proper officers, men who may be directed for any particular service,
or who may be called from the guns by the calls for Firemen,
Sail-Trimmers, or Boarders. Should the call for Boarders be made in
case of fire, the men will answer it without any other arms than their
swords or battle-axes. Divisional Officers near the main or other
pumps, will cause the men of their divisions to aid in rigging and
working them. The ship’s buckets are to be passed up to the pumps, as
soon as possible, by the persons who may be stationed near them, and
these and the fire-buckets and division-tubs filled. The swabs are
also to be got up and thoroughly wetted.
Division-boxes, and all powder or explosive materials not in the
magazines, must be taken in charge by the Quarter-Gunners and placed
in the safest positions, ready to be thrown overboard if ordered.
378. The Officer commanding the Powder division will himself deliver
[99]the keys of the magazines, shell-rooms, and water-cocks to the Gunner,
his Mate, and the men stationed at the water-cocks, and see that they
are prepared to flood the magazines, if orders should be given to that
effect; but he must take especial care that the magazines, passages,
and shell-rooms are kept closed until orders to open them are received
from the Captain.
379. He will also take care that the air-ports are immediately closed,
and all other means adopted for diminishing currents of air,
especially if there should be a hope of confining the fire to the
lower parts of the vessel.
He will at once have the hose led from the bilge-cock, the cock
turned, and, if the forcing-pump or engine is worked below the
gun-deck, will see it manned and worked by some of the men of his
division.
380. The Master will cause windsails to be taken down; and, if set,
courses, spanker, and all lower sails hauled close up; head, channel,
and all other pumps which work on upper deck, and fire-engine, if on
deck, to be rigged and worked by the men of his division stationed
nearest to each of them. If practicable, sails, rigging, boats, spars,
and the sides of ship must be kept wet, and every exertion made to
furnish a full supply of water for extinguishing the fire.
Rigging-axes and battle-axes must be ready for use, in case they
should be wanted for any purpose.
381. The Chief Engineer will detail such Assistant Engineers and men
as may be needed to take charge of steam-pumps, to lead out hose, and
to use such other means of extinguishing the fire as may be ordered or
deemed advisable. If under steam, the main engine will be slowed on
the first alarm of fire, unless otherwise expressly ordered, and the
steam-pumps started.
382. The Surgeon and his assistants will be in readiness to destroy,
if required, all inflammable fluids, or other medical stores which
would increase the fire; and to superintend the removal, if necessary,
of patients who may be lame or confined to hammocks or cots.
383. Exercises, by order of the Captain, following false alarms of
fire, known only to him and the Executive Officer to be false at the
time of giving the alarm, may, it is believed, be resorted to with
advantage, especially at night.
Such alarms furnish the best means of ascertaining practically whether
the necessary preparations for extinguishing fire have been duly
attended to; and what degree of silence, calmness, and promptitude may
be expected from officers and men in repairing to their stations, as
well as in the performance of their duties in a real case of fire.
False alarms, frequently repeated, may perhaps lead some of the men
[100]to move slowly, under the impression that every alarm given is false,
and merely intended for exercise; and this impression may be
entertained even when a fire has actually taken place. This evil
would, however, be comparatively small, since it will be readily
admitted by any one who has witnessed the effect of a fire upon a crew
at sea, that the great difficulty in such cases is to obtain that
necessary quiet and orderly attendance at Quarters which is essential
to the success of all subsequent measures.
FOOTNOTES:
[4] Note:—In order not to incumber the text with details,
they are transferred to the “Notes on the Manual Exercise” (Art. 288
to 357), which are to be carefully studied. Also the notes to
Pivot-Gun Exercise.
[5] See notes on this command and the succeeding
one, “Load,” for further important details.
[6] With the nib-blocks the train-tackle cannot be used to
assist in securing the gun, unless a special eye-bolt is placed for
this purpose.
[7] When the trucks are to be brought into play, the levers
should be shipped on their axle-squares so as to heave upwards, past
the centre, and rest against the wood of the Carriage or Slide;
otherwise they must be kept in place by hand or by a pin, neither of
which entirely secures the Levers from flying back and doing mischief.
If hove down, they are apt to interfere with the Tackles.
In order to ship the Levers expeditiously on the proper square, both
are to be marked with a cold chisel.
The Fore Carriage-Levers require the efforts of two men at each, as
the weight of the gun has most bearing there; each of the other levers
is readily worked by one man.
[8] Principally to moisten the Sponge, which ought never to
be omitted, as there is nothing so effectual in extinguishing any
fragments that might remain burning in the Bore, and cause accidental
explosion in loading, particularly in blank firing. It is a mistake to
suppose that this practice increases the foulness of the Bore; on the
contrary, it prevents it from hardening and accumulating, as long
experience has shown. Sometimes it is convenient for the Spongers to
dip the Sponge alongside, and they soon acquire the habit. Superfluous
moisture is easily gotten rid of by twirling the Sponge at the
handle.
[9]
Were it practicable to hook a tackle so that it would
move the gun, even from amidships to the port, without being shifted,
or were it prudent to leave the gun free while shifting the tackle,
there would be no need of a second tackle. But it is not possible, in
pivoting, to exert direct action for more than the eighth of a circle
by one position of a tackle, and it is absolutely dangerous at sea to
leave the Slide unconfined for an instant. When, therefore, the
Outer-Tackle is a-block, the second tackle must be hooked and set
taut.
[10, 11, & 12]
These orders are to be executed in quick
succession, so as to be nearly simultaneous; that is, the compression
is first relieved by backing its lever, upon which the Front-Levermen
instantly bring the carriage on its trucks, and the gun is run back by
the In-Tackles, the Out-Tackles being eased gradually, so as to check
any violent movement; for the trucks, being fitted with friction
rollers, allow the heavy piece to move suddenly and rapidly.
[13] The pivoting of so heavy a Gun is the most complicated
of all the operations with it, and demands special drill. When done to
windward, the hearty effort of the whole Gun’s crew is required,
particularly if there be much crown to the deck and no deck circles;
to leeward there is no difficulty, and the time at sea to pivot from
side to side may vary from four to seven minutes. The advantage of the
Pivot-Boss will now appear, as it secures the coincidence of the hole
in Slide with that of the Socket, and permits the Bolt to be removed
out or in easily. Hitherto the difficulty of doing so without a Boss
has caused delay, and contributed more than any thing else to the
objections entertained against such heavy Ordnance, which have been in
nowise obviated by either the Pivot Shifting-Screws of our own Navy,
or the Pivot-Flap of the English Navy.
Some difference of opinion may arise in regard to the
shipping of these levers before the gun is run out, and they are
required for pointing. To ship them now amounts to having them on the
whole time—to which the only objection is, that if on, before wanted
in pointing they may be in the way of the men; and, on the other hand,
if not on, more attention may be demanded from 15, 16.
The question will not be material when the men are well drilled.
[15] The gun being now pivoted to the Port, the Breechings
should be shackled and the rear Pivot-Bolt drawn, in regular order.
But neither of these can be done without running out the gun a few
feet. For in order to pivot with the greatest ease, the carriage had
been previously run back on the Slide to the rear Hurter, so as to
bring the weight of the gun as near as possible to the Rear pivot, the
very best position being with the Trunnions of the Gun just forward of
the Rear pivot. The shackling of the Breeching and the removal of the
Bolt are, therefore, deferred until the Gun has been run out in the
subsequent proceedings.
The Breeching is always to be shackled to the Ship’s side—not to the
Slide, which needlessly strains the pivoting, and also causes the
shackle with its appliances to interfere with the working parts at the
forward end of the Slide.
[16] It is generally expected that the Compressors are to
supersede the necessity for a Breeching. But experience shows that in
firing it is better to rely habitually on the Breeching, and use the
Compressors to assist. Thus, in firing to windward at Sea, the
Compressors are always to be set, but only so hard as may be required
to ease the shock on the Breeching. In firing to leeward, the
Compressors are not wanted, except to secure the gun in its place when
in. When the Ship is not steady, but rolling, the discretion is to be
exercised.
The Preventer, or Inner Breeching, will be found indispensable to
avoid accident when running out to leeward in a sea-way. For with a
trained crew, and all precaution in handling the levers and
In-Tackles, there is a liability to the gun getting away, in which
case it moves out with great violence, and may do serious damage. On
one such occasion an XI-in. gun cracked the stout iron straps of the
Compressors, and seemed but just prevented from freeing itself
entirely and going overboard over the Port-sill. Not being able to
replace the Straps, the Compressors were useless till late in the
cruise. Preventer Breechings were then fitted, and answered so well
that the practice was continued at sea as usual. They now form part of
the equipment of all XI-in. guns, and should be just taut when the gun
is out, and the Trucks of the Carriage reach but do not ascend the
curve of the forward Hurter.
[17] This is to detach from the bottom of the Chamber the
fragments of burnt Flannel that are apt to adhere and solidify.
[18] This practice encumbers the deck, and interferes
materially at times with the management of the gun. Trial was
therefore made on board the Plymouth, where the gun was on a covered
deck, of hooks attached to the beams above, near each piece, in which
the Sponges and Rammers were placed after having been used. The only
objection was, that too much time might be lost in so doing; but after
continued trials this was found not to be the case, when the men had
been properly trained.
[19] Stopping the Vent is omitted by many practised
artillerists, as unnecessary in extinguishing fragments of the
cartridges. But as so much importance has been and still is attached
to its performance, and it costs so little trouble, it seems better to
continue the practice, particularly when so many accidents occur from
premature explosion, not only to untaught and careless people, in
saluting on holidays, but also on shipboard, where they ought not to
happen.
[20] Sometimes the box has been fitted too tightly to the
Shell, or has contracted on it, and delay is caused in loading. This
should be attended to in season.
[21] Otherwise the stout stuff and seams found necessary with
heavy charges might resist the primer, and cause a failure to explode
the powder.
[22] It was the habit at the Experimental Battery, and in the
experimental cruise of the Plymouth, to mark the handle of the
Rammer, so that there should be no doubt as to the charge being home.
This is always useful, but particularly so in case of the gun
bursting, as it makes sure of an important fact.
[23] It is a common practice in loading, to expend much zeal
in striking the cartridge one or two blows to insure its being home,
which is quite unnecessary when the mark on the handle affords so much
better evidence thereof.
[24] The XI-in. Shell weighs, when loaded, 135 lbs.; the
lifting and entering it into the muzzle was one of the objections of
those who were opposed to the use of heavy calibres. There was not one
of the crew of the Plymouths XI-in. gun who was not found able, on
trial, to take up the Shell and unassisted to put it in the Bore, when
the ship was still. At sea a very simple implement was used—an iron
segment with a bent handle on opposite sides. The Shellmen, 7, 8,
turned the shell out of the box into this ladle, placed on the deck
near No. 3, the Loader, who, when ready, took the left handle, and No.
5 (the 2d Loader) the right. These two lifted the Shell towards the
muzzle, and No. 4 (Sponger), standing on the Slide, received the
right hand from No. 5 as soon as within reach. No. 3, stepping on the
Slide, and No. 4 continued to raise the Shell to the muzzle, which was
not difficult, because of the Bore being conveniently high above the
Slide on which they were standing; the Sabot projecting beyond the
Ladle was entered into the muzzle, and the Shell pushed in, No. 5
taking the ladle back and laying it on the deck.
[25] As this is very firmly fixed in the recess of the metal
stock, it is to be removed by pulling directly on the tail, which, if
twisted, will be likely to break, and thus cause a loss of time. The
patch is passed to the Gun Captain, who puts it in his belt-box, and
is afterwards handed to the Quarter deck by the Lieut. of Division, in
order to verify the number of shells fired. When the Fuze has been
uncovered, care must be taken not to let it be touched by the moisture
of the hand, or by the sea-water.
[26] As the blow might dislodge the priming of the Fuze and
prevent its ignition. It is well to dispense with any wad, even a
grommet, if possible.
[27] A good exemplification of the principle assumed for this
exercise, that when any one of the men has executed an order, he shall
not remain in position until the order is given which requires him
elsewhere; for he may not have any part in the next order, or even in
that second next, as occurs after pivoting, when only a few numbers
participate in the following orders: Sponge—Load, the remainder only
doing so at the third following, viz.: Run Out.
[28] No operation with this gun requires more care. There is
a weight of 20,000 lbs. moving on friction Rollers along a metal
plate, down an inclined plane—if once permitted to get loose and to
be propelled by the motion of the ship, the momentum is immense, and
must disable some of the apparatus, perhaps the Gun-Carriage itself.
On such an occasion the preventer breeching is invaluable, and will be
the best safeguard, if fitted so that when well stretched it will not
permit the fore trucks to ascend on the curve of the Fore-hurter, for
it is this which strains the strap of the Compressor.
Permitting the gun to go out with much force also displaces the shell,
whether a grommet-wad be used or not.
[29] To windward, with a steady inclination, the precautions
used to leeward are unnecessary. On the contrary, the difficulty is to
move so great a weight up the inclined plane. Therefore, the carriage
is released from all restraint, and all the available force put at the
Out-Tackles, taking advantage also of whatever roll there may be to
windward.
[30] This must, of course, be regulated by circumstances, as
already mentioned in Note 10; as to windward, set the compressors
moderately; to leeward, not at all; off the wind, according to the
roll. Let the compression be so adjusted as to allow the muzzle just
to come in.
[31] It is an old custom for the Gun Captain to keep the
Priming-Wire in the vent while the loading is going on, feeling from
time to time if the charge is home. It is a bad practice, because
there is a liability of being caught by the charge as it comes along
the Bore, and having the wire bent, thus spiking the vent, for a while
at least. The mark on the Rammer handle is the best evidence that the
charge is in place. The object now is only to clear the vent of pieces
of cartridge stuff, which not unfrequently get into the vent, and
choke it so as to prevent the primer from exploding the powder.
[32] Though the primers seldom fail to penetrate the flannel
stuff of the cartridge, it is well to pierce the latter with the wire,
so as not to omit any means that may insure the instant discharge of
the gun.
[33] The Sight-Bar of the XI-in. Gun is graduated to its own
charge only; if reduced charges are ever used, it will only be at
short distances, when the gun needs no elevation. The Bar will then be
down entirely, its head resting on the Box.
[34] One turn of which is equal to one degree of the
quadrant, and may be of service when the Sight-Bars are not.
The carriages of Gun Sloops and other vessels carrying XI-in. guns
allow of an elevation of 20°.
[35] When the vessels are moving, it is best to train the gun
a little ahead, watching when the object draws in line; then, as the
roll brings the piece right in elevation, it is fired.
[36] Many officers are of the opinion that this order should
be divided—”Load with Cartridge,” and “Load with Shell.” But those
guns would be very badly served which should wait until this time to
give the order for the species of projectile or class of fuze
required. After “Load,” is the proper time to give subsidiary order
to Shellmen what projectile and length of fuze to bring for next
fire.
[37] “In 10,000 fires, when testing guns of different
calibres, with the regulation locks, less than fifty primers failed
from all causes.”
CHAPTER V.
RIFLED CANNON.
384. The rifled cannon at present in service are—
Parrott.
| Denomination. | Weight. | Charge. | Weight of Shell. | Weight of Shot. |
| lbs. | ||||
| 6.4-inch, or 100-pounder | 9,700 | 8 lbs. rifle. | 80 lbs. | 70 lbs. |
| 5.3-inch, or 60-pounder | 5,400 | 6 lbs. rifle. | 50 lbs. | 60 lbs. |
| 4.2-inch, or 30-pounder | 3,550 | 3¼ lbs. cannon. | 29 lbs. | 30 lbs. |
| 3.67-inch, or 20-pounder | 1,750 | 2 lbs. cannon. | 18 lbs. | 20 lbs. |
Dahlgren.
| Denomination. | Weight. | Charge. | Weight of Shell. | Charge. |
| lbs. | ||||
| 4-inch, or 20-pounder, bronze howitzer | 1,340 | 2 lbs. cannon. | 18 lbs. | 0.86 lb. |
| 3.4-inch, or 12-pounder, bronze howitzer | 880 | 1 lb. cannon. | 11 lbs. | 0.50 lb. |
Charges for Parrott’s Shell.
| 8-INCH. | 100-PDR. | 60-PDR. | 30-PDR. | 20-PDR. | ||
| lbs. oz. | lbs. oz. | lbs. oz. | lbs. oz. | lbs. oz. | ||
| Long | — | — | 3.4 | 1.8 | 1. | |
| Short | — | 3.11 | 2.2 | — | — |
Shell and Shot Gauges.
| 100-PDR. | 60-PDR. | 30-PDR. | 20-PDR. | ||
| Greatest | 6.36 | 5.27 | 4.17 | 3.64 | |
| True diameter | 6.35 | 5.26 | 4.15 | 3.63 | |
| Least | 6.33 | 5.24 | 4.14 | 3.61 |
[102]387. In the rifle-guns of Mr. Parrott, provisionally adopted, it is
intended to retain the full charge of powder which a smooth-bore gun
of the same calibre would have with a round shot. The projectile for
the rifled gun is to be usually ten times the weight of this
charge.[38]
388. To obtain greater initial velocity, projectiles of less than the
full weight have been provided—solid shot of 70 pounds for the
100-pounder, with the front end “chilled.” Such projectiles, though
not suited for long ranges, will be effective at 1,000 yards or less,
and are well calculated to act against oblique surfaces of iron.
389. The powder for the 100-pounder and 60-pounder should be of Rifle
(or, as formerly called, No. 7):—for the smaller calibres, 30-pounder
and 20-pounder, of Navy cannon powder. The cartridge-bags are the same
as those prescribed for similar calibres of smooth-bore guns.
390. The Parrott guns have been arranged for the use of a certain kind
of projectile, supplied by the inventor. These have reference not only
to the calibre and mode of rifling, but to the design of the gun
itself. For these reasons, the inventor objects to the use of any
other than his own form of projectile in the guns of his invention.
This request has been acceded to in the heavier calibres. The shells
of Schenkl and Hotchkiss have also been used, however, in the smaller
calibres.
It is not considered expedient to describe these projectiles, and it
is therefore directed that the Commander, Executive Officer, and
Gunner shall make themselves thoroughly acquainted with their
construction, and the percussion and time fuzes issued with them,
before sailing. The Ordnance Officer will furnish them with any
information on these subjects in his possession.
391. The projectiles consist of shells, shrapnel, and solid shot. All
rifled projectiles used in the Navy are of the expanding class; that
is, forced into the grooves by the action of the charge of powder, and
require no other precautions in loading than common spherical shells.
392. It is, however, essential—
1st. That the base of every rifle-projectile, especially the Parrott,
shall be thickly greased before entering it into the gun.
[39] For this
purpose common pork slush, prepared by several washings in hot fresh
water, may be used.
2d. That the bores of all guns shall be frequently washed, the
grooves [103]of rifled guns cleaned of all residuum and dirt, and a moist
sponge invariably used. After firing, the bore should be oiled with a
sponge.
The attention of Commanding Officers is especially called to this
requirement; and the Bureau desires that the action of Parrott’s and
other rifle-projectiles fired under the above conditions, may be
carefully observed and reported; for it is believed that nearly all
the failures of projectiles in actual service result from the grooves
being filled, after a few rounds, with a hardened residuum of powder.
393. It is also necessary that the shell shall be close home on the
powder, otherwise the necessary expansion will not take place, and the
shell will tumble immediately after leaving the gun, utterly
destroying its range and accuracy.
394. In order to be certain that the projectile is properly home, the
rammer-handle must be marked to indicate it.
395. It is very important that dirt, sand, or other foreign substances
should not be carried into the gun on the sponge or the projectile, or
by the wind in batteries on shore.
In using guns on shore, a canvas muzzle-bag, a soft wad, or a light
stopper of wood, suggest themselves as means of security during the
interval between loading and firing the gun. The cover or stopper
might be removed, or left to be blown away at each discharge.
The longer the interval above alluded to, and the higher the elevation
at which the gun is kept, the more important and necessary are these
precautions.
396. Much care is taken to give the projectiles uniformity of size;
and if the powder is of suitable quality, those now supplied will
almost invariably take the grooves. Should difficulty in this respect,
however, be experienced, it may be remedied by separating the brass
ring from the iron at three or four points of the circumference. This
should be done with a cold chisel, very slightly, and so as not to
interfere with the loading. It is only necessary to sever the contact
of the two metals.
397. As the projectile slides in the gun with very little friction,
particularly when greased, the gun should therefore be elevated and
eased out when firing to leeward, that the shot may not be started
from its seat. An experiment to test this, showed that running a
100-pounder out with the force of its crew against the forward hurter,
the gun being level, started the shot forward nearly two feet.
Placing a grommet or other wad over elongated projectiles is
positively prohibited.
398. The 100-pounder and 60-pounder guns being, respectively, of the
[104]calibres of the 32-pounder and 18-pounder spherical shot, and fired
with the same charges, these shot may be fired from them with
excellent effect, particularly on ricochet. The round shot should be
sewed up in canvas or felt, strapped to a sabot, or snaked between two
grommet-wads.
399. Both percussion and time fuzes are supplied for these rifle-guns.
When the object to be fired at presents a sufficient resistance, such
as masses of timber or earth, ships, or solidly-built houses, the
percussion-fuzes alone should be used from rifled cannon. They will,
however, frequently fail to explode the shell at long ranges, owing to
the shell not striking on its apex; or, if fired into loose earth,
which checks its momentum too slowly to make the plunger strike with
sufficient force.
400. It has been observed that time-fuzes burn with greater rapidity
in shell thrown from rifled cannon. Being in front, they are subjected
to greater pressure from the air. A similar effect is produced when
the fuze is confined under a water-cap, as in the naval time-fuze.
401. The fuze-holes of the heavy shells are cast larger than the
diameter of the regular fuze-stocks of the navy, which can, however,
be used with the aid of a bouching or an adapting ring, always sent
with the shells.
This bouching has heretofore been made of cast zinc. Others with a
flange and washer and the thread cut are now supplied, and the use of
the old rings is prohibited.
402. If it be desired to explode the shell in front of or in the midst
of a body of troops, or after having penetrated some resisting
obstacle, the time-fuze should be used. This is the only fuze to be
used with shrapnel.
403. The Vent is made in a bouching of pure copper screwed into the
gun. In the largest calibres the interior orifice is lined with
platinum.
The upper portion of the copper in naval guns is replaced by steel, to
obtain a harder surface for receiving the blow of the hammer. The
steel is three-fourths (3/4) of an inch thick.
A new vent can be readily put in, after getting out the old one,
without injury to the screw-thread. This can be done by boring out the
bouching with a drill, which leaves a thin shell containing the
thread. Into the hole thus made insert a square mandrel about four
inches, driving it lightly; by wrenching it, a portion of the shell of
the bouching can be detached and removed by unscrewing. This may be
repeated, and the whole of the old copper removed. The screw-thread is
then to be cleaned out, and the new vent-plug screwed in.
404. Sights.—These consist of a fixed sight upon the right rimbase,
and a brass movable sight placed in a socket which is screwed into
the [105]rear of the reinforce at the breech of the gun. The movable sight
is furnished with a sliding eye-piece, and is graduated up to 10°. The
eye-piece is also capable of lateral adjustment to allow for the drift
as far as 10°, and for the effect of the wind. It is desirable that
the sights should be placed on both sides of the breech; otherwise, in
firing from a port at extreme train, there is a considerable loss of
lateral aim. Furthermore, with the sight on the right rimbase, it is
not convenient for the 2d Captain to attend the screw without
interfering with the aim.
405. These guns are all rifled to the right, by which it is understood
that the upper surface of the projectile is made to turn from left to
right, the observer looking from the breech towards the muzzle of the
gun.
406. Drift.—This is a deviation caused by the direction of the
rifling, is always to the right when uninfluenced by the wind, and is
to be allowed for.
407. The drift is in practice confounded with the deviation produced
by the direction and force of the wind, which may either annul or
increase it, according to whether it blows from right or left across
the line of fire. At long range it is also necessary to consider the
motion of the vessel across the line of fire. Suppose this to be at
the rate of six knots, and the gun is elevated 15°, the time of flight
would be by the Tables, 18 sec., while the deviation arising from this
cause would be upwards of 60 yards. It is therefore of great
importance that the Captain of the gun shall be carefully instructed
in making this adjustment of the eye-piece.
408. Elevating Screw.—To obtain readily the changes of elevation
necessary in the use of rifled cannon, the heavier calibres are made
with very small preponderance, and are supplied with an elevating
screw which is attached to the carriage at the lower end, while the
nut is connected with the cascabel of the gun. Both screw and nut
admit of movements by which the screw can take any position required
in the various degrees of elevation. The parts should be allowed a
certain amount of play; if binding is prevented, it is believed that
the evident advantages of the screw may always be obtained.
409. Ranges and Time of Flight.—So far as ascertained, are contained
in Table VII., Appendix B.
410. Precautions to be Observed.—In the use of these rifled cannon,
it is of the utmost importance that all the directions relative to the
lubrication of the shell, its being close home, charge and kind of
powder used, and lining of the shells, shall be carefully observed.
Many premature explosions of shells having taken place in these guns,
which are attributed to various causes, such as,—defects of metal,
porosity, [106]faulty fuzes, concussion and friction of the powder within
the shell,—it is ordered that, on the occurrence of a premature
explosion or rupture of a shell within the gun, it shall be
immediately washed out and a careful examination made of the interior
of the bore, by the mirror and by taking impressions in wax (see
Mode of Taking Impressions, p. 16, Part III.), and all the
circumstances of the case reported to the Bureau, specifying the kind
and calibre of the shells, kind of fuzes, the charge and kind of
powder, with its manufacturer’s name: and,
Were the shells filled completely, and with what kind of powder?
Were the shells coated inside with any kind of composition?
Are any cracks or marks of scoring visible in the bores?
In rifled cannon, cracks or injuries produced by firing, or the
rupture of shells, are to be sought for—thus,
1. Around and in rear of the vent-bouching.
2. On the top of the bore, between the trunnions and reinforce-band.
3. On the lower side of the bore, near the seat of the shot,
at the junction of the lands and grooves.
4. Near the inside of the muzzle, caused by explosion of shells.
Although shells have been frequently ruptured in the guns without
leaving any visible traces of injury, yet they may be developed after
a certain number of rounds. Thus, in proving a gun at West Point, a
shell exploded in the gun at the second fire: on examination, no
traces of injury could be perceived; but, on a re-examination of the
gun after the tenth fire, a fine transverse crack was discovered in
the rear of the vent, extending two-thirds round the bore. It is
therefore important that frequent examinations shall be made, even if
no apparent injuries exist, as it is the opinion of the inventor of
the guns that the principal, if not the only cause of failure of these
guns in service, is due to the rupture of shells within the bore.
Experiments have been made, and are still in progress, which appear to
show that these premature explosions may be to a great extent
obviated, if not altogether prevented, by lining or coating the rough
surface of the interior of the shell with a smooth and elastic
coating.
All rifle-shells, except those for howitzers, before being issued for
service, shall therefore be lined or coated on the interior with a
mixture composed of—
16 ounces of soap—common yellow, not salt-water soap.
7 ounces of tallow.
7 ounces of rosin.
The tallow should be melted first, then melt and add the rosin, and,
lastly, the soap, bringing the mass to a heat that will make it very
fluid.
The shells having been first thoroughly cleaned, fill them about
one-third full of the composition, roll them slowly so as to spread
the mixture over the [107]whole interior surface, and then pour off the
residue. This coating should be about five-hundredths (0.05) of an
inch in thickness, and is expected, from a series of experiments made
for the purpose, to prevent the premature explosion of shells in the
bores of rifled guns.
The Bureau further directs that hereafter the charge of the
100-pounder, or 6.4 inch, Parrott rifle, shall be reduced to eight (8)
pounds of rifle, or No. 7 powder, and that only the short shell or
solid shot, not exceeding eighty (80) pounds weight, and spherical
projectiles, prepared as directed in the Circulars of February 24th
and July 6th, 1864, be used in this gun.
411. Exterior Dimensions of Boxes Containing Parrott’s Projectiles.
| Long. | Wide. | High. | ||
| Inches. | Inches. | Inches. | ||
| 100-pounder, short | 1 | 18¾ | 8¾ | 8¾ |
| 60-pounder, short | ||||
| 30-pounder, containing | 10 | 25¼ | 11 | 15¾ |
| 20-pounder, containing | 10 | 25¼ | 10 1/2 | 13 |
412. Hotchkiss’s Projectile for 20-pounder and 12-pounder Howitzer.
| 20-pounder, containing | 5 | 24 | 12 | 6 1/2 |
| 12-pounder, containing | 10 | 20 | 9 | 9 |
413. Schenkl’s Projectile for 20-pounder and 12-pounder Howitzer.
| 20-pounder, containing | 5 | 24 | 14 | 7 |
| 12-pounder, containing | 10 | 22¼ | 9 1/2 | 11 1/2 |
414. J.A.D. Projectile for 20-pounder and 12-pounder Howitzer.
| 20-pounder, containing | 3 | 15 | 12¼ | 7 |
| 12-pounder, containing | 5 | 19 | 10¼ | 6 |
FOOTNOTES:
[38] Owing to the recent accidents which have taken place
with these guns, the 150-pounder has been withdrawn from service, and
the charge of the 100-pounder provisionally reduced to eight (8) lbs.
of Rifle powder, and the short shell of eighty (80) lbs. only is to be
used.
[39] The Schenkl, Hotchkiss, and some other projectiles, have
a small quantity of grease attached.
CHAPTER VI.
MONITORS.
The diagram represents the interior arrangement of the turret of the
Monitors for the long and short XV-inch guns.
NOMENCLATURE.
E. Position of Engineer stationed at bar to revolve turret and train guns.
F. Compressor-wheel to check recoil, hove taut before firing.
G. Crank for running gun in and out.
H. Smoke-box of XV-inch (Passaic class).
O. Officer at sight-hole.
P. Port-hole.
R. Port-stopper.
S. Sight-hole.
416. In the Passaic class the ports for the XV-in. gun are only of
sufficient dimensions to allow the passage of the shot at such
elevations and depressions as were judged necessary: the gun being
fired entirely within the turret. In order to protect the crew of the
gun from the blast of the explosion, the smoke-box was devised, which
to a certain extent accomplished the desired object, but at the
expense of rapidity of loading.
417. In designing the Tecumseh class it was decided to enlarge the
port, so as to allow the face of the muzzle to run out flush with the
exterior of the turret. The gun was therefore lengthened sixteen (16)
inches, and the muzzle turned down to the minimum size.
418. The contracted space within the turret rendered it necessary to
introduce additional mechanical aids in lieu of manual labor in
running out, loading, and checking the recoil.
D. Van Nostrand Publisher.
Julius Bien, pr.
[109]419.
The exercise therefore conforms to the established exercise for
great guns only as far as circumstances will admit.
The gun is supposed to be run in, and not loaded.
WORDS OF COMMAND.
I. “Provide the Gun!”
II. “Serve Vent and Sponge!”
III. “Load!”
IV. “Prime!”
V. “Elevate!” (or Depress).
VI. “Run Out!”
VII. “Train!”
VIII. “Ready—Fire!”
IX. “Run In!”
X. “Secure!”
MANUAL EXERCISE.
(RIGHT GUN.)
II. “SERVE VENT AND SPONGE!”
421. Gun Captain serves, then stops the Vent. No. 3 passes to left of
muzzle. No. 4 receives the moist Sponge-head from 6, and, assisted by
3, enters it in the Bore and forces it down as far as the first
section. No. 6 passes the successive sections of the staff to 4 as
needed, and receives them from him as the sponge is withdrawn.
After the sponge is withdrawn, Captain serves the Vent with his
priming-wire, and again closes it.
III. “LOAD!”
422. No. 4 receives Cartridge from 5, to whom the box has been passed
by 13, assisted by 3, enters it in the Bore; receives Rammer-head and
successive sections from 6, and, assisted by 3, rams home. Nos. 3 and
4 fall back from the muzzle. Gun Captain serves the Vent to feel if
the Charge is home.
Nos. 3 and 4 return the rammer.
Nos. 7 and 8, 11 and 12 whip up Shot (or shell), as has been
previously ordered. Nos. 11 and 12 choke luff of whip. Nos. 7 and 8
run shot (or shell) to the muzzle. No. 5, assisted, if necessary, by
No. 6, bears over, when 3 and 4 enter and ram home by sections.
No. 4 removes Patches and passes them to 7, who hands them to Gun
Captain.
IV. “PRIME!”
423. Gun Captain again makes sure that the Vent is clear. No. 2 primes
with priming-powder from a flask or a blank musket-cartridge.
V. “ELEVATE!” (OR DEPRESS).
(Always done before running out.)
424. No. 2 handles lever of Elevating screw under the direction of the
Officer of the piece, who sets the trunnion-sight at the proper degree
of elevation and clamps it there. When the bubble of the
trunnion-level is in the centre,—”Well.”
Nos. 3 and 4 lift the muzzle by a section of the rammer-handle; the
preponderance not being sufficient to overcome the friction of the
trunnions in the cap-squares. No. 3 passes to the right of the muzzle.
VI. “RUN OUT!”
425. Nos. 7, 8, 11, and 12 man Truck-crank to run out. Nos. 9 and 10
ease compressor. Nos. 3, 4, 5, and 6 man port-tackle: as muzzle
approaches port-stopper, “Open Port!”
As soon as the gun is out, Nos. 11 and 12 unship truck-crank and place
it clear of gun-slide. No. 9 to Compressor-wheel, which he heaves hand
taut. No 10 ships ratchet-levers and heaves well taut.[40] Gun Captain
inserts percussion-primer.
VII. “TRAIN RIGHT!” (OR LEFT).
426. The officer of the gun sights through sight-hole, and orders
“Right!” or “Left!” as the muzzle is to go. The Engineer at the
starting-bar revolves the turret.
No. 1 to lock-string; when the object comes in view, Officer of piece
gives order.
D. Van Nostrand Publisher.
Julius Bien, pr.
VIII. “READY—FIRE!”
427. Gun Captain pulls lock-string. No. 3 lets go port-tackle. No. 5
closes port. Engineer revolves the turret so as to point the gun
abeam. (This gets the scuttle clear for passing up ammunition.)
If necessary,
Nos. 11 and 12 ship crank, and, with 7 and 8, run the gun in; Nos. 9
[111]and 10 easing compressor. No. 10 ships ratchet-lever to ease
compressor, No. 9 easing it further by hand. The gun is now ready for
loading, and the exercise proceeds as before.
428. The exercise of the left gun is in all respects the same, except
that Nos. 3 and 4 exchange duties.
429. The crew of the XV-in. gun consists ordinarily of 14 men, but the
gun may be readily worked by 8 men; indeed, some officers prefer the
smaller number as being equally efficient, giving more room in the
turret, and affording the very great advantage of relief crews during
a protracted engagement. The same remarks apply to the XI-in. gun.
Working XV-in. by Half-Crew.
“SERVE VENT AND SPONGE!”
430. No. 1 stops vent. 3 passes to left of muzzle. 5 passes
sponge-head and sections as required to 3, and assists in sponging.
“LOAD!”
431. No. 13 receives passing-box at scuttle and holds it to 5. 5
receives cartridge from 13, enters it in muzzle, passes rammer-head
and sections, and, assisted by 3, rams home. Gun Captain serves the
vent, 3 and 5 falling back.
Nos. 9, 11, 13, and 15 whip up shell and attend it to muzzle.
Nos. 5 and 3 steady shell and enter it in muzzle.
No. 5 removes patch, passes it to 7, who hands it to 1.
Nos. 5 and 3 ram home by sections as before.
“ELEVATE!”
432. Nos. 3 and 5 raise muzzle by section of rammer.
No. 1 tends elevating screw.
“PRIME!”
433. No. 1 serves vent and primes with powder.
“RUN OUT!”
434. Nos. 7, 11, and 15 man crank.
No. 9 eases compressor.
Nos. 3, 5, and 13 open port.
When out,
No. 1, Gun Captain, inserts percussion-primer.
No. 11 unships crank.
No. 9 heaves compressor hand taut.
No. 15 ships lever and heaves well taut.
The gun is trained as before.
“FIRE!”
Nos. 7, 11, and 15 man crank, and 9 eases compressor. The above is
given for the 1st part of gun’s crew; for 2d part substitute next high
numbers in each station.
SHELL AND POWDER DIVISION.
436. To the Shell and Powder Division is assigned the most laborious
and difficult of all the duties—that of keeping up a supply of
projectiles.
437. It is therefore necessary to have it strongly manned, and a
system of frequent reliefs for all the important stations,
particularly in the magazine and shell-locker.
438. There are required three gangs of four each for the passage of
projectiles: one to whip them out of the hold, or shell-room; a second
to pass them to the door of the turret-chamber; and a third to pass
them to the scuttle and adjust them in the bearer. When working with
half-crews, the third gang assists at the shell-whip, the fall being
dropped down to them.
439. The XV-in. passing-box requires two men to carry it to the
turret-chamber.
440. The allowance of projectiles can only be determined by the
character of the service expected, and the stowage capacity of the
vessel, which is limited to about 150 rounds per gun for sea-service.
441. By reason of the contracted space in these vessels, all shell
should be filled, and all powder must be made up into cartridges.
442. All XV-in. shell shall be fitted with three fuze-holes, and
issued for service fuzed with 3 1/2, 5, and 7 seconds fuzes.
443. When the distance of the object is known to be less than the
range of the shortest fuze, and time will admit of doing so, uncap all
the fuzes. At other times uncap the fuze suited to the distance, and
the one of longest time of burning.
FOOTNOTES:
[40] The compressor-shaft should be marked as a guide to No.
1 to know when compressed sufficiently.
CHAPTER VII.
MORTARS.
TITLES OF MORTAR CREW.
(See Diagram 1.)
No. 4. First Sponger and Trainer.
No. 5. Second Loader, Front Eccentric Trainer.
No. 6. Second Sponger, Front Eccentric Trainer.
No. 7. Left Circle Eccentric Trainer and Shell-carrier.
No. 8. Right Circle Eccentric Trainer and Shell-carrier.
No. 9. Left Circle Eccentric Trainer and Shell-hoister.
No. 10. Right Circle Eccentric Trainer and Shell-hoister.
No. 11. Rear Circle Eccentric Trainer and Shell-hoister.
No. 12. Rear Circle Eccentric Trainer and Shell-hoister.
No. 13. Powder-man.
During exercise or action, Nos. 9, 10, 11, and 12, in addition to
their other duties, will hoist up shell from below.
IMPLEMENTS AND EQUIPMENTS.
| Articles. | Where they are placed. |
| Handspikes. | Two on each side of the bed against the cheeks, leaning upon the manoeuvring-bolts, the ends towards the vessel’s sides, and those of the front handspikes even with the front of the cheeks. |
| Haversack. | Containing fuzes, and a pair of sleeves, attached to the tompion. |
| Tube-pouch. | Containing the priming-wire, friction-tubes, and lanyard, attached to the tompion, and lying on the mortar. |
| Gunner’s Pouch. | Containing gunner’s level, gimlet, vent-punch and chalk, attached to tompion. |
| Quadrant. Plummet.Scraper. Wiper. Shell-hooks. |
In a basket between the cheeks of the mortar-bed. |
| Tompion. | In the muzzle. |
| Quoin. | Under the mortar upon the bolster, with handle to the left. |
| Maul. Wrench. Pincers. Broom. |
With the basket. |
Directly over each mortar must be rigged a gun-tackle purchase-whip,
with seven-inch block, to whip up and lower the bomb into the mortar.
One empty bomb and one empty cartridge-bag must be ready for drill.
D. Van Nostrand Publisher.
Julius Bien, pr.
MANUAL EXERCISE.
XIII-in. Mortar.
WORDS OF COMMAND.
I. “SILENCE!”II. “CAST LOOSE AND PROVIDE!”III. “TRAIN!” (RIGHT OR LEFT).IV. “SERVE VENT AND SPONGE!”V. “LOAD!”VI. “ELEVATE!”
VII. “PRIME!”
VIII. “READY—FIRE!”
IX. “MORTAR FRONT!”
X. “SECURE!”
The exercise commences with the supposition that the Mortar is secured
fore and aft, but not loaded.
I. “SILENCE!”
(Diagram 1.)
447. At this preparatory order the strictest silence is to be
observed.
The Captain faces the breech, the men on the right and left stand
facing the mortar; all fix their eyes on the Captain, and attentively
wait for orders.
II. “CAST LOOSE AND PROVIDE!”
(Diagram 2.)
448. 1st Captain commands; sees his mortar cleared and cast loose;
canvas covers taken off; Eccentric Bars in their place; Train-Tackles
overhauled and placed fore and aft on deck; Shell-whip hooked into
mast-head span; small shell-hooks moused on lower block of shell-whip;
Shell-tongs ready for use; Grommet for resting shell on deck at hand;
basket of implements on deck to the rear of mortar; Tompion taken out
and placed to the rear; sees that there is a Gunner’s Quadrant and
plumb-line in the basket; a boring-bit between beckets; a breeching
and tackle, if it should be wanted; buckles on his waist-belt,
furnished with a primer-box; equips himself with a priming-wire and
lanyard; places elevating lever on the right side of mortar ready for
use.
2d Captain gets basket of implements and spirit-level from the Gunner;
places basket on deck to the rear of the mortar; screws spirit-level
to trunnion, and adjusts it to an angle of 45° with the axis of the
bore.
[116]No. 3, First Loader, removes mortar-cover; takes out tompion and
places it to the rear of mortar-circle, out of the way; provides
grommet for resting shell on deck; gets scrapers and spatulas out of
basket.
No. 4, First Sponger, assists in removing mortar-cover; gets his
sleeves out of basket and puts them on; provides an empty
cartridge-bag for wiping shell.
Nos. 5 and 6, Second Loader and Second Sponger, hook shell-whip into
mast-head span, and bring it perpendicular over the bore; mouse small
shell-hooks on to lower block; get breechings and tackles ready for
hooking; ship front eccentric bars.
Nos. 7 and 8, Shell-carriers, get shell-tongs for carrying shell;
assist in shipping eccentric bars on their respective sides of circle.
Nos. 9 and 11 overhaul left train-tackle to its full length, and place
it on deck fore and aft, near the ship’s side; ship left circle
eccentric bar, and place lever for carriage-eccentric on the circle,
butt to the front, and close to the side of carriage.
Nos. 10 and 12 execute the same duties on the right side of the
mortar.
Nos. 11 and 12 also ship rear eccentrics.
Nos. 9, 10, 11, 12, hook tackles for hoisting shell from below.
No. 13, Powder-man, repairs to the proper scuttle for his passing-box,
returns, and stands a little to the left and in rear of the circle.
III. “TRAIN!” (RIGHT OR LEFT).
(Diagram 3.)
449. Nos. 5, 6, 7, 8, 9, 10, 11, and 12, throw circle eccentric into
gear, and pin eccentric bars down. Nos. 5 and 6 then hook double
blocks of train-tackles into circle on their respective sides. All the
crew, except Nos. 1 and 2, will bowse on train-tackles, until the
mortar is in the desired direction, when the order “Well!” will be
given by No. 2, who attends spirit-level and trunnion-sight.
At the command “Well!” Nos. 5 and 6, 11 and 12 will unhook their
respective blocks and lay the train-tackle fore and aft on deck, near
the ship’s side; Nos. 5 and 6, 7 and 9, 8 and 10, 11 and 12, throw the
circle eccentrics out of gear.
IV. “SERVE VENT AND SPONGE!”
450. 1st Captain inserts his priming-wire and clears the vent. No. 3
scrapes the chamber and bore, removes scrapings with the spoon. No. 4
takes the empty cartridge-bag and wipes out the mortar, then uses the
sponge to thoroughly cleanse the chamber and bore; as soon as this
operation is [117]performed, the Captain again serves the vent. Should
there be any fire or dirt pushed down, the sponging will be repeated.
V. “LOAD!”
451. The Powder-man, No. 13, goes to the scuttle for a cartridge, and
brings it to No. 3 (always passing on the side not engaged), who
empties it carefully into the chamber, keeping the cartridge-bag in
his hand, to be used in wiping the shell before it is lowered into the
bore. No. 4 takes spatulas, levels off the powder, and calls out
“Shell!” which is brought to the front of the mortar by Nos. 7 and 8,
Shell-carriers, and landed in the grommet, which has been put in its
proper place by No. 5. Nos. 5 and 6 hook shell on and whip it up; when
high enough, No. 3 calls out, “High!” wipes it clean with empty
cartridge-bag, and, assisted by No. 4, steadies it over the bore; it
is then lowered carefully upon the charge, keeping the fuze exactly in
the axis of the bore. No. 4 then removes the paper covering and
exposes the priming of the fuze, handing the covering to No. 2, as an
evidence that it has been removed. After an exercise or an action,
these paper coverings will be compared with the account kept by the
Officer having charge of the Powder Division. Nos. 3 and 4 now step
down on deck, ready to assist in training, should any be required.
VI. “ELEVATE!”
452. The 2d Captain, having adjusted the trunnion-sight[41] to a given
angle with the axis of the bore (usually 45°), orders “Raise” or
“Lower;” and at the same time the 1st Captain inserts the elevating
lever through elevating loop, on to ratchet, and raises or lowers
according to direction from 2d Captain, who will give the word “Well!”
when the mortar has its proper elevation.
VII. “PRIME!”
453. 1st Captain inserts his priming-wire to ascertain that the vent
is clear; takes a friction-primer, raises the loop nearly in line with
the spur, hooks it on his lanyard and inserts the primer into the
vent, being careful that the lanyard has been led through the loop at
the rear of mortar-carriage for that purpose; then retires to the rear
of mortar to the full length of the lanyard, and gives the word.
Officer in charge takes station to watch the effect of the bomb, which
shall be recorded in a suitably ruled note-book.
VIII. “READY—FIRE!”
454. At the word “Fire!” the Captain pulls the lanyard with a quick
draw: there should be a pause of about two seconds between the words
“Ready” and “Fire,” in order to allow every one time to retire to the
rear.[42]
IX. “MORTAR—FRONT!”
455. Nos. 1 and 5, on the left side, Nos. 2 and 6, on the right side,
step on the circle; take carriage eccentric levers and throw
eccentrics into gear; withdraw the lever from the sockets, and insert
them into holes in the wheel, and heave the mortar-carriage up against
the front hurter; throw eccentric out of gear; place levers on the
circle close to Brackets, butts forward, and retire to their stations.
X. “SECURE!”
(Diagram 1.)
456. Train fore and aft, face of mortar forward, throw circle out of
gear; 1st Captain stops vent; 2d Captain unscrews spirit-level. Nos. 3
and 4 put in tompion, put on mortar-cover, put scrapers, spoons,
sleeves, and empty cartridge-bags into basket. Nos. 5 and 6 unhook
shell-whip and coil it up on the lower step of carriage; put small
shell-hooks into basket; put grommet between brackets of carriage;
coil up breeching-tackle, and put it on the lower step of carriage;
secure the mast-head span to the rigging; unship front circle
eccentric. Nos. 7 and 9 coil left train-tackle on the circle, left
side of carriage, unship left circle eccentric bar. Nos. 8 and 10 coil
right train-tackle on the circle, right side of carriage, unship right
circle eccentric bar. Nos. 11 and 12 coil shell-tackle on the circle
in rear of carriage; unship rear circle eccentric bar. Eccentric bars
to be placed on the circle in the following manner: left and front
bars, on left side of brackets; right and rear bars on the right side
of brackets. Nos. 7 and 8 put shell-tongs on circle to the rear of
carriage. 1st Captain puts his lanyard and priming-wire into the
basket, which, together with the spirit-level, is carried to the
Gunner by 2d Captain; the crew then resume their stations as at
“Silence.”
MAGAZINE AND SHELL-ROOM.
457. Vessels specially constructed for mortar purposes have
regularly-built shell-rooms, while others, fitted for temporary
service, have merely spaces set apart, which should be protected by
screens fitting tightly to the beams and deck, with tubs of water
always at hand during practice, and likewise wet swabs laid to cut off
trains of powder.
458. Before the vessels leave port, every thing must be arranged in
the magazines for the rapid and safe transmission of ammunition to the
mortars, and any deficiencies should be promptly reported to the
Officer commanding the division, and by him to the Officer in charge
of ordnance.
459. The Officer in command of each vessel is to be present at the
embarkation of the ordnance, to stow and check the lists.
460. All the implements accompanying the mortars are to be kept in
lockers used solely for that purpose, and under the charge of the
Gunner or his mate.
461. The full service-charges for the mortars will be sent on board
ready filled in white cotton bags, and their transmission from the
magazines will be in leather passing-boxes.
462. The powder is to be emptied into the mortar, the bag well shaken
and beaten over the lee-side to remove dust and fine grains of powder,
and the bag placed in the rear to wipe out the mortar-chamber after
every round.
None of these bags should be returned to the magazine during the
action, as the loose powder would be likely to form trains.
463. Large tubs of water are to be kept near the magazines, with
buckets at hand to drown the cartridges, or to extinguish fire; and
every precaution taken to cut off trains of powder with wet swabs.
464. The forward part of the vessel above decks will be used as the
most convenient place for cutting or preparing fuzes, and a heavy
screen, spread tent-fashion, should be rigged to protect the fuzes
from fire from the mortars, or rain.
In filling shells, the Gunner and two assistants will be detailed for
this purpose, besides the men stationed to pass powder from the
magazines.
All fire and lights must be put out when the magazine is opened for
action.
465. In firing against the wind, the flame is thrown back in-board;
therefore care should be taken beforehand to wet the sides, decks, and
rigging of [120]the vessel; the sails covered with tarpaulins; and men
stationed with buckets to put out fire.
466. One hundred bombs are at all times to be kept ready filled in the
shell-room.
A vessel properly organized ought to throw at least 20 bombs an hour;
but should circumstances prevent, the mortar may be properly served if
even one bomb can be filled before the previous one is fired.
467. A beech plug must be temporarily put in the fuze-hole of the bomb
when filled; and the men who fill cartridges and charge the bombs are
to wear flannel sleeves and magazine-shoes.
468. When ranges are desired to be obtained by reduced charges, the
measuring and filling of the cartridges must always be done in the
magazine, no matter how inconvenient it may be; and the utmost
exactness is to be observed in filling the powder-measures and
levelling off the top, as an ounce of powder makes an important
variation in the range of the bomb.
469. Extra cotton bags are to be provided to receive the reduced
charges, which are to be stowed in half barrels.
470. Every precaution that suggests itself to the officers in command
to prevent accidents, should immediately be put in force, and a
memorandum of the matter transmitted to the Ordnance Officer of the
squadron.
GENERAL RULES AND OBSERVATIONS.
471. To estimate the distance by the bursting of a bomb, where the
flash can be seen, multiply the number of seconds which elapse between
it and the sound of the report by 1,100, and the product will be
nearly the distance in feet.
472. The officer in charge of a mortar must always note the time of
flight and distance, by the above rule, for every bomb that is fired,
and likewise note when the report is not heard from the bursting
charge.
473. When going into action for a bombardment, the fore-rigging must
be come up on the side where the mortar is to be used, the
fore-topmast sent down, foresail unbent, boom and gaff laid on deck,
rigging lashed in close to the mast, head-sails to be thoroughly
wetted, spring on the cable, boats lowered from the side davits, and
all the hatches covered with tarpaulins.
474. The broadside-guns must be kept ready for action, and muskets
loaded and at hand, in case the squadron should be attacked by the
enemy’s gunboats.
475. Besides bombs, various other projectiles are fired from mortars,
[121]such as carcasses, which are shells having three holes of similar
dimensions to the fuze-hole, pierced at equal distances apart in the
upper hemisphere, with their exterior openings touching the great
circle which is perpendicular to the axis of the bore.
476. These carcasses are placed in the mortar in the same manner as
the bomb, and are filled with inflammable mixtures, and should be
transported in a vessel by themselves, as they are dangerous
companions. Thirteen-inch carcasses weigh 194 pounds each.
477. Bombs are sometimes fired with a port fire stuck into the
fuze-hole, which is an almost certain mode of igniting many kinds of
buildings.
478. Mortars can also be fired with a bag of one-pound balls, or
ordinary grape-shot, with very reduced charges, and a wad between the
powder and the balls. One pound of powder will project a 200-lb. bomb
302 yards; the same weight of grape-shot thrown in among boats would
prove destructive; and especially a lot of canister fired in this
manner would cause great havoc.
479. It is not expected, however, that much execution could be done
after the first discharge in a fleet of boats moving rapidly; but
combined with the batteries of the Squadron, it is presumed that an
enemy would be deterred from an attempt to capture a vessel by
boarding.
TAKING THE DISTANCE.
480. An inexperienced officer will find difficulty in estimating
distances by the eye alone, as it requires long practice and studied
observation. The sextant, however, offers a surer method of
approximately fixing a position by taking the angles between any three
points, which are generally found to be accurately laid down on the
Coast Survey charts; then plotting the angles with a horn protractor,
or working them out by the three-point problem, which is given in all
surveying books.
481. If the object to be assaulted is a large one, a practical man
can, by the exercise of moderate judgment after two or three fires,
throw the bombs near the work; but, at the same time, the sextant is
the more certain means for determining the true distance, and the
Officer in command should make himself acquainted with the simple
manner of measuring horizontal angles.
482. If points are not visible in line, then measure a base on shore,
angle on the object to be aimed at, and from the angles of the
base-line, you can fix the position of the mortar-vessel.
483. When a vessel once gets her position accurately determined, and
it [122]becomes necessary after a bombardment to remove out of the line of
battle, a small buoy with the vessel’s name or number should be
dropped under foot, so that the same position may, if necessary, be
resumed.
LOADING MORTARS.
484. After the powder has been emptied through the funnel out of the
cotton bag into the chamber, the bomb, loaded and fuzed, is to be
carefully lowered into the bore by the hooks, and allowed to rest upon
the charge.
485. The friction-tube is not put into the vent until the piece is
about to be fired.
FUZES.
486. The wooden fuzes used at present for the 13-inch bombs are in
sections, and marked according to the estimated distance in practice,
viz.:
Seven inches extreme length; and each section one inch, giving a
flight for every section of seven seconds, and a total of forty-nine
seconds.
487. The plugs are of the proper size for the fuze-hole; the axis
bored cylindrically from the large end down, to within a short
distance of the small end, which is left solid; the orifice is filled
with composition pressed hard and evenly as possible. At the large end
a cup is hollowed out and filled with mealed powder moistened with
alcohol.
488. The rate of burning is ascertained by experiment, and marked on a
water-proof cap, which is tied over the cup.
489. A fuze-saw must be at hand during practice to cut the fuze the
required length.
490. Fuzes for sea-coast mortars are also driven in a conical paper
case, which is inserted in a metal or wooden plug previously driven in
the fuze-hole and accurately reamed out.
491. The paper-case fuze is marked with the number of seconds it burns
per inch, and it may be cut, where no danger from ignition can take
place, with a sharp knife.
PROCESS OF FILLING BOMBS.
492. Having been inspected to see that they are clean and dry, place
the bombs on a block made for the purpose, or on grommets of rope, or
on the ground, with the eyes up. The charge, having been carefully
measured, is then poured into the chamber through a funnel, while, at
the same time, the fuze is cut to the proper length by resting it on a
groove made in the block, and sawing it across. The fuze is then tried
in the hole, and should enter 3/4ths of its length; if it does not, it
must be reduced by rasping.
493. The head of the fuze having been covered with tow to prevent
[123]breaking the composition, the fuze-setter is placed on it, and the
fuze driven with the mallet until the head is about 2/10ths of an inch
above the surface of the bomb.
POINTING MORTARS.
494. First give the elevation by applying the quadrant to the face of
the piece, and adjusting the quoin or ratchet until the required
number of degrees is obtained.
495. In pointing mortars on shore, it is an easy matter to get the
direction, because the mortar is stationary; but on shipboard, owing
to the motion, it is attended with difficulty, especially when the
vessel is rolling and the line of fire can only be approximate.
496. On shore, the plan of giving the direction is to determine
practically two fixed points, which shall be in a line with the piece
and the object, and sufficiently near to be readily distinguished by
the eye. These points being covered by a plummet, is the vertical
plane including the line of metal, which becomes the plane of fire.
497. In mortar-vessels other expedients are resorted to, such as
trunnion-sights, or a white line painted on the mortar-bed parallel to
the axis of the bore when level; but the first plan is preferable.
498. The circles on which the mortars stand being fitted with
eccentrics, are made to revolve so as to point the mortar at the
object without the trouble of swinging the vessel or moving the mortar
round with handspikes.
499. Before firing, care must be taken that the eccentrics are thrown
out of gear, and the circle flat upon the platform on which it
revolves.
TABLES OF CHARGES, ELEVATIONS, AND RANGES FOR 13-INCH MORTARS.
Charges For 13-Inch Mortar-Bombs.
| Charge. | 13-Inch. |
| lbs. oz. | |
| Of shell filled | 11 0 |
| To burst shell | 6 0 |
| To blow out fuze | 0 6 |
| Ordinary service-charge | 7 0 |
| Incendiary, match, or other composition | 0 8 |
Ranges with Sea-Coast 13-Inch Mortars, 20° Elevation.
| Charge. | Mean Time of Flight. | Least Range. | Greatest Range. | Mean Range. |
| Lbs. | Seconds. | Yards. | Yards. | Yards. |
| 4 | 8. | 840 | 877 | 869 |
| 6 | 9.5 | 1209 | 1317 | 1263 |
| 8 | 11.66 | 1653 | 1840 | 1744 |
| 10 | 12.50 | 2010 | 2128 | 2066 |
| 12 | 14.25 | 2369 | 2688 | 2528 |
| 14 | 15.25 | 2664 | 2780 | 2722 |
Ranges with 13-Inch Mortars, at 45° Elevation.
Weight of Shell, 200 lbs.
| Charge. | Flight. | Fuze. | Range. | ||
| Lbs. oz. | Seconds. | Inches. 10ths. | Yards. | ||
| 7 | 21.4 | 4 | 2 2/3 | 2190 | |
| 7 | 8 | 22.4 | 4 | 4 | 2346 |
| 8 | 23.2 | 4 | 6 | 2480 | |
| 8 | 8 | 23.8 | 4 | 7 1/2 | 2600 |
| 9 | 24.4 | 4 | 8 3/4 | 2734 | |
| 9 | 8 | 24.9 | 4 | 9 3/4 | 2853 |
| 10 | 25.4 | 5 | 1 | 2958 | |
| 10 | 8 | 25.9 | 5 | 1 3/4 | 3026 |
| 11 | 26.3 | 5 | 2 1/2 | 3150 | |
| 11 | 8 | 26.7 | 5 | 3 1/2 | 3246 |
| 12 | 27.0 | 5 | 4 | 3327 | |
| 12 | 8 | 27.4 | 5 | 4 3/4 | 3404 |
| 13 | 27.7 | 5 | 5 1/2 | 3470 | |
| 13 | 8 | 28.0 | 5 | 6 | 3552 |
| 14 | 28.3 | 5 | 6 1/2 | 3617 | |
| 14 | 8 | 28.5 | 5 | 7 | 3681 |
| 15 | 29.0 | 5 | 8 | 3739 | |
| 15 | 8 | 29.1 | 5 | 8 1/4 | 3797 |
| 16 | 29.2 | 5 | 8 1/2 | 3849 | |
| 16 | 8 | 29.4 | 5 | 8 3/4 | 3901 |
| 17 | 29.6 | 5 | 9 | 3949 | |
| 17 | 8 | 29.8 | 5 | 9 1/2 | 3997 |
| 18 | 29.8 | 5 | 9 3/4 | 4040 | |
| 18 | 8 | 30.0 | 6 | 4085 | |
| 19 | 30.2 | 6 | 0 1/4 | 4123 | |
| 19 | 8 | 30.3 | 6 | 0 1/2 | 4160 |
| 20 | 30.5 | 6 | 1 | 4200 | |
Table of Allowances.
Subjoined is a list of articles which are indispensable for the
service required, and must be kept in readiness at or near every
mortar, in some secure position:
SPARE ARTICLES.
| Cap-squares | ||
| Eye-pins | ||
| Keys for pintles, large | 2 | |
| Keys for pintles, small | 2 | |
| Washers | 2 | |
| Bolts, traversing | 4 | |
| Bolts, dog | 4 |
FOOTNOTES:
[41] If the Spirit-Level should be damaged, he will apply the
Gunner’s Quadrant to the face of the mortar.
[42] To lessen the shock of the discharge and the concussion
on the ear, the crew should be instructed to stand on their toes at
the moment of firing, keeping at the same time their mouths and ears
open.
CHAPTER VIII.
MISCELLANEOUS OPERATIONS.
GETTING IN GUNS ON COVERED DECKS.
504. After bracing the yard over the port through which it is intended
to take the guns, secure the lizard round the yard five or six feet
outside of the ship, and hook the top burtons just outside of the
lizard.
Haul taut, and bring an equal strain on the burtons and lifts. Hook a
rolling-tackle on the opposite side of the yard, bowse it well taut,
and the trusses also, if they be of rope. Pass the end of the pendant
of the gun-purchase through the thimble of the lizard; take the end up
and make it fast round the top-mast, just above the lower cap. Have
the port lined with pine boards, to keep it from being chafed.
Bore a hole in the deck or decks through which it is intended to pass
the garnet, as nearly as possible over the rear end of the
gun-carriage, and as near in line with the centre of the port into
which the guns are to come as the beams will allow. Pass the upper end
of the garnet through the hole, and turn in the thimble, to which hook
the pendant-tackle. Place a tackle across the deck ready for bowsing
the gun into its carriage through the port.
Bring the gun under the yard and sling it as follows: place one bight
of the slings under the neck of the cascabel, and pass the lashing
which is attached to the slings round the chase, at such a distance
from the trunnions as will allow them to go into the trunnion-holes
without bringing too great a pressure of the slings against the upper
port-sill. Then toggle or hook the gun-purchase to the outer bight of
the slings, and sway away. When the breech of the gun is above the
port-sill, hook the garnet and the thwart-ship-tackle to the cascabel,
and bowse on both. When the slings bear hard on the upper port-sill,
lower the gun-purchase, and bowse on the garnet until the breech is
high enough for the trunnions to clear the cap-square bolts in the
carriage; then bowse on the thwart-ship-tackle until the trunnions are
over the trunnion-holes, lowering the purchase as required to bring
the gun into its place.
[129]As each gun is mounted unhook the purchase and garnet, take off the
slings, run the carriage to its proper port, and place another for the
next gun.
TAKING IN GUNS OVER ALL.
505. Sling the gun slightly breech-heavy, to render it more
manageable. If it is to be mounted on the spar-deck, place the
carriage in the gangway; if on the main-deck, close to the main
hatchway on that deck. In place of the garnet, hook the stay-purchase
for lowering the gun into its carriage.
GETTING OUT GUNS THROUGH PORTS.
506. Secure the yard as in getting in guns, and sling the gun in the
same manner. Hook the garnet and haul it taut, so as to raise the
breech of the gun as much as the port-sill will permit; hook or toggle
the gun-purchase, and sway away. As soon as the trunnions are clear of
the carriage haul it from under the gun, ease away the garnet, and let
the gun go out the port. As soon as the gun is perpendicular to the
purchase, unhook the garnet and lower the gun into the lighter, or on
the wharf, as the case may be.
If the gun is to be taken out over all, the stay-tackle is to be
substituted for the garnet, only it is to be hooked to the same end of
the slings as the gun-purchase, and the lashing on the slings is to be
passed around the chase of the gun, as near the trunnions as possible,
without being in the way of the brackets.
MANNER OF USING THE GRIOLET PURCHASE FOR DISMOUNTING OR MOUNTING GUNS
ON COVERED DECKS.
507. In practice, guns are rarely shifted from one carriage to another
during action: it is only during a cessation of firing. While the
action is going on, the crew of a disabled gun are more usefully
employed in replacing the killed and wounded. Furthermore, spare
carriages are not so numerous as to permit this operation to be
performed frequently. Nevertheless, each gun’s crew should be
thoroughly exercised, in order to develop their strength and skill.
508. The gun is to be run in, in the direction required to bring the
muzzle under the housing-bolt, and the breech under the hole bored in
the deck to receive the screw-bolt of the upper block of the
breech-purchase. This hole should be bored through the plank in the
deck, as nearly abreast the middle of the port as the beams will
allow, giving the block room to play clear of the beams and carlings.
With a gun’s crew of twelve men the operation may be performed as
follows:
[130]At the word “Stand by to dismount!” the Quarter-Gunner of the division
on the deck above that in which the gun is to be dismounted removes
the screw-tap, and stands ready to place the washer, key and un-key
the bolt of the breech-purchase block.
All the numbers, except 1, 2, 3, and 4, man the train-tackle.
No. 1 gives the word “Run in!”
While the gun is coming in, Nos. 1 and 2 remove breeching from jaws of
cascabel, and 7 and 8 remove it from side-shackle. Nos. 1 and 2 throw
its bight over the reinforce. No. 1 removes sight-bar and screws up
the thumb-screw firmly.
When the gun is in position—Nos. 1 and 2 adjust upper and lower block
of breech-purchase and secure the latter with the cascabel-pin. Nos. 3
and 4 chock fore-trucks, provide muzzle-purchase, and, assisted if
necessary by 5 and 6, adjust its upper block. Nos. 5 and 6 unshackle
breeching from ship’s side, and shove toggle-block of muzzle-purchase
into the bore and back it to the breech-purchase.
Nos. 7 and 8 un-key and throw back cap-squares and choke luffs of
side-tackles, or, if rolling deeply, hitch them round the straps of
the blocks.
Nos. 9 and 10 provide breech-purchase and assist 1 and 2 in adjusting
it.
No. 11 chokes luff of train-tackle, or hitches it, if required;
provides and hooks tackle of muzzle-purchase; belays and lowers.
No. 12 provides and hooks tackle of breech-purchase; belays and
lowers.
These preparations made, all the numbers man the breech-tackle fall,
or divide themselves to bowse upon both falls together, as the
position of the gun in the battery may render either mode most
convenient.
At the word “Dismount!” the gun is swayed out of the carriage.
Nos. 3 and 4 attend chocking-quoins, and 11 attends train-tackle, if
required.
All the numbers, excepting 11 and 12, who attend purchase-falls, move
up to their ordinary stations for serving the gun, unhook
side-tackles, and remove the old carriage, under the direction of No.
1: and—
At the word “Mount!” the same men bring the new carriage into position
for mounting.
At the word “Lower!” Nos. 11 and 12 lower the gun into its place; all
the numbers then proceed, respectively, to reverse what they had done
in dismounting.
Guns on covered decks may also be dismounted by means of a
muzzle-lashing, the runner and the train-tackles, assisted by the
handspikes.
The gun is run in and laid square under the housing-bolt, the bed and
quoin removed, the muzzle elevated and secured as in the housing
position; then, after un-keying and throwing back the cap-squares, the
breech is bowsed up clear of the carriage by means of the
train-tackle, hooked in the [131]eye of a runner, the block of which hooks
in an eye-bolt in the beam over the gun. If preferred, this mode of
dismounting may be adopted by substituting the muzzle-lashing for the
toggle-block of the griolet, and toggling the runner-block in the hole
made in the deck for the breech-purchase of the griolet.
THROWING GUNS OVERBOARD.
509. The gun’s crew being assembled at Quarters, remove the pin and
chock from the cascabel, into the jaws of which place a selvagee
strap; hook the double block of the train-tackle into the housing-bolt
over the port, and its single block into the selvagee strap; remove
the cap-squares, and place a round block of wood on the sill of the
port, high enough to let the chase bear on it when slightly depressed;
raise the breech as much as possible, without lifting the gun out of
the carriage. When all is ready man the train-tackle well; have the
handspikemen also ready to assist in raising the breech; and if the
vessel is not rolling, it will be well to have additional handspikes
under the rear of the carriage to lift it also, so as to give free
egress to the gun. When all is ready, give the order: “All
together—launch!” In a gale of wind advantage should be taken of a
favorable roll to give the word, that the action of the sea and of the
men at the guns may be simultaneous.
If the guns are to be thrown overboard for the purpose of lightening a
ship which is aground, they must be buoyed, and care is to be taken
that each buoy-rope is of a proper length and strong enough to weigh
the gun. The best mode of securing the buoy-rope to the gun is to form
a clinch or splice an eye in the end which goes over the cascabel, and
take a half-hitch with the bight around the chase of the gun, and stop
it with spun-yarn.
The buoy must be sufficient to float the rope when saturated; or, in
deep water, a smaller line may be used for the buoy, and attached to
the rope intended for weighing the gun, that it may be hauled up when
wanted.
PART II.
EQUIPMENT AND MANŒUVRE
OF
BOATS.
EQUIPMENT AND MANŒUVRE
OF
BOATS.
EQUIPMENT OF BOATS.
WHEN DIRECTED TO BE MANNED AND ARMED FOR SERVICE.
1. Boats must be provided according to the time of absence and nature
of the service they are to perform, keeping in view the details
prescribed in Table (Article 5).
The number and class of Boat-Howitzers are assigned by the Bureau of
Ordnance.
2. When boats manned and armed are ordered, the Officers detailed to
command them will see that they are thus furnished, and report when
the boats are ready. They will also see that all articles are safely
returned, or duly accounted for, when the boats return to the vessel.
If the boats are directed to assemble alongside of any particular
vessel, the officers must report as they arrive there. If signalled
alongside of the ship of the Commander of the Squadron for exercise or
for inspection, they are to be inspected, if he shall so direct, by an
Officer appointed by him, whose duty it shall be to report those which
may be particularly well prepared, and those which he may find
deficient in equipment or arrangement, specifying particulars.
3. Whenever the Howitzers are to be used in boats they must be fitted
for the purpose as directed in “Exercise and Manœuvre of
Boat-Howitzers;” their crews being armed with swords and revolvers.
4. Boarding-parties are to be supplied with swords, revolvers, and
rifles loading at the breech, with filled cartridge-boxes.
TABLE OF BOAT EQUIPMENTS, ARMS, AND STORES FOR EXPEDITIONS
DETAILS OF THE FOREGOING TABLE.
FIXTURES IN BOATS FOR BOAT-GUNS.
6. Two eye-bolts on each bow, to receive the hooks of the skid; two
cross-pieces, of yellow pine, to bear the carriage, so as to carry the
muzzle of the howitzer just above and clear of the gunwale and stem.
One piece of yellow pine scantling, placed lengthwise and amidship,
mortised into the rear cross-piece to sustain the carriage in
sweeping.
MOVABLE PIECES.
7. Six pivot plates and bolts—one at the stem, one at the stern, one
at each bow, and one on each quarter; two light wooden tracks to lay
along the thwarts for the wheels of field-carriages and the slide of
boat-carriage; one midship wheel-track for the trail of
field-carriage; two stout skids, each fitted at one end with two
hooks, and connected at the shore end by an iron brace.
The chocks with rollers at the stem and stern posts of launches, are
arranged to be removed when the gun is used.
8. Implements for Shifting the Howitzer from Boat to Field-Carriage.
One muzzle-block.
One selvagee strap.
One shifting-spar.
One short iron or wooden bolt, to keep the piece on the right slue.
9. Implements, complete, for Serving and Working the Howitzer.
Breeching for boat-gun, if deemed necessary.
Lock with lock-string.
Elevating screw.
Sight.
Priming-wire.
Boring-bit.
Vent-cloth.
Sponge and rammer.
Sponge and rammer spare.
Spring-spike.
Rat-tail file.
Haversack, with strap, for Captain of howitzer, to contain a
supply of primers, spare fuzes, spare lock, vent-bit, vent-cloth,
and implements for spiking; leather ammunition-pouches for each
of the men of the field-gun, except Nos. 1 and 3, to be supplied
by the Quarter Gunner, with one round of ammunition each, and two
primers, when the order to land is given.
Drag-rope, fitted with hooks and handles.
[7]
Trail handspike.
A rope, or chain, to lock the wheels in descending slopes.
Transporting-boxes.
AMMUNITION.
A chest containing shrapnel.
A chest containing shell.
A chest containing canister.
These chests are of two sizes; the single, holding nine, and double,
eighteen rounds.
A key is becketed to each box for unscrewing the lid.
Cutting-tool for opening the Bormann fuze, one in each box of shell
and shrapnel.
FOR SMALL ARMS.
11. Cartridge-boxes and belts, furnished with cartridges and
percussion-caps, screw-driver, cone-key, and wiper.
An empty powder-tank for magazine, to contain filled cartridge-boxes
and spare cartridges.
SMALL ARMS.
12. Breech-loaders, in loops or brackets, under the gunwale of the
boat, protected by a water-proof canvas covering, running round the
rising of the boat.
Rifles.
Revolvers.
Swords.
Boat arm-chest.
A good tarpaulin to cover ammunition.
PROVISIONS.
Pork. To be cooked if there be time.
Bread, in water-proof bag.
Cheese, or canned meats.
Fresh water, in breakers; always to be used for ballast when ballast
is required.
Fuel and kindling.
UTENSILS AND ARRANGEMENTS FOR COOKING.
Launch-stove and utensils.
Mess-kettle.
Funnel.
Bucket.
TOOLS AND ARTICLES FOR REPAIRING DAMAGES.
Axe, One for each boat.
Hatchet, One for each boat.
Hammer, One for each boat.
Hand-saw, One for each boat.
Nails, 2 pds. for each launch; 1-1/2 pds. for each large cutter; and 1 pd. for each of the rest.
Sheet-lead, 3 square feet for each launch; and 2 square feet for each cutter.
Tacks (number), 100 for each launch; 75 for each large cutter; and 50 for each of the rest.
Marlinspike.
Spun-yarn.
Grease.
MISCELLANEOUS ARTICLES.
Boat ensign.
Set of signals for boat of Senior Officer.
Boat-compass.
Spy-glass.
Lead and line.
Lantern.
Candles.
Tinder-box, with flint and steel.
Fishing-lines and hooks.
FOR TREATMENT OF SICK AND WOUNDED.
Tourniquets.
Bandages.
Lint.
Medicines.
Surgical instruments.
BOAT-GEAR.
Masts.
Spars.
Rigging.
A set of oars, fitted with trailing-lines long enough to allow them to trail alongside in the water.
Three boat-hooks.
[9]
Spare oars, with trailing-lines, for one thwart.
Cranes on the gunwale to hold spars and spare oars, raised sufficiently high above the gunwale (9 inches) to allow the oars
to be got out or trailed. The spars thus arranged form a considerable protection against musketry.
Small thrum-mats for muffling oars when required.
Anchor.
Chain or rope.
Hand-grapnels, fitted with a fathom of light chain, and five fathoms of line.
Sails.
Awning and stanchions.
Tent awning. (See Drawing.)
N.B.—In order to avoid delay and confusion when boats are called away
for service, it is recommended that the articles required by the
foregoing lists should be kept separately in the store-rooms, in
convenient packages for stowage in the boats and protection against
the weather. The contents of each package must be marked on it,
together with the name of the boat for which it is intended.
Particular attention should be paid by the Executive Officer of the
vessel to the best and most compact stowage of all articles required
for boat expeditions, which will, necessarily, vary according to the
size of the boat and the nature of the service she is to perform. The
occasions will be very rare when all of these articles are required at
the same time.
FORM OF EXERCISE AND MANŒUVRE
FOR THE BOAT-HOWITZERS OF THE UNITED STATES NAVY.
NOMENCLATURE.
19. The Cascabel is the part of the gun in the rear of the base-ring;
and is composed of—
The breech-plate.
The knob.
The neck.
Base-ring.
Cylinder.
Chase.
Loop, with hole for bolt.
Lock-lugs.
Mass-sight.
Mass for breech-sight.
The Bore includes all the part bored out, viz.:
Cylinder of bore.
Chamber.
These guns must not be polished bright.
BOAT-CARRIAGE COMPLETE, consists of—
Bed.
Slide.
Compressor-plate.
Compressor-bolts.
Compressor-handles.
Lugs for loop.
FIELD-CARRIAGE COMPLETE, consists of—
Axle.
Trail.
Braces.
Supports for transporting boxes.
Lugs for loop.
Trail-wheel or runner.
Bolt for trail-wheel or runner.
Socket for handspike.
Elevator.
[11]
Disk of elevator.
Box for elevator.
D. Van Nostrand Publisher.
Julius Bien, pr.
D. Van Nostrand Publisher.
Julius Bien, pr.
EXERCISE OF THE BOAT-HOWITZER.
20. While preparations are in progress for clearing out the boats, the
Officer of each boat will see that the howitzer, and its various
equipments, are also in readiness. The Junior Officer or Officer of
the piece will attend to the gun itself and its carriages.
The Quarter Gunner will get up the ammunition from below; also the
lock, sights, sponges, spare fuzes, ammunition-pouches, and primers.
Spare article box.
This will be the proper time for examining the shrapnel and shells,
which must receive the particular attention of the Officer who is to
command the boat.
The Captain of the gun will look after the traverses, tracks, and
pivot-plates.
The Coxswain will have ready the thwarts, oars, masts and sails.
When the boat has been cleared for hoisting out, lay the thwarts and
traverses, and bolt the pivot-plates on the bows and quarters; if the
stem and stern pivot-plates interfere with the purchases, they can be
secured after the boat is in the water. If the field-carriage is to
accompany the gun, lay the wheel and trail tracks.
In a sea-way, it may be better to place the howitzer in the launch,
laying it athwartships, and bolting the two ends of the slide into the
bow pivot-plates, which will hold it perfectly firm.
As a general rule, the howitzer is not to be handled separately from
one of its carriages. It may be hoisted into the launch on either
field or boat carriage, as circumstances may dictate.
When the boat-carriage is preferred, sling it with a stout strap
passed through the loop-lugs and brought up round the gun, into which
hook the purchase; previously shove the bed a little towards the rear
end of the slide, so that the carriage will hang square, and set the
compressors tight.
When the boat has been hoisted out, the howitzer, its ammunition, and
equipments, should be stowed in it conformably to the requirements of
the occasion.
Ordinarily, the howitzer may be placed in the bow on its
boat-carriage, bolted to the stem-pivot; the field-carriage aft, with
its wheels resting on the floor of the stern-sheets and bearing
against the after thwart; the trail laid over the quarter-rail, so as
not to interfere with the steering; and the ammunition stowed in the
stern-sheets, or elsewhere, as may be most convenient for trim of
boat, or for its own preservation.
[12]These arrangements can be subsequently changed as circumstances may
require.
The Captain of the howitzer slings his haversack and deposits in it a
supply of primers, a vent-bit, and vent-cloth, which are handed to him
by the Quarter Gunner.
The equipment of the boat will be much facilitated by assigning to
each man special duties of preparation and providing articles.
As the bow-oars cannot well be pulled when the howitzer is mounted in
the bow, Nos. 1 and 2 do not ordinarily assist at the oars.
STATIONS.
21. For 20 men the stations in the boat and at the howitzer will be as
follows; if fewer are employed, the higher numbers are to be omitted:
| BOAT. | HOWITZER. | ||
| Stations. | Duty. | ||
| Quarter Master, | Stern-Sheets. | Signals and assists with ammunition. | |
| Quarter Gunner, | Ammunition. | Ammunition. | |
| Cockswain, | Helm. | ||
| Chief of Piece, | Bow. | Superintends the firing. | |
| Port. | Starboard. | ||
| 1. ——— | Bow-oar. | Captain of howitzer, points and fires the gun, superintends orders, and gives orders in absence of an Officer. |
|
| If the lock and sight are on left side Captain will take station on port side. | |||
| 2. Bow-oar. | ——— | 2d Captain, tends vent and primes. | |
| 3. ——— | 2d oar. | Sponger, sponges and pushes home charge. | |
| 4. 2d oar. | ——— | Loader, receives and enters ammunition. | |
| 5. ——— | 3d oar. | Tends forward compressor. | |
| 6. 3d oar. | ——— | Tends after compressor. | |
| 7. ——— | 4th oar. | Train rope. | |
| 8. 4th oar. | ——— | ||
| 9. ——— | 5th oar. | ||
| 10. 5th oar. | ——— | ||
| 11. ——— | 6th oar. | ||
| 12. 6th oar. | ——— | ||
| 13. ——— | 7th oar. | ||
| 14. 7th oar. | ——— | ||
| 15. ——— | 8th oar. | ||
| 16. 8th oar. | ——— | ||
| 17. ——— | 9th oar. | Runs field-carriage forward when landing. | |
| 18. 9th oar. | ——— | Runs field-carriage forward when landing. | |
Officer of boat directs the whole of the operations, or may take
especial charge of the howitzer.
Officer of the gun is in command of the piece, unless otherwise
ordered by the Officer of the boat.
(Preliminary Order)—”MAN THE HOWITZER!”
22. The Captain of the gun sees that the elevator, sight and lock are
in order for firing.
Nos. 1, 2, 3, 4, 5, 6, 7. Trail oars.
No. 3 goes to starboard side of muzzle, having the sponge and rammer
ready.
No. 4 goes to port side of muzzle, takes out tompion.
No. 5 to starboard side, near forward compressor.
No. 6 port side, near after compressor.
No. 7 after-end of slide, and hooks training-rope.
No. 2 tends the vent and puts in primer.
If the gun is unloaded, it must be run in.
I. “SPONGE!”
No. 3 enters the sponge, and, pressing it firmly to the bottom of
bore, turns it round and withdraws it. (b)
Quarter Gunner takes a round from the ammunition-box, and, if shell or
shrapnel be used, holds it for the Officer in command of gun to adjust
the fuze.
II. “LOAD!”
24. Quarter Gunner passes forward with the fixed charge, protecting it
under his jacket, (c)
No. 4 receives the charge from Quarter Gunner and enters it.
No. 3 pushes home to the mark on rammer-handle, (d)
No. 2 puts in primer and covers it with his hand until Nos. 3 and 4
are clear of the gun. (e)
III. “POINT!”
25. Nos. 5 and 6 ease compressors. (f)
All six men and Captain of gun run out the howitzer, (g)
Nos. 5 and 6 then tighten compressors.
Officer of gun puts up the sight as directed by Officer of boat. (h)
Captain of gun brings the elevation within the limits of the boat’s
motion, and causes No. 7, with the assistance of some others, to train
nearly to object if the boat is under way.
IV. “FIRE!”
26. If the boat has motion, or is under way, a discretionary execution
of this order is necessarily implied.
[15]The assumed elevation having been given by the elevator, a slight
motion of the helm is made to sweep the piece laterally, so as to
cross the object.
The Captain of the gun closely watches this movement, with his eye
down on the sights, and holding the lock-lanyard firmly, draws it as
soon as the sights coincide with the object.
Immediately after firing he coils up the lanyard and pulls from the
vent any pieces of the quill that may remain, and also enters the bit
to clear it entirely through, (i)
NOTES TO THE FORM OF BOAT EXERCISE.
27. (a) The necessity for closing the vent is a mooted question; but
as the operation itself is a slight one, having no appreciable effect
in complicating or delaying the manœuvre of the gun, it is not deemed
advisable to omit it in this “Form.” An equally sure method, is merely
to lay a piece of untwilled woollen cloth over the vent, and press it
down with the hand; or else turn the lock on it, and hold that down.
(b) Too much care cannot be used in sponging, as a premature explosion
endangers life and limb. A moist sponge is to be preferred, for
contact with it must surely extinguish every trace of fire in the
bore.
It may be considered as a safeguard against accident, for during many
years’ practice, in proving pieces and exercising the men to fire
rapidly—ordinarily, seven or eight times in a minute—not a single
instance of premature explosion has occurred.
(c) The head of the fuze-composition must be guarded against moisture
from the fingers, rain, or spray of the sea; otherwise, there will be
a failure to ignite.
(d) The ammunition is never to be struck with the rammer-head, but
pushed home, and with very moderate force; particularly omitting a
very common practice of forcing the charge after it reaches the bottom
of the bore. In pushing home the charge, No. 2 should always keep his
body at the side of the chase, and not before the muzzle.
(e) It is not necessary to pierce the cartridge when
percussion-primers are used; their fire being always sufficient to
pass through it.
(f) It is only necessary to give the compressors a turn, or a part of
a turn; this will relieve the nip completely, and time is saved
subsequently in compressing.
(g) Some will take hold of the standard of the carriage-bed that
receives the loop of the piece, others of the breech or bed, as may be
convenient, to run out the gun.
(h) In tightening the thumb-screw that holds the breech-sight in
position, do not turn it too hard; the thread may be stripped by
continuing to [16]do so. The sight may descend by the shock of the
discharge, but this is of no moment.
In point-blank firing, the breech-sight is not required; the eye must
then range along the cylinder and muzzle-sight.
(i) The charge may not be fired; if this arises from not properly
drawing the lock, it will be evident at sight, as the wafer of the
primer will not flash; in this case No. 2 throws back the lock.
If the primer explodes without acting on the charge, care must be
taken not to approach the piece too soon, as it may only hang fire,
and the recoil will injure any one in the way of it. After a
seasonable pause, the Captain of the howitzer will remove the residue
of the primer, pass the bit down the vent, and insert another primer.
PIVOTING THE HOWITZER.
28. The sweep allowed by the stem-pivot is about one point and a half,
starboard or port; if this is not sufficient to train the piece on the
object, without diverging too much from the course or position of the
boat, then the bow-pivots may be used.
The Officer of the boat gives the order—
“PIVOT ON THE PORT (OR STARBOARD) BOW!”
29. No. 7, with the assistance of the others, trains the rear end of
the slide into the bow-pivot which is not to be used. No. 2 bolts it
in. No. 3 draws bolt out of stem-pivot, and, with assistance, draws
round the forward end of the slide into the pivot to be used; drops in
the bolt. No. 2 withdraws the bolt from rear end of slide.
The sweep on the bow-pivots includes an arc of about 120 degrees.
It is not advisable to train the howitzer more than a point abaft the
beam if forward, or more than a point forward the beam if aft; as the
accidental explosion of a shell near the muzzle, and even of a
shrapnel, might be dangerous to those in the boat.
On the bow-pivot, the piece may be pointed nearly from the direction
of the keel to a little abaft the beam.
SHIFTING THE HOWITZER.
30. If the howitzer does not bear on the object with such assistance
as is admissible from the helm, then the Officer in command may direct
it to be shifted to the other end of the boat.
The light 12-pounders, with their boat-carriages, average 660 pounds
each; and can be transported by hand from one end of the boat to
another.
With their boat-carriages, the 12-pounders of 750 average 1,200 pounds
each; the 24-pounders about 2,000 pounds, and will probably be more
[17]conveniently managed, especially if the boat has motion, by placing
rollers 2-1/2 to 2-3/4 inches in diameter on the tracks laid for the
field-carriage. On these the boat-carriage can be shifted from one end
of the boat to the other, using light falls to keep it under command.
DISEMBARKATION OF THE HOWITZER.
I. “PREPARE TO LAND!”
31. The Quarter Gunner fills the pouches with one round each, and
passes them to the men, each of whom, except Nos. 1 and 3, slings a
pouch over the right shoulder, and buckles the strap as short as
possible, so as to keep the ammunition clear of the water when leaving
the boat.
The Captain of the gun also shortens the strap of his haversack.
“TRAIL BOW AND STROKE OARS!”
32. Nos. 1 and 2 adjust the bed of the boat-carriage to its proper
place on the slide for shifting; place the muzzle-block, and make the
muzzle bear on it by means of the elevator; pass the strap around the
neck of the cascabel and put the shifting-spar through the strap; the
Quarter Gunner, assisted by the men from the after oars, raises the
field-carriage up on the tracks.
II. “TRAIL!”
33. The boat being beached in season, the men trail oars and jump to
their stations.
Nos. 3 and 4 over the bow to adjust the skids, which are launched by
Nos. 5 and 6.
No. 2 attends the elevator.
No. 3 attends the muzzle.
Nos. 8, 10, 11, and 13, the shifting-spar, assisted by as many of the
crew as can take hold.
No. 7 draws the loop-bolt.
The Stroke Oarsmen run the field-carriage forward, the Quarter Gunner
guiding it on the track by the trail.
III. “SHIFT THE HOWITZER!”
34. Nos. 1 and 2 clear the elevator; heave up the breech of the gun by
the spar; Nos. 5 and 6 back the bed on the slide; run the
field-carriage a little forward, so that its lugs come under the loop
of the howitzer; lower the piece; put in the loop-bolt and elevator;
hook on the drag-rope and ship the trail-handspike in its socket.
IV. “LAND!”
35. Nos. 5, 6, 7, and 8 now jump out of the boat, and, with Nos. 3 and
4, divide to each skid; not standing between them, but keeping outside
of them. The Stroke Oarsmen wheel the piece up to the gunwale by the
spokes, the Quarter Gunner guiding the trail by the trail-handspike,
and the rest of the crew take hold of the drag-rope to ease the gun
down from the bow, the Quarter Gunner still guiding it down the skids.
When down off the skids and on the bottom, the drag-rope is hooked
around the axle, and the howitzer run up on the beach.
The Captain of the howitzer superintends and assists whenever it may
be necessary.
The sponges and rammers are now to be attached in their places on the
trail.
The transporting-boxes will also be filled.
EMBARKATION OF THE HOWITZER.
36. When the howitzer is to be embarked, the transporting-boxes should
be taken off and put in the boat separately.
The men unsling the ammunition-pouches, and pass them into the boat,
which is to be brought to a convenient distance from the beach, and
the skids laid and secured.
The field-carriage is then pointed with the trail towards the boat,
and drawn down to the skids, with a wheel resting on each.
Nos. 3, 4, 5, 6, 7, and 8 divide at the wheels, and take hold of the
spokes, so as to assist the carriage up. No. 14 ships the
trail-handspike and tends it with No. 15. The rest of the men get into
the boat and take hold of the drag-rope. At the word “Heave” the men
at the wheels bear the carriage up on the skids, those in the boat
haul on the drag-rope, and the two at the trail bear it up, so that
the Quarter Gunner, who stands at the bow, can get hold of the
trail-handspike and guide the carriage fairly.
When the howitzer is in the boat, the skids are unhooked and put in
the boat by Nos. 3, 4, 5, and 6.
The howitzer may now be shifted to the boat-carriage, by reversing the
process already described in orders Nos. 1, 2, and 3, for shifting to
the field-carriage.
EXERCISE WITH HOWITZER ON FIELD-CARRIAGE.
GUN’S CREW.
| Stations. | Duty. | ||
| Quarter Gunner | Charge of ammunition and spare equipments. | ||
| No. | 1. Captain, rear of breech, to the right (or left, depending on the position of lock and sight). | Captain of piece — points and fires the howitzer, superintends orders, and gives orders in absence of an officer. |
|
| 2. Rear to breech, to the left. | Closes the vent, put in primer. | ||
| 3. Right side of muzzle. | Sponges and rams home. | ||
| 4. Left side of muzzle. | Receives and enters ammunition. | ||
| 5. Rear and outside of right wheel. | Assists at right wheel. | ||
| 6. Rear and outside of left wheel. | Passes ammunition, assists at left wheel. | ||
| 7. Five yards rear of right wheel. | Assists at right wheel, attends bolt of trail-wheel and trail-handspike. | ||
| 8. Five yards rear of left wheel. | Passes ammunition, assists at left wheel. | ||
| 9. With No. 7. | Assists at right wheel. | ||
| 10. With No. 8. | Assists at left wheel. | ||
(Preparatory Order)—”MAN THE HOWITZER!”
38. The men go to their stations as above designated, the Captain of
the howitzer with his haversack, previously supplied, and all the men,
except Nos. 1 and 3, with one round in a pouch.
No. 3 takes the sponge and rammer.
No. 6 unbolts trail-wheel, and ships handspike in its socket of trail.
The transporting-boxes, if there be any with the howitzer, are to be
deposited about twenty-five yards in its rear, in charge of Quarter
Gunner.
The drag-rope is deposited with the ammunition-boxes.
I. “SPONGE!”
39. No. 3 enters the sponge, and, pressing it firmly to the bottom,
turns it round and withdraws it. No. 2 serves the vent.
[20]Quarter Gunner takes a round from the ammunition-box, or from the
pouch or passing-box of one of the men; and, if shell or shrapnel be
used, holds it for the Officer in command of the piece to adjust the
fuze.
II. “LOAD!”
40. The charge is to be passed along by the Quarter Gunner to No. 8,
and by No. 8 to No. 6, and by No. 6 to No. 4, who enters it into the
muzzle.
No. 3 pushes home to the mark on rammer-handle.
No. 2 puts in primer, and covers it with his hand until Nos. 3 and 4
have withdrawn to their stations outside the wheels.
III. “POINT!”
41. Officer of gun puts up the sight, as directed by Officer in
command.
The Captain of the gun gives the piece the proper elevation with the
screw, and causes No. 7 to train the gun with the trail-handspike to
the desired direction. He then withdraws as far as the lock-lanyard
permits, standing on the quarter of the breech, and outside of the
wheel.
No. 2 stands outside of the left wheel. Nos. 3 and 4 fall back, and
the remainder of the gun’s crew take the stations first assigned them.
IV. “FIRE!”
42. The Captain of the howitzer instantly draws the lanyard at the
word.
No. 2 closes the vent.
Nos. 4, 6, and 8 go to the left wheel; 5, 7, and 9 to the right wheel,
taking hold of the spokes, ready to wheel the carriage forward, as may
be directed by the Officer in command.
(Concluding Order)—”SECURE THE HOWITZER!”
43. The Quarter Gunner secures the transporting-boxes, and gets ready
the lashing.
The Captain of the howitzer coils the lanyard around the lock.
No. 7 bolts the trail-wheel.
No. 3 may carry the sponge in his hand if the fire is merely
suspended.
No. 7 may also carry the trail-handspike.
Nos. 8 and 9 hook on the drag-rope, and lead its parts fair for taking
hold.
Wheel the piece to the ammunition-boxes, and place them on the axle.
The piece is now ready for any change of position.
REMARKS ON THE USE OF NAVAL LIGHT ARTILLERY.
44. The facility with which the Naval Howitzers are handled is apt to
cause a misconception of the purposes for which Naval Light Artillery
should ordinarily be used on shore; which are, to be landed from boats
in such numbers as may be required, or admitted by circumstances,
supported by the seamen and marines of a squadron, and not to be
assembled as a battery, to replace, or be substituted for, regular
field-artillery.
45. The force landed should be handled as light infantry, for which
the individuality of sailor-life so well fits the men; while the
character of the gun, and the usually broken nature of the shore-line
renders this formation necessary.
46. Open order in approach, in landing, in motion, and in action, is
therefore advisable; because a compact formation requires too much
attention to position, distances, and alignments in any of them, with
more perfect drill than can well be obtained; and which, under fire,
exposes too much of a mark to every shot fired.
47. The evolutions in the field should constitute but a small part of
the general system of drill, either with a single howitzer or a
battery, and should be assimilated to those of light infantry,—that
is, the most extended order that the ground admits of,—never massing
the guns in close order, but habituating the seamen to open out with
them in skirmishing order, keeping on their flanks, never in their
rear, using every cover of ground, trees, or, if time will admit,
throwing up some earth as a protection against riflemen or the
wide-spread fire of shrapnel,—while at the same time the fire is
concentrated to prevent attack on the pieces in detail, or is
dispersed, as may be required.
48. Such a drill will best develop the scope and efficiency of the gun
as a naval arm, and will render most effective the peculiar advantages
of its lightness and mobility in rapid movements.
49. Evolutions in action, or preparatory thereto, should always be
performed with the ammunition in the pouches; it being a common error
in the service to use the ammunition-boxes at such times, when they
are only designed for service out of action.
50. If liable to be attacked, all the ground within musket range,
especially if it is broken by ravines, should be reconnoitred,
particularly on the flanks; and, if possible, all the approaches by
which the enemy, and particularly cavalry can approach, should be
obstructed; and all obstacles to a retreat or change of position
removed.
51. Although commanding positions are to be preferred, the top of a
hill [22]should not be chosen where the men and pieces are relieved
against the sky, forming a much better mark.
52. Shell and Shrapnel produce a greater moral effect than grape or
canister, and in general a greater real injury, as the latter are
generally fired at too great distances.
NOTES ON THE USE OF BOAT-HOWITZERS.
53. N.B.—Before equipping boats with howitzers, notice attentively
the Hints for General Service, commencing at page 146, Boat Armament
of the U.S. Navy, and Suggestions for Landing, of that system, which
relate more especially to the condition and management of boat-guns.
54. Too much care cannot be taken to be fully provided, and to have
each detail in good condition; for, after the boat has left the ship,
it may be impossible to compensate for failure in some seemingly
trivial article.
55. The chief purposes of naval light artillery are:
1. To attack small vessels that are lightly armed, and furnish but
slight protection to the crews.
2. To contend with other armed boats.
3. To cover the landing of troops.
56. The landing of seamen is rather a remote contingency in the naval
service, and should never be resorted to when opposed by good
infantry, or when the object to be attained would take the seamen too
far from their boats, which should be the base of operations.
57. Boat-Guns.—No tackles are required to run out 12-pdrs.; but
24-pdrs. may possibly require them.
58. The hole in the cascabel for reeving a breeching has been
purposely omitted in howitzers, as hitherto the use of a breeching has
not been found necessary. Should one be required, a thimble may be
fitted to the neck of the knob to serve in place of this hole.
With a breeching, the piece may be fired as if on an ordinary
carriage.
59. The recoil is controlled by compressing the slide between the bed
and the lower plate. It is necessary, however, that the surfaces of
the carriage in contact should be plane. If they are not so, dismount
the gun and examine them, and where the wood is worn smooth, remove it
in the slightest manner, and correct the surfaces generally. In making
the surface plane, it is by no means necessary that it should be
rendered smooth. It ought to be as little so as possible for the
present purpose.
SECTION OF 12 PDR. SHRAPNEL
With Bormann Fuze and Filling of Sulphur.
D. Van Nostrand Publisher.
Julius Bien, pr.
60. Field-Carriage.—In order to moderate the recoil on smooth ground,
[23]take out the axle or pin of the trail-wheel and turn the wheel up on
the trail.
For using the howitzer on shore, two transporting-boxes are supplied,
placed on a support and lashed to the axle of the field-carriage. When
more than a single piece is landed, it may be found convenient to
secure the trail of one field-carriage to the axle of another, and
then, by means of pieces of stuff, or boat’s spars, secured from axle
to axle, to place the ammunition-boxes, provisions, and pouches upon
them.
61. Shrapnel may be effectively used where the dispersion of common
canister becomes too great and its effects feeble. It takes the place
of common shell, to a great extent, when uncovered masses of men are
in view, and is designed to burst in front of troops, at just such a
distance and height as to disperse the balls among them.
62. Similar terms are used in marking the sight and the fuze. Thus, if
the fuze be adjusted to 2 seconds, and the piece elevated by the sight
raised to the line on it marked 2 seconds, then the shrapnel will
burst about 500 yards from the piece, and spread its balls from that
point to a considerable distance further—effectively at least 150
yards.
The adjustment of the fuze to the distance and the altitude of
explosion are regulated to the elevation; and, therefore, the three
conditions to good effect may be said to depend mainly on a correct
knowledge of distance.
63. The 12-pdr. shrapnel contains 80 musket-balls, and if its
explosion occurs at one hundred or one hundred and twenty yards in
front of and fifteen to twenty yards above the object, one-seventh of
the number of balls may be relied on to take effect upon an object 20
by 10 feet in size.
64. Shells may be advantageously substituted for shrapnel when the
hostile force is sheltered, especially by such quarters as small craft
or merchantmen afford, or when material of any kind is the object of
the fire.
65. At two hundred yards canister, only, is required.
In case of a want of canister, the shrapnel or common shell furnishes
an excellent substitute by cutting into the magazine of the Bormann
fuze, which will cause it to explode at the muzzle.
66. When provided with the Bormann fuze, the shrapnel, or shell, as
issued, is complete. The upper surface of this fuze is graduated into
seconds and fourths of seconds; and it is only necessary to lay bare
the composition contained in the fuze, by the cutting-tool, to prepare
the projectile for instant use. In this respect the Bormann fuze has
an advantage over the ordinary fuze. The length of the fuzes limits
the distance within which the fire of these guns is considered as
effective.
67. The introduction of the 12-pounder rifled howitzer has greatly
extended the accuracy and effective range of the boat and field
artillery.
[24]Solid shot and shell have sufficient penetration to be effective
against ordinary wooden vessels at any distance which the elevation
allowed by the respective carriages will reach. See Table of Ranges.
The shrapnel has sufficient velocity at 2,000 yards to disable men and
horses.
Hitherto no certain or efficient time-fuze has been adopted for rifled
howitzers.
There are objections to firing grape and canister from rifled guns, as
the grooves are injured thereby, and the rotary and irregular motion
given to the mass diminishes its effect. If used, the balls should be
of lead or zinc.
68. Fixed ammunition is preferable, on the score of greater
convenience, and of avoiding difficulties.
For Manœuvres of Boats Armed for Service, see “Naval Howitzers
Afloat;” by Commander Foxhall A. Parker, U.S.N.
LANDING SEAMEN, MARINES, AND HOWITZERS
FOR EXERCISE OR SERVICE ON SHORE.
69. As the efficiency of seamen when landed in any considerable number
depends most materially upon a proper system of organization and
training previous to their being landed, and without which they are
inefficient, the following system is recommended:
70. The small-arm men are to be formed into companies of 80 men, with
four petty officers. Each company to be commanded by a Lieutenant,
with two other officers. The company to be subdivided into two
platoons, and each platoon into two sections, and to be exercised in
such movements as are absolutely necessary to manœuvre as a company
and in battalion, by the officers who are to command them.
71. Small vessels should furnish a platoon of 40 or section of 20 men,
that the companies formed by their aggregation may be of equal
strength.
72. The companies when landed are to fall in, and number from the
right according to the seniority of the Captains of their respective
ships, so that they at once will fall into their places according to
their number when landed.
73. Each ship landing two companies is to be prepared to land with the
small-arm men six Pioneers—2 with a saw and axe each, 2 with a
pickaxe and spade each, 2 with a small crowbar and sledge-hammer, or
such intrenching or other tools as the nature of the expedition may
require; the tools to be slung on the men’s backs; smaller detachments
a proportionate number.
74. The ship’s bugler, if she have one, or drummer, will be sent with
the men. He is to be able to sound the “Assembly,” “Retreat,” “Close,”
“Extend,” “Commence Firing,” and “Cease Firing,” which sounds the men
are to be accustomed to on board ship.
75. If the men are likely to be on shore during the night, they should
have a haversack and blanket slung across their shoulders.
76. As muskets are apt to miss fire the first time if not properly
clean, the greatest precaution is to be taken to see that the nipple
is perfectly clear before loading; first, by blowing down the barrel
and placing the finger before the nipple, to feel that the air passes
through it, and afterwards snapping a cap off to dry up any oil or
moisture that may be in the barrel. To avoid accidents, it is better
not to cap the muskets until after landing.
[26]77. When field-pieces are landed, the guns shall be numbered from the
right in the same manner as a company.
78. One or more armorers should be sent with each landing party with
cleaning-rods, screw-drivers, and spare nipples.
79. The boats should be formed in divisions, according to the
seniority of the Captains of their respective ships—or of the
Commanding Officers of the divisions—numbering from the right. The
seamen and marines, having been told off in companies previous to
leaving their ships, on landing they will form immediately in the same
order.
80. The howitzers being mounted as boat’s guns and prepared for
landing are brought at once into action, or remain in the boats,
according to circumstances.
81. Each division of boats should have a distinguishing flag; and
scaling-ladders, intrenching tools, and other implements, should be
carried by designated boats.
82. The boats will always land a boat’s length apart. Before leaving
the ship four boat-keepers should be appointed to each boat carrying a
howitzer, and two for the others, with an officer in charge of each
division of boats, who are on no account to leave them. Should there
be a probability of the landing party being attacked on a
re-embarkation, the boats should be hauled off to their anchors, with
a long scope of cable, having a stern-line to the beach, and a man in
the boat to veer in, that the troops may be readily embarked. The
officer left in charge of the boats should be careful to avoid being
surprised; and, if circumstances admit, strengthen his position by
cutting down trees and throwing up small breastworks a short distance
in front.
83. A fast-pulling boat with Medical Officers will attend in rear of
the line, designated by a yellow flag.
84. Should the distance from the point of landing be considerable, the
boats of each division, in tow of each other, lightest boats leading,
will fall in—the leading boat of each division abreast (Art. 72),
leaving space for the whole line to form abreast when ordered. On
approaching the beach the tow-ropes should be cast off, and the
launches with howitzers dress up in line ready to open fire, if
necessary, to clear the landing. The officer in command will commence
firing from the howitzers when he thinks fit; but no musketry is to be
fired without special orders.
85. When the Commanding Officer perceives the beach to be clear, or
when he considers it proper, he will order “Cease firing!” and direct
the boats with skirmishers and light howitzers to pull in and land as
quickly as possible. On landing they will immediately extend, advance,
and seize the [27]first cover near the beach, if there be any, but will
not open fire till the Officer commanding them sounds “Commence
firing.” The main body then pull steadily in and land, forming line in
rear of the covering party. The howitzers form on the flanks of their
divisions, or as ordered. Pioneers and scaling-ladders as ordered. The
main body being formed, will advance in line or column, according to
circumstances, preceded by the skirmishers firing, if necessary. When
firing in close order the front rank should fire kneeling, as, owing
to the shortness of muskets, accidents frequently occur. Under certain
circumstances, as advancing on an open beach, the boats might be
employed on the flanks to cover the advance or retreat.
86. Should the boats be employed for the disembarkation of troops, the
same arrangement should be made. It will then be desirable that every
boat should carry a flag similar to that of the Commanding Officer of
its division; and, when in large numbers, the boats should also be
painted according to the colors of the flags, that the troops may
readily know their own boats.
87. The re-embarkation should be conducted on similar principles to
the disembarkation—the skirmishers and light howitzers extending in
rear of the line, which will then pass through the intervals, forming
again, if necessary, to support the skirmishers, who will retire
firing, and re-form in rear of the line. The main body will then
embark, followed by the covering party under cover of the boats’ guns.
88. When landing in a heavy surf, the ammunition should be put in one
or more small powder-tanks, with the lids well screwed down.
PART III.
ORDNANCE
AND
ORDNANCE STORES.
PART III.
CHAPTER I.
ORDNANCE AND ORDNANCE STORES.
1. All articles of Ordnance and Ordnance Stores, when duly delivered
at any Navy Yard, are to be borne on the books of the Inspector of
Ordnance, and duly accounted for, according to such regulations as
may, from time to time, be established by proper authority.
2. He will make monthly estimates and requisitions for all materials
and articles which may be required by the master workmen in the
Ordnance Department, and which he may deem necessary; which
requisitions are to be forwarded to the Chief of the Bureau for his
approval.
No articles are to be purchased without previous requisitions, nor any
to be used until duly inspected, approved, and receipted for.
Before reception, every article shall be carefully examined by the
master workman in whose department it is required, and such other
person as the Inspector shall appoint, and compared with samples, to
see that it conforms to the standard, and is, in quantity and quality,
as called for by the requisition or order of the Bureau for its
delivery.
He will keep on hand standard Patterns and Drawings, approved by the
Bureau of Ordnance, to which all articles of manufacture or issue
shall strictly conform; notifying the Bureau of any discrepancies
therefrom in articles received from other Yards, that unauthorized
variations may be checked and the manufactures of each Yard be
identical.
3. The Inspectors of Ordnance at all Navy Yards shall have the
immediate custody of all articles appertaining to ordnance, and they
shall be kept in suitable places, separate from the other articles in
the Yard.
And they will promptly inform the Bureau of all orders received from
Senior Officers, which may in the least affect the execution of the
instructions given by the Bureau in relation to their duties.
4. Inspectors of Ordnance having charge of the articles above
mentioned are, under the direction of the Commandant of the Yard, to
be responsible for their being carefully attended to, and preserved
from injury.
5. Whenever any of them shall require repairs, other than those which[4]
can be made in the ordnance workshops, the Inspector will apply to the
Commandant of the Yard, or to the Bureau through him, for the
necessary means to keep all articles in his charge in order and ready
for service.
6. He shall require from master workmen employed on ordnance work
reports in the required form (see blank forms) of the expenditure of
materials and labor upon each and every object under their immediate
superintendence, at which time they will make a return of all
unexpended material on hand. They will also be responsible for all
waste and improper use of material by those under their general
superintendence.
7. The Inspector of Ordnance shall have authority over all master and
other workmen employed on ordnance work, and direct all its details.
He will examine and certify to the correctness of all bills rendered
for materials, supplies, or labor in the Ordnance Department, and
examine and certify to the correctness of the pay-roll of all persons
employed on ordnance work.
8. No Inspecting Officer or person employed by the Bureau is to show
to, or leave in the way of persons not authorized by the Bureau, any
drawing, descriptions, or dimensions of guns under contract, nor to
permit the examination by such persons of the guns themselves.
9. The resident and other Inspectors are to inform the contractors of
this strict requirement on the part of the Bureau, and to request them
to cause it to be rigidly enforced by all persons under their control.
10. It is most positively forbidden to communicate any information
whatever in relation to ordnance matters, or to show or describe
ordnance work, of any description, to any person not in the employ of
the government, unless by superior authority.
Inspectors are also directed not to hold correspondence in writing
with manufacturers, contractors, or other parties in relation to
ordnance supplies, unless specially directed by the Bureau.
Officers on Ordnance duty will give no official opinion, to Inventors
or others, upon the merits of any invention appertaining to Ordnance,
which may be submitted to them officially or unofficially for
examination, unless by special direction of the Bureau of Ordnance.
All such opinions will be forwarded to the Bureau, to whom parties
must be referred for information.
11. The Inspectors of Ordnance at the several Yards and stations are
required to enjoin upon all their employés the strictest secrecy in
relation to every thing connected with their duties. No information
whatever is to be [5]given to any one in relation to the prices of
articles, the details of work, or the condition of ordnance or
ordnance supplies.
Any breach of this order is to be followed by prompt dismissal from
employment.
12. Whenever any ordnance stores shall be furnished to vessels, or for
any other purpose, the Ordnance Officer shall take proper receipts for
them from the officer to whom they are delivered. These receipts shall
be signed at the Ordnance office, and the commander is required to
ascertain before sailing if the proper officers have signed all
receipts and vouchers.
13. The Ordnance Officer will deliver with them an Invoice of the
number and cost of such stores, retaining a receipted duplicate,
approved by the commander, to be forwarded to the Bureau of Ordnance.
One Ledger, one Invoice, and twenty blanks for Quarterly Returns to
the Bureau of Ordnance, are to be furnished each vessel fitted for
sea.
If any articles are purchased abroad, or obtained from other stations
after the vessel is regularly fitted for sea, they should be duly
entered in the Ledger, and a note made therein stating when, and from
what source received; and, if practicable, their number and cost
should be inserted in the Invoice of other articles supplied the
vessel.
14. A separate list shall be furnished to all commanders of vessels of
the ammunition furnished, which list is to be returned to the Ordnance
Officer of the Yard to which the vessel shall return, with any
additional supplies which she may receive during the cruise entered on
it.
15. The allowances which are prescribed for the different classes of
vessels in the Table of Allowances are not to be exceeded, except by
the express sanction of the Chief of the Bureau of Ordnance.
16. It shall be the duty of any commander of a vessel, before making
or approving requisitions, to examine the allowance table and
expenditure books, to see that the amount required, together with that
on hand, does not exceed the allowance, and that the articles required
are allowed. If these articles are not allowed, or are in excess of
the allowance, but are, in his opinion, necessary for the use of the
ship under his command, he will state on the requisition, opposite the
article, “in excess of allowance,” or, “not allowed,” and the reason
why considered necessary, before sending it to the Commandant of the
Yard or Squadron for his approval.
In case he shall neglect so to do, the Inspector of Ordnance will only
furnish the allowance, and shall return the requisition for
correction, calling the attention of the approving officer to this
neglect.
17. All Ordnance Stores, except the ammunition, shall be delivered to
the Gunner, or other officer appointed to receive them, at the
ordnance store-houses, the Inspector of Ordnance furnishing him with
the means of [6]transportation, and men for stowing them in their
appointed places on board, when the crew are not available for this
purpose.
In order to guard against the loss or misdirection of Ordnance Stores,
which has frequently been found to occur whilst they were being
transferred from the Ordnance Store-houses to vessels going into
commission, or in the case of vessels landing their stores on
returning from a cruise:
The Bureau directs that whenever Ordnance Stores of any kind are to be
received from or delivered on board of a vessel, a responsible officer
be present, whose duty it shall be to take an exact account of them
and see them safely delivered at their destination, indorsing the
Receipts and Invoices with his name.
For any loss that may occur in the performance of this duty, that
officer will be held pecuniarily responsible; and whenever any stores
are found to be missing, the name of the officer who superintended
their removal is immediately to be forwarded to the Bureau.
The Inspector of Ordnance will be vigilant in seeing this order
strictly carried out.
18. All stores landed from ships will be received at the Ordnance
Store-houses, when all responsibility on the part of the officer
delivering them shall cease, and a survey be held, as soon thereafter
as practicable, to determine the quantity of stores, and the condition
in which they are delivered.—(See form of survey.)
When the vessel returns to a yard to be refitted or to be laid up at
the end of the cruise, her Ledger and Invoice are to be handed to the
Ordnance Officer of the yard for his examination, and for the use of
the officers who may be ordered to hold a survey upon the Ordnance
Equipments and Stores; and when the survey is completed, both Ledger
and Invoice are to be forwarded to the Bureau of Ordnance with the
report of survey.
19. It having been found that in the “Reports of Survey” made at the
different Navy Yards on the Ordnance Stores of vessels returning from
sea, many articles are put down as “deficient by Returns” without
these deficiencies being in any way accounted for, the Bureau directs
that the Surveying Officers shall require the Gunner (or other officer
having charge of the Ordnance Stores, in case there be no Gunner on
board) to show a just cause for said deficiencies; a statement of
which, properly signed, is to be forwarded to the Bureau with the
Report of Survey. In case of his failure to do so, he will be held
responsible for the loss, and the value of the deficient articles
checked against his pay.
Where arms or other articles are lost or destroyed in action, the fact
must be properly authenticated by the signature of the Commanding or
Executive Officer.
20. Ordnance Ledgers of all vessels coming from a cruise shall be
signed [7]by the Gunner or Executive Officer and the officer in command
before leaving the Yard or station.
Invoices and Receipts must invariably be given and taken of all
ordnance, ordnance stores, equipments, and small arms, when
transferred from the keeping of one officer to another.
And whenever any article of ordnance is lost or mutilated, the fact
shall be reported to the Bureau, with all the circumstances of the
case, and the value of the same will be deducted from the pay of the
person having it in his possession at the time, unless sufficient
reason for a contrary course should appear.
21. It shall be the duty of the Inspector of Ordnance (or of the
officers who inspect a ship on her return from a cruise) to report to
the Bureau the condition in which the articles under the charge of the
Gunner may be transferred, that his care and attention may be properly
known and appreciated.
22. Officers upon Ordnance duty at Navy Yards may correspond with the
Bureau on subjects connected with Ordnance duties, forwarding their
communications open, to the Commandant of the Yard for transmission.
23. The dates of all circulars, orders, telegrams, or letters to which
reference is made in corresponding with the Bureau, shall be
distinctly quoted.
And the same rule is to be observed in forwarding triplicate Bills,
Bills of Lading, and Invoices, the date of the order or orders being
written across the face in red ink; and the receipt of all telegrams
must be immediately acknowledged.
24. The Commandants will, in forwarding communications, accompany them
with such remarks or recommendations as they may deem proper, and at
any other time make such suggestions as they may consider will promote
the public interest.
25. In shipping or forwarding stores each box or package shall be
numbered, and have the nature of its contents stencilled or marked on
the outside, and noted on the Invoice. The Invoice should in all cases
of shipment accompany the articles.
All stores intended for shipment to squadrons, shall be legibly and
conspicuously addressed to the Commander-in-Chief of the squadron, and
marked for that squadron.
INSPECTION AND PROOF OF NAVAL GUNS
26. All cannon for the navy, cast at private foundries, will be
fabricated in strict accordance with the terms of the contract made
with the Bureau of Ordnance, and subject to the inspection of an
officer detailed to supervise the operations. (See “Instructions for
the Inspection and Proof of Cannon, 1864,” for further details.)
27. New guns are to be closely examined and measured, inside and out,
for defects of metal or manufacture, and the results recorded in the
prescribed forms by the Inspector resident at the foundry, as soon
after being finished as possible, if he has not already done so in the
various stages of manufacture, which is preferable, as the detection
of errors which pass the limits of toleration may save useless
subsequent labor. Internal defects of metal will, for instance,
generally be betrayed by a close examination of the core-pieces. As
rust tends to conceal defects, this examination of the guns is to take
place before exposure to the weather. And previously to the final
examination and proof of guns, they are not to be covered with paint,
lacquer, oil, or any material which may hide defects of metal.
If it is ascertained that any attempt has been made to conceal
defects, the gun or guns so treated are to be rejected without further
examination.
As the water-proof, which is of great importance in detecting defects
of metal not otherwise developed, necessarily succeeds immediately the
powder-proof, and can be effectively applied only in fine weather, and
when the temperature is above the freezing-point, final inspections
are to be made at such times only.
DESCRIPTIVE LIST OF INSTRUMENTS REQUIRED AND USED IN THE INSPECTION
AND PROOF OF GUNS.
28. 1st. A mirror for reflecting the sun’s rays into the bores. Two
will be required if the sun be in the rear of the Inspector.
2d. A lamp attached to a staff for examining the bores when the sun is
obscured, or the guns are under cover.
3d. A standard cylinder gauge. This is a hollow cylinder of iron,
turned to the least allowed diameter of the bore, and one calibre in
length. It has a cross-head at each end, one of which has a smooth
hole through its axis to fit the staff, and the other is tapped to
receive the screw in the end of it.
D. Van Nostrand Publisher.
Julius Bien, pr.
4th. A measuring-staff of steel or iron, in joints of suitable length,
connected together by screws. Each joint is provided with a light
brass [9]disk, the diameter of which is 0.05 inches less than that of the
bore. Through the centre of the disk there is a hole which fits upon a
shoulder at the joint; the whole is so arranged that when the joints
are screwed together the disks between them are held firmly in place,
while the length of the staff is not affected by them. A steel point
is screwed on to the end. When pushed to the bottom of the bore, the
staff coincides very nearly with its axis. The outer joint is
graduated to inches and tenths. A slide is made to play upon it with a
vernier scale, graduated to hundredths of an inch. On the inner end of
the slide a branch projects at a right angle, sufficiently long to
reach across the muzzle face, and, when in contact with it, to
indicate the precise length obtained from that point to the end of the
measuring-point on the other end of the staff. A half disk of wood,
made to fit the bore, with a groove for the staff to rest in, placed
just inside of the muzzle, is useful in preventing any springing of
the staff.
The point being taken off, the staff can be used with the cylinder
gauge, to measure the distance to which the latter descends. But as
the graduation is intended for the points, care must be taken in this
case to allow for the difference.
5th. A chamber-gauge for verifying the shape and size of conical
chambers.
The head should be made of close-grained, well-seasoned wood, and of
the exact dimensions of the chamber. Two planes, crossing each other
at a right angle, coinciding with the vertical and horizontal central
sections, have been found better than a solid block. The edges should
be bevelled. A metal socket in its centre connects it with the
measuring-staff. Being pushed to the bottom of the bore, if the length
coincides with that obtained by the point, it is obvious that the
chamber is large enough, provided the cylindrical part has not been
bored too deep, in which case a shoulder would be found at the
junction. The edges of the gauge should be chalked before it is
inserted. When withdrawn, if the chalk-marks are visible all around
the chamber, it is evident the chamber is not too large. With slight
modifications, this arrangement may be applied to the slope of
cylindrical chambers, and to the curve at the bottom of the bore of
any guns. Should the inspection of guns with conical chambers or
slopes take place at the foundry, an examination of the chamber reamer
will be very satisfactory. If found correct in size and shape, the
impossibility of making the chamber too large will be apparent.
6th. A star-gauge, for measuring the diameters of the bores and of
cylindrical chambers. This instrument is composed of the staff, the
handle, and a set of points for each calibre.
The staff is a brass tube, made in three pieces, for convenience of
stowage, and connected together, when required, by screws. Its inner
end expands into a head, in which are placed four steel sockets, at
equal distances [10]from each other, which receive the points. Two of the
sockets opposite to each other are secured permanently. The two others
are movable. A tapering plate or wedge, the sides of which are
cylindrical, runs through a slit in the head; an aperture in the inner
ends of the movable socket embraces the cylinder, so that when the
plate is moved forward or backward, the sockets are projected or
withdrawn. The tapering of the plate has a certain known proportion to
its length, so that if it is moved in either direction a given
distance, a proportional movement is imparted to the sockets, and to
the points which they contain. It is easy to see how, in this manner,
a movement of .10 in. may increase or diminish the distance between
the points .01 in. Therefore there would be no difficulty in
estimating, to a considerable degree of accuracy, a difference of .001
in. between the points. In general, however, the distance on the plate
required to move the points .01 in. is about .06 in. only.
A square sliding rod is connected with the tapering plate, and runs
through the whole length of the tube, projecting some inches beyond
the outer end. This rod has as many parts as there are joints in the
staff, and, like them, connects by screws. Each section of the rod
works in its proper joint, through a square socket at each end, and is
prevented from falling out by pins. When screwing the joints together,
if the ends of the rod are pressed up to each other they become
connected by the same motion.
The staff is graduated to inches and quarters, so that the distance of
the points from the muzzle of the gun may always be known. A centre
line, starting from the centre of the upper socket, is marked upon the
staff throughout its length.
The handle in use at present is of brass, made to fit over the outer
end of the staff, and to connect with the sliding rod by a screw,
having a large milled head at the outer extremity of the handle. It
may be used on either joint, as required. A slit through the handle
permits a part of the staff near the end to be seen beneath. A scale
on one side of the slit is graduated with the distance that the rod
moves, to throw the points .01 in. apart.
That part of the handle containing the slit and scale is separated
from the other part; it is made to fit closely over it. On each side
there is a small tube; a thread is cut in one, through which a fine
screw, held by a stud on the permanent part of the handle, works and
gives it motion; a guide runs through the other. Seen through the slit
is a small plate of silver inserted in the staff, and a fine mark upon
it to show the place of zero, when the points are adjusted. The
zero-mark on the scale is made to correspond with it by means of the
screw just mentioned.
The points are of steel, with a strong shoulder at one end, below
which the screw is cut that fits into the socket in the head. A wrench
is made to fit the other end, so as to turn the point firmly into its
place. They are made of such a length that they will just pass into
the adjusting-ring when [11]they are all in place. To this instrument
belong the adjusting-rings and the muzzle-rest in the form of T; of
the rings there is one for each calibre, reamed out to the exact
minimum diameter of the bore. The latter can be used for any class of
guns. Its office is to keep the staff of the star-gauge in the axis of
the bore. For this purpose it contains a groove, above the
perpendicular branch, to receive the lower half of the staff. There is
a movable slide on each branch, which can be adjusted to marks for
each calibre, so that points projecting from their rear will enter the
muzzle and hold the rest in place. In this position the upper edge of
the transverse branch coincides with the diameter of the bore.
A hook is pivoted on the inner side of the transverse branch, on one
side of the groove, and so fitted that when the star-gauge is in the
gun, it embraces one-half of that portion of the staff which is above
the groove. Therefore, if the transverse branch be placed so as to
coincide with the axis of the trunnions, the hook thrown over the
staff, and the latter turned so that the centre line just meets the
end of the hook, the perpendicular points will be perpendicular to the
axis of the trunnions. If the staff is then drawn out carefully, the
measurements will all be taken in the same plane. A notch in the end
of the hook, made to coincide with the plane of the muzzle, may be
used for marking the distances on the staff.
The upright branch is movable, and is made to fit into the end of the
transverse branch, for convenience and security in packing.
In examining the bores after proof, it has been found that the
greatest indentation occurs in general near the seat of the
projectiles. But, as it is not always found at precisely the same
point of the circle of the bore, a convenient mode of searching for it
is desirable. This is supplied by a disk for circular measurements,
which may also be considered as belonging to the star-gauge. It is
made of composition, and is divided into halves, with a hole through
the centre to receive the staff of the star-gauge.
It is turned so as to fit into the muzzle of the gun closely, with a
projecting lip two or three inches broad to hold it in place, and with
cleats overlapping the edges, to keep it from going in too far. The
face is a plane surface. The circumference is divided into as many
equal parts as may be thought desirable, which are numbered in regular
order. The centre hole is reinforced on the inside by a projection
which is turned to receive a collar that fits closely around it, and
holds the two halves together when they are placed on the staff.
When ready for use, the face is in the plane of the muzzle-face. Its
zero-mark is made to coincide with a light punch-mark on the
muzzle-face, directly below the line of sight.
On the staff of the star-gauge a brass slide is fitted, having a
thumb-screw to hold it in any position; from the inner end a point
extends at a right angle to its axis, of sufficient length to meet the
points at the circumference [12]of the disk; a centre line extends from
the base to the apex. The slide being moved so as to make its inner
end coincide with any mark upon the staff, at which a circular
measurement is required, and the centre line of the point being made
to coincide with that of the staff, it is secured by the thumb-screw.
The point of the slide is then in the same plane with the
perpendicular measuring-points, and its direction always indicates
them; a series of measurements, made before proof, may thus be
compared with another made at the same points after proof.
It is obvious that the determinations will not be absolutely accurate,
for when the gun is worn, should the stationary points be
perpendicular, the movable points, being then horizontal, would fall
below the true horizontal diameter, and the measurements would be more
in error than it would be with the points in any other direction.
Still, if care is taken to preserve the points at the greatest length
possible, a very tolerable degree of accuracy may be attained. In the
inspection of guns arranged on skids, the gun itself should be turned,
which will insure accurate measurements. Care must also be taken not
to allow the joints of the staff to become so loose that the
coincidence of the centre line is destroyed when they are screwed
together. If this should occur, however, a few turns of thread, placed
between them at the time of putting the instrument together, would
remedy the difficulty.
7th. An instrument for verifying the interior position of vents.
When the vent is drilled in the vertical plane of the axis, as in the
guns of old patterns, a simple head, shaped to fit the bottom of the
bore, or the chamber, with a staff fitted to it, is sufficient. But
for the Dahlgren guns, with two vents, some other plan is better. The
following has been found satisfactory:
A head of well-seasoned wood, which is fitted to the chamber, is
attached to a wooden disk of the diameter of the main bore. The
surface of the head corresponds with a longitudinal central section of
the chamber; at the point where the projection of the vent would meet
it a piece of hard wood is inserted. A central line drawn through its
length, crossed at a right angle by another line at any known point
from the smaller end, will afford convenient points to measure from. A
stout square wooden staff is attached to the axis of the head; at a
distance equal to the length of the bore, the end is jogged into the
centre of a half disk of wood, which is fitted to the bore. The whole
is so constructed that the straight edge of the half disk (or the
chord) is in the same plane as a horizontal section of the head. A few
holes are bored through the disk attached to the half head, to allow
the instrument to pass freely into the gun and out of it.
A wire of untempered steel, of the size of the vent, with a sharp,
well-centred point, and a small spirit-level, are required to use with
this instrument.
The gun being levelled, and the instrument being pushed to the bottom
[13]of the bore, the upper edge of the half disk near the outer end of the
staff is then brought to a level. The surface of the half head then
corresponds with the horizontal central section of the chamber. The
point of the wire being pushed gently to meet it, will show very
accurately the interior position of the vent.
8th. Profile-boards for distances in front and rear of the base line.
Their lower edges are adapted to the shape of the gun, and the upper
ones are parallel to the axis of the bore.
The distances from the base-line of the several parts, and of the
points at which diameters are to be measured, are laid off accurately
on the upper edge, and then marked in lines perpendicular to it on the
sides and lower edges of the profile. An iron strip is attached to the
upper edge to prevent warping, and the whole is well coated with
shellac varnish, to keep it from absorbing moisture.
The following instruments are used in connection with the
profile-boards:
A rule for verifying the marks, of such a length that not more than
one fleeting may be necessary, to be graduated decimally according to
the standard.
A small square of steel, to be used in referring the marks on the
board to those on the rule.
A steel straight-edge, long enough to extend across the muzzle-face,
and several inches on the board, to ascertain the extreme length from
base to muzzle. It is also used for the same purpose at the extreme
end of the cascabel.
A steel scratcher, to mark the gun at points not otherwise indicated,
where diameters are to be measured.
9th. A trunnion-square of steel or iron for ascertaining the position
of the trunnions, with reference to the axis of the bore. This
instrument is a square with two branches, one of which is fixed and
the other movable. The foot of each branch is in the same plane, and
is parallel to the upper edge of the main piece which connects them.
The latter is graduated to inches and tenths. The movable branch
slides on the main piece, and may be secured to it by two
thumb-screws. It is provided with a vernier scale graduated to
hundredths of an inch. Between the branches there is a slide, also
provided with a vernier graduated as before, with a thumb-screw to
secure it firmly; in its centre there is a sliding-point, moving
vertically, with a thumb-screw to fasten it. Above the foot of each
branch there is a slit to receive the shank of a plate, on the end of
which a thread is cut; the lower edge of the plate forms a right angle
with the branch, and the plate is fastened to the branch by a nut, at
a point from the end equal to the semi-diameter of the trunnion, which
is marked on each branch.
When the feet of the branches, or the lower edge of the plates, rest
upon the trunnions, the upper edge of the main piece is parallel to
their axis, if their alignment is correct. When in the latter
position, the edges of the feet will lie close against the sides of
the trunnions.
[14]A graduated steel wedge is used to measure the deviation of the
trunnions from the feet of the square.
10th. A trunnion-gauge, which is an iron ring of the proper diameter
of the trunnions. Its outer edge coincides with the diameter of the
rimbases.
11th. A trunnion-rule, to measure the distance of the trunnions from
the base ring, or line. This is an iron rod with a head at one end,
through which passes one branch of a small square. The centre of the
rod is marked on the end, and the square is set so that the inner edge
of the branch which is parallel to the rod is at a distance equal to
the semi-diameter of the trunnion from the centre. It is secured in
this position by screws and clamps.
The upper side of the rod is graduated to inches and tenths. A slide
with a slot through it, to show the graduation beneath, traverses upon
it, and is kept from turning by a guide on the lower side. There is a
vernier upon the slide, graduated to hundredths of an inch; a
thumb-screw serves to secure the slide at any point on the rod. That
end of the slide from which the graduation of the rod commences has
both of its sides drawn out, to form knife-edges; the knife-edges and
the end of the slide are in the same plane. When the square at the end
is placed on the trunnion, the end of the rod will touch its side at
the point of its greatest diameter. The rod being held parallel to the
axis of the bore, with the side of the head pressing the rimbase, the
knife-edge will be in a proper position to fall into the base line
when moved to find it.
12th. A beam-calliper for measuring diameters is a square of steel or
iron, with two branches, one of which is fixed and the other sliding.
The inner edges of the two branches, when pushed together, lie, of
course, in contact with each other throughout their length. The beam
is graduated to inches and tenths. A vernier is attached to the
sliding branch, graduated to hundredths of an inch. The latter is
provided with a thumb-screw, to fasten it at any point.
The length of the beam must be rather greater than the diameter; and
that of the branches than the semi-diameter of the guns to be
inspected, at their largest points.
13th. A cascabel-block is a wooden cylinder of the proper diameter of
the breeching-hole, the size of which it is used to verify.
The opening between the jaws may be ascertained by measuring the iron
block which is fitted to go between them, or by a template.
14th. A vent-guide, to be used with vents in guns of Dahlgren’s
pattern.
This instrument is made of bronze or composition. When placed upon the
gun, one of its branches coincides with the curve of the cylinder, and
the other, starting from its centre, lies along the cylinder in
contact with it longitudinally. The lower edges of the branches are a
right line and a [15]curved line, making two right angles with each
other. The length of that of the transverse branch is equal to the
distance between the centre of the two vents. The rear surface of the
transverse branch is curved and quadrilateral. Its sides are inclined,
so that their rear edges show the exact direction of the vents. Every
point in the upper edge lies in the same horizontal plane. The height
is sufficient to permit the edges to give an accurate direction to the
drill.
The upper edge of the other branch runs off in a sloping curve to its
extremity.
A centre line is drawn through the lower edge of the longitudinal
branch, and is continued upwards on the rear surface of the transverse
branch to the top.
The guide being placed with its centre upon the centre mark of the
gun, and the centre line of the longitudinal branch being made to
coincide with the centre line scribed upon the cylinder, the rear
lower edge of the transverse branch will then coincide with the
base-line, its extremities will indicate the centres of the vents, and
the rear edges of the sides will show their true direction.
15th. Vent-gauges of untempered steel wire, with shoulders to prevent
them from slipping into the vent. One should be of the proper diameter
of the vent, one of the greatest, and one of the least diameter
allowed.
16th. A vent-searcher, a steel wire of the length of the vent, bent to
a right angle at the lower end and pointed. It is used for detecting
imperfections in the sides of the vents.
17th. A semicircular protractor of metal for measuring the inclination
of vents, or for ascertaining their deviation from the guide.
18th. A set of templates for verifying the shape of lock-lugs, the
angle of the rear sight mass, the curve between the base-line and the
front of rear sight mass, that at the end of the cascabel, the bevel
of the breeching-hole, the opening of the cascabel, and the shape of
the muzzle swell.
If the inspection should take place at the foundry, the templates used
in chipping might be verified and used for inspection.
For guns of Dahlgren’s pattern, a bronze model, showing the shape of
the lugs and rear sight mass, and the position of the vents, is
furnished as a guide to the contractors.
19th. A standard foot-rule for verifying measures.
20th. A foot-rule of steel for measuring the masses, the length of the
trunnions, and for other purposes. The graduation should be extended
to each end.
21st. A set of ring-gauges, large, medium, and small, for inspecting
the projectiles used in proof.
22d. A small beam-calliper, with outside edges, for examining the
adjusting rings and the ring-gauges.
[16]23d. A platform balance, for weighing the projectiles used in proof,
and for bringing the shells up to the standard weight. For use with
the above there should be provided a bag of dry sand, a funnel, some
wooden plugs for the fuze-holes, and a hammer.
24th. A set of implements for loading and cleaning, viz.:
A rammer, faced with hard wood or metal, with a graduated scale on
the staff, near the muzzle, to show the distance of the front of the
projectiles from the muzzle.
A bristle sponge with a worm in its end, for ordinary use in firing.
A sheepskin sponge, for drying the bore after cleaning it.
A gun-scraper.
A ladle.
A boring-bit.
A priming-wire.
A lock and lanyard, should navy primers be used in firing; but if
friction primers are used, then a lanyard with a hook in its end will
be required, only.
A breeching and a couple of tackles, if the guns should be fired on skids.
Six handspikes.
Six buckets and a large tub, for washing out the guns.
If the firing is made into a butt, a couple of wheelbarrows, with two
or three pickaxes and half a dozen shovels, will be necessary.
25th. A searcher, with six or more points, to detect injuries or
cavities in the bore.
26th. A machine for taking the interior impression of vents.
This consists of a wooden head, one-half of which is cylindrical, and
the other half is of the shape of the chamber, both being rather
smaller than the parts of the bore that they are intended for. A
staff, flat on its upper side, and rounded on its under side to fit
the curve of the bore, is mortised into the circumference of the
cylindrical part of the head. A mortise is cut through the chamber
part of the head, extending several inches in rear and front of the
position of the vent. Into this mortise a loose piece is fitted,
capable of free motion upwards and downwards, the top of which is
pierced with holes to secure the wax or composition which is spread
over its surface. This movable piece rests on a wedge attached to a
flat rod running through a slot in the head; there is a slot in this
rod about four inches long, a pin passing through it into the staff.
To use the instrument, withdraw the rod as far as the slot will
permit, which will allow the movable piece on which the composition
has been spread to drop below the surface of the head, and protect it.
Push the head to the bottom of the chamber, and arrange the position
of the staff so that the movable piece will cover the vent, then press
the end of the rod home. This motion will throw out the composition,
and a distinct impression of the vent and of fire-cracks (should there
be any) will be left upon its surface; draw the rod back as far [17]as
the slot will allow, and withdraw the instrument: the impression,
being protected thereby, will come out uninjured.
Impressions of injuries or cavities in the bore may easily be taken by
a similar contrivance.
27th. Hydraulic pump and apparatus for the water-proof.
Any of the various patterns of this machine may be applied to the
proof of guns. An iron cross-head is secured to a stout wooden block
which fits into the muzzle, and which has a flange or shoulder to
cover the muzzle-face; rings of caoutchouc or gutta-percha are placed
between them; an iron rod with a ring in one end, to fit over the
trunnion, and with a thread cut on the other end, is used on each side
of the gun, to connect the trunnion with the cross-head. The whole is
set up with nuts, and the pressure upon the rings makes a tight joint;
a coupling upon the cross-head receives the hose, and the water is
forced into the gun through a hole in the wooden block. Care should be
taken that the valve is loaded with the proper weight for proof.
28th. Dies for marking guns.—A full set of figures, with such capital
letters as may be required for the inspection-marks; these should be
one inch in length. Also, small letters of suitable size to mark
“lbs.,” and a full set of half-inch figures.
USE OF THE INSPECTING INSTRUMENTS.
29. The guns having been freed from rust, and their foundry numbers
noted, in the order of their relative positions, on the field-book,
the inspecting officer will proceed to verify the instruments to be
used in their measurement, if this has not been previously done in a
manner entirely satisfactory to him.
He will then examine carefully the guns, inside and out, for defects
of metal or of manufacture, and note the results.
The interior of the bore is to be examined by reflecting the rays of
the sun into it from a mirror or mirrors; or, if the sun is obscured,
and there can be no delay, by means of a spirit-lamp, or of a wax
taper, on the end of a rod, taking care not to smoke the surface of
the bore.
The cylinder-gauge is then to be introduced, which must pass freely to
the bottom of the cylindrical part of the bore. If obstructed, the
depth to which it reaches should be noted.
The star-gauge is used to ascertain the exact diameter of the bore,
and of the cylindrical part of the chamber. The bore must be measured
at intervals of 1/4 inch from the bottom of the cylindrical part to
the seat of the shot; of 1 inch from that point to the trunnions; and
of 5 inches from the trunnions to the muzzle. If any marks of the
reamer or other defects are seen in the bore, they are to be searched
for, and their depths and positions noted. These results are to be
tabulated according to the blank forms furnished. The whole length of
the bore is ascertained by means of the measuring-staff, with the
point screwed on, supported in the axis of the bore by the disks and
half-tompion.
In the absence of this instrument, a pine rod, having the proper
length of the bore marked on it, and the end rounded to the curve of
the bottom of the bore, will answer as well, using a thread or a
straight-edge across the face of the muzzle.
The shape and dimensions of the chamber, and the position of the
interior orifice of the vent, are verified by means of the
chamber-gauge, the description of which will explain its use. An
inspection of the chamber-reamer will be generally satisfactory in
determining the size and shape of the chamber.
The vent is measured by the appropriate gauges, the smaller of which
must enter freely, and the larger not at all. It is searched for
roughness, or for cavities in the metal around it, by means of the
searcher, the point of which should feel every part of it carefully.
Its inclination to the surface, and its position externally, are
verified by means of the vent-guide furnished for the Dahlgren guns,
and by the semicircular protractor and the vent-gauge.
[19]In guns of the ordinary construction, the position of the vent is
marked on the profile-board, and its inclination to the surface is
determined by the protractor and vent-gauge.
The exterior lengths of the gun are measured by the profile-board,
marked with the true dimensions, the differences being measured by the
foot-rule, or, if minute, estimated by the eye.
The exterior diameters are measured with the calipers and square, or
by the set-gauges used in turning, and a graduated wedge.
To verify the position and alignment of the trunnions of a gun, it is
first necessary to ascertain, by means of the trunnion-gauge and of
the calipers, their cylindrical form and their diameters, which should
be the same, or allowance must be made for half the difference in
measuring their axial distances from the base-line, by the
trunnion-rule, which should next be done. These distances should be
equal, or their axes do not coincide—an error not tolerated.
The trunnion-square is then placed upon the trunnions in the plane of
their axis. The feet of its branches should coincide with the surfaces
of both trunnions, throughout their length, above and in rear, and
their inner edges with the faces of the rimbases. Then, with the
beam-compass, scribe on the upper surface of the gun the distance of
the axis of the trunnions from the base-line, and push the
sliding-point of the square down, till, at that distance, it touches
the surface of the gun, and screw it fast. Then turn the gun over, and
again scribe on it the same distance from the base-line. The square,
being again applied, will determine whether the trunnions are above or
below the axis of the bore, which will coincide with that of the gun,
if accurately bored, and turned on the same centres and bearings. If
the branches rest upon the trunnions before the point of the slider
touches the gun at the scribe, their axis is below; but if the point
touch first, above the axis of the bore, by half the space between.
The graduated wedge, being placed under the vertical sliding-point,
will determine the amount. If both touch at once, both axes are in the
same plane.
No gun can be received, the axis of the trunnions of which is above
that of the bore.
The lengths of the trunnions are measured with the foot-rule, and the
diameters of the rimbases by that of the exterior rim of the
trunnion-gauge.
If the alignment of the trunnions be correct, it will serve as a means
of determining the correctness of the line of sight, which, before the
gun is removed from the lathe, should be distinctly traced on the
sight-masses and the swell of the muzzle, and should be at right
angles to the base-line, to the axes of the trunnions, and to the
connecting piece of the trunnion-square, when its branches rest
against their rear, with the plates across their upper surfaces.
The Inspector will further satisfy himself of the correct tracing of
the line [20]of sight on the gun, by examining the lathe and the manner
of tracing it in the plane of the axis of the bore, at right angles to
the axis of the trunnions, as by it are placed the sights and vent,
and in their absence it serves as a line of metal sight.
The positions of the sight-masses are verified by the profile-board,
and by reference to the line of sight, traced on them; their form and
dimensions by the templates.
The positions of the lock-lugs and their forms are verified by means
of the bronze pattern furnished to each foundry for each class of the
Dahlgren guns, and their dimensions by the templates. For other guns
the position of the lock-piece is marked on the profile-board, and
their measures taken as above.
The opening of the cascabel and its curves, and those of the breech
and the muzzle-swell, are verified by means of the “cylinder-block”
and the templates.
30. The following variations from the proper dimensions may be
tolerated by the Inspector, though every effort should be made to
conform exactly to the drafts furnished by the Bureau of Ordnance.
| In the diameter of the bore | { | more | 0.03 | ||||
| less | 0.00 | ||||||
| Exterior diameter | { { |
where turned | } | more | .05 | ||
| or planed | less | .05 | |||||
| where not | } | more | .20 | ||||
| turned or planed | less | .05 | |||||
| In the length | { { |
of the bore, more or less | .10 | ||||
| from rear of base-ring or line to face of the muzzle, more or less |
.25 | ||||||
| of the cascabel, from rear of base-ring to the end, more or less |
.20 | ||||||
| of the reinforce, more or less | .10 | ||||||
| From the axis of trunnions to base-line, more or less | .05 | ||||||
| In the length of chamber, more or less | .10 | ||||||
| In the position of the axis of the trunnions | { | above axis of the bore | .00 | ||||
| below axis of the bore | .20 | ||||||
| In the length of trunnions, more or less | .05 | ||||||
| Diameter of trunnions, less | 0.05 | ||||||
| In the same gun, no variations to be tolerated in the position of the trunnions, or in their alignment. |
|||||||
| In the vent | { | diameter more | 0.025 | ||||
| do. less | .000 | ||||||
| In lock-piece any dimensions | { | more | .10 | ||||
| less | .00 | ||||||
| Variation of position of exterior orifice of vent | .05 | ||||||
| Idem of interior orifice of vent | .20 | ||||||
| In the length | { { |
in the bore or vent | .00 | ||||
| on exterior surface of reinforces, where turned or planed | .10 | ||||||
| elsewhere, where turned or planed | .25 | ||||||
| on trunnions, within one inch of rimbases | .10 | ||||||
| on trunnions, elsewhere | .25 | ||||||
| Enlargement or indentation of bore by proof, not to exceed | .02 | ||||||
[21]The measures are to be taken by scales corresponding with the standard
measures of the United States.
If two or more cavities should be near each other on the exterior, the
gun may be rejected, though the cavities should be of less depth than
tolerated in the table.
If the trunnions are placed within the limits of toleration, the
preponderance must not vary more than 5 per cent., more or less, from
that fixed in the contract.
POWDER-PROOF.
31. The proof-charges shall be as follows:
| Calibre and Class of Gun. | Charge of Powder. | Projectile. | Wads. | No. of Fires. | ||
| Shell-guns. | Pounds. | |||||
| XV-inch | 43,000 lbs. | 35 | Shell 330 lbs. | 3 | ||
| 45 | Shell 330 lbs. | 3 | ||||
| 55 | Cored sh. 400 lbs. | 3 | ||||
| XI-inch | 16,000 lbs. | 25 | Solid shot | Gromet | 1 | |
| 15 | Shell | 10 | ||||
| X-inch | 12,500 lbs. | 18 | Solid shot | Gromet | 1 | |
| 12 | Shell | 10 | ||||
| IX-inch | 9,000 lbs. | 15 | Solid shot | Gromet | 1 | |
| 10 | Shell | 10 | ||||
| 8-inch of 63 cwt., or | 7,000 lbs. | 12 | Shot | Gromet | 1 | |
| 10 | Shell | 10 | ||||
| 8-inch of | 6,500 lbs. | 10 | Shot | Gromet | 10 | |
| 8-inch of 55 cwt., or | 6,000 lbs. | 10 | Shot | 1 | ||
| 10 | Shell | 10 | ||||
| 32-pdr. of | 4,500 lbs. | 8 | Shot | 10 | ||
| Shot-guns. | 130-pdr. of — cwt., or | 16,000 lbs. | 30 | 1 Shot | Gromet | 10 |
| 64-pdr. of 106 cwt., or | 12,000 lbs. | 20 | do. | do. | 10 | |
| 32-pdr. of 57 cwt., or | 6,400 lbs. | 15 | do. | do. | 10 | |
| 32-pdr. of 51 cwt., or | 5,700 lbs. | 13 | do. | do. | 10 | |
| 32-pdr. of 42 cwt., or | 4,700 lbs. | 10 | do. | do. | 10 | |
| 32-pdr. of 33 cwt., or | 3,600 lbs. | 10 | do. | do. | 10 | |
| 32-pdr. of 27 cwt., or | 3,000 lbs. | 9 | do. | do. | 10 | |
The cannon-powder for proof shall be of not less than 1,500 feet
initial velocity, as determined by the gun-pendulum at the Ordnance
Yard, Washington.
It shall be filled in service cylinders, and well settled.
For chambered pieces the increased charges should fill the chamber and
necessary portion of the bore.
The projectiles shall be of full weight, and not below the mean gauge;
the shells shall be filled with a mixture of sand and ashes, to bring
them up to the proper weight of the filled shell.
Sabots for the shell and a gromet wad over the shot.
The gun should be fired on skids or a proving-carriage, to test the
trunnions.
If five per cent. out of any lot offered for ordinary proof under a
contract shall fail to sustain it, the whole may be rejected, as may
be stipulated in the contract.
WATER-PROOF.
32. The pressure to be applied in the water-proof will be two
atmospheres, or thirty pounds to the square inch.
The penetration of water in this proof through the metal of the piece,
in any place, will cause the rejection of the gun; and if, on
examination after the water-proof, there shall be any defects
indicated by weeping or dampness in the bore, the gun shall be
rejected.
The water-proof is alone to be depended on to detect minute clusters
of cavities in the bore, which for this purpose should be perfectly
dry, and examined by sunlight. All inspections, consequently, should
take place in fair weather, and when the temperature is above the
freezing-point.
MARKING GUNS.
33. Guns for the naval service, received by authority of the Bureau of
Ordnance, are to be marked in the following manner, viz.:
On the cylinder, in the line of sight near the sight-mass, all
accepted guns are to have stamped an anchor two inches long.
Drawings of these stamps will be furnished by the Bureau of Ordnance.
On the base ring or line, the initials of the foundry, the register
number, and the weight of gun in pounds.
On the right trunnion, the calibre and year of fabrication.
On the left trunnion, the letter P. and the initials of the inspecting
officer; all the above in one-inch letters.
On the upper jaw of the cascabel, the preponderance in pounds to be
stamped lightly with half-inch figures.
On the end of the upper jaw, the cascabel block and head of the pin,
the foundry number in quarter-inch figures.
The foundry number is also to be marked on the right rimbase.
Guns rejected for imperfections of any kind will have the letter C.
stamped on the anchor, so as to partially obliterate it.
The founders are to be dissuaded from selling such guns to other
parties, and required to break them up.
Guns rejected for such defects as render them dangerous to those who
fire them, should be irreparably mutilated, with the consent of the
founder.
EXTREME PROOF OF TRIAL-GUNS.
34. The extreme proof of guns intended for trial of metal, subject to
such modifications by the Bureau as future experience may dictate,
will be conducted as follows:
A suitable ‘butt’ shall be erected to arrest the flight of the
projectiles used in proof, and to admit of their easy recovery, and a
bomb-proof, readily accessible, for the protection of the firing
party.
When practicable, the ‘butt’ should be made thick enough to allow the
shot to just pass through, and be stopped by another beyond it,
without penetrating the latter; this is, for XI-inch, about 12 feet.
With care, it is estimated that 130 shells may be fired 1,000 times,
at the rate of one hundred rounds, per day.
After undergoing the ordinary proof established for its calibre and
class, the gun selected for extreme proof shall be subjected to at
least 1,000 rounds with service charges.
It may be fired from the skids, or suspended, as the Bureau may
direct.
During the trial the gun shall be frequently and critically examined,
inside and out, for cracks or defects, especially about the interior
orifice of the vent, of which impressions are to be taken in wax at
regular intervals, in the manner prescribed on page 16, or in such
other manner as the Bureau may direct. If they show that the vent is
corroded in furrows, and enlarged considerably in diameter at its
junction with the bore, a permanent impression is to be taken in lead,
to show the conical enlargement. The following manner, practised at
the Experimental Battery at Washington, is recommended:
IMPLEMENTS REQUIRED.
35. 1. A soft wire about 0.07 in. in diameter, and 3 or 4 fathoms
long.
2. A lever about twice the length of the bore, and about 3 inches in
diameter, and shod to suit the curve of the bore nearly.
3. A small button of soft lead, judged to be of sufficient size to
fill the vent at least one inch from the bore. This is to be pierced
lengthwise to receive the wire.
TO TAKE THE IMPRESSION.
36. Shove the wire through the vent; let it pass along the bore and
out at the muzzle; put it through the leaden button and tie a knot at
the end. Draw the wire back through the vent until the leaden button
is introduced firmly into the inner orifice.
[25]Apply the lever, making its shoe bear on the button, and force it well
in by repeated blows, the muzzle being the fulcrum. This done,
disengage the button by pushing in the priming-wire.
In taking impressions of the vent and cracks, each button in turn is
used as a pattern for moulding its successor, allowing for the
progressive enlargement of the vent, or the cracks emanating from it.
When the crack shows itself, the head of the button should be so
enlarged as to include it.
These examinations should take place after every twenty fires, at
least, and more frequently when any unusual enlargement of the vent or
extension of cracks shall be developed, and indicate its speedy
destruction.
Before each examination the bore of the gun is to be carefully washed
and dried.
In recording the measurements of the bore in extreme proof and after
service, distinguish between “indentation,” which is the depression at
the “seat of the shot,” which is always below, and the “wear of the
bore,” which is generally above, and increase of bore, or
“enlargement” from any other cause.
When from the appearance of the bore at the interior orifice of the
vent, and especially when a crack or cracks appear to be extending
rapidly, the vent so enlarged may be filled with melted tin, zinc, or
Babbitt metal,—a tight-fitting sponge-head being pushed to the bottom
of the chamber to close the interior orifice,—and the other vent be
drilled through for the purpose of continuing the firing.
The precise time at which this is to be done will vary, according to
circumstances; such as quality of metal, charge, and elevation.
The endurance of a smooth-bored gun with service charges may be surely
predicted by observation of the progressive wear of the interior
orifice of the vent.
There are certain general forms in which this enlargement takes place.
They may be classed as triangular, lozenge, quadrilateral, star,
circular, and elliptic. (See Plate.)
With the ordinary central vent, when subjected to a rapid, continuous
fire, the enlargement usually takes the form of an isosceles triangle,
the apex of one of the angles towards the muzzle, and the other two
perpendicular to it.
With the lateral vent of the Dahlgren system it usually takes the
lozenge form, the cracks extending from the opposite angles lengthwise
of the bore.
With those rifled cannon in which the vent is bouched, the cracks
appear around the bouching; and although the bouching preserves the
vent, yet the formation of fissures around the enlarged orifice, when
once commenced, causes a greater tendency to rupture. With the vent
not bouched, the wear in rifled cannon is about double that of the
smooth-bore.
So long as the wear of the vent is regular and without cracks, a mere
[26]enlargement is not indicative of danger; but when it reaches a
diameter of four-tenths (.4) of an inch the vent should be closed and
a new one opened.
A gun of large calibre should not in service be expected to endure
more than 400 or 500 rounds before it will be necessary to open the
new vent, which, however, will be of no advantage, unless the old one
be closed at its interior orifice, on which the gases would otherwise
continue to act as a wedge.
The first distinct appearance of the cracks, as shown by the button,
is the proper limit.
After the gun bursts, make a sketch or draft showing lines of
fracture, and reserve specimens to be sent to the Ordnance Yard at
Washington for trial of density and tensile strength; and, if
practicable, a photograph should be taken.
PREPARATION OF GUNS FOR SERVICE.
37. After the guns have been received at the Navy Yards it is
necessary to adjust the sights, and, in the guns of the Dahlgren
pattern, cut the screw hole in the cascabel.
CUTTING THE SCREW-HOLE.
38. The boring and screw-cutting machine is a convenient portable hand
drill-press, the use of which is readily understood by any machinist.
The gun being carefully levelled, and the trunnions placed horizontal,
the position of the centre of the screw-hole, which in the guns of the
Dahlgren pattern is tangent to the radius of the breech, is marked on
the neck of the cascabel with a centre punch.
The machine is placed on the cascabel, the boring shaft inserted in
the hollow leading bar, and its movable centre placed on the mark. The
instrument is then set vertical, by a spirit-level on the cogged
driving-wheel, and the four pairs of set screws on the clamp-head
embracing the cascabel.
The centre is then removed, and a drill inserted in the lower
extremity of the boring-shaft, which, being held firmly by a shoulder
and turned by a four-armed wrench, while pressed up to the metal by
slowly turning the cogged driving-wheel, cuts the hole. This is
successively enlarged, by two or more counterbits, to the size of the
body of the screw.
The cutter is then inserted in the leading bar, and the thread cut.
ADJUSTMENT OF THE SIGHTS.
39. The bore having been thoroughly cleaned, the axis is levelled by a
spirit-level; this may be very conveniently done by the aid of the
levelling-bar. The axis of the trunnions is to be laid horizontal,
either by placing a small level on the trunnions, or, as more exact,
by using the trunnion-square. If the trunnion-square is used it will
be proper to verify the position of the line of sight, which is
frequently incorrectly placed at the foundries.
The breech-sight is then to be adjusted.
A brass head or tompion, fitted with a vertical arm, on which there is
a ledge for a spirit-level, is then introduced into the bore, and the
arm placed vertical by the spirit-level and a tangent screw.
The arm is pierced on its centre line with two holes—one at the
height of the prescribed diameter of the muzzle, the other at a height
equal to the proper distance of the bottom of the sight-notch from the
axis of the bore. A waxed thread or fine wire, being stretched from
the upper hole to the [28]centre of the sight-notch, will coincide with
the line of sight traced on the swell of the muzzle, the top of the
reinforce sight-mass, and the base-line, if they are correctly placed.
It will also be parallel to the axis of the bore if the adjustment of
the breech-sight is exact, and the top of the reinforce-sight is made
to coincide with it.
This is, however, seldom the case, and after the adjustment of the
reinforce-sight it is necessary to verify it.
This is done by the levelling-bar—a square steel bar with parallel
faces, somewhat longer than the distance between the sights, the rear
end of which is bevelled at 60° (the angle at which the sight is
placed).
The outer end of this bar is placed on the reinforce-sight, which has
been previously adjusted to the proper height, and the bevelled end in
contact with the outer face of the sight-bar. The bar is then levelled
by two screws placed near the inner end, and a spirit-level on its
upper surface.
If then the bottom of the sight-notch coincides with the bottom of the
bar, the line of sight is parallel to the axis; otherwise, the
reinforce-sight or the sight-bar must be lowered until coincidence is
obtained.
A centre line on the bar verifies the coincidence of the line of
sight, and also the motion of the sight-bar in the vertical plane. The
bevel verifies the angle of the bar; and the distance between the
outer faces of the sight-notch and of the reinforce-sight, being also
marked on the levelling-bar, verifies this adjustment.
Another method is sometimes and more advantageously used in adjusting
the sights of guns which have not been turned.
Two iron or wooden disks are turned to the exact diameter of the bore,
and placed on a rod two or three feet longer than the bore. One of the
disks is placed near the bottom of the bore, the other just within the
muzzle. On the part projecting beyond the muzzle there is a double
square, each arm of which is divided into equal parts and traversed by
a fine slit.
The square being set vertical by a spirit-level or plumb-line, and a
waxed thread or wire stretched taut from the outer arm through the
slit, cutting equal divisions on each, and passing through the centre
of the slit, it is evident that a line of sight is obtained through
the centre of metal and parallel to the axis of the bore.
This method has the advantage of adjusting the sights in any plane
parallel to the axis, as in the case of the side-sights of rifled and
other cannon.
ADJUSTMENT OF THE SIDE-SIGHTS.
40. The gun having been levelled, and the trunnions placed horizontal,
a centre line is to be drawn on the top of the left (or right)
rimbase.
The support for the sight is then to be fitted to the breech, at the
distance from this line marked on the pattern-sight for its calibre,
with the [29]bottom of the sight-notch in the bar, exactly the height of
the front sight (one inch) above the upper surface of the rimbase; the
sight-bar perpendicular.
It is advisable to place a very thin sheet of rubber under the
support, to prevent the heads of the screws from being jumped off by
the vibration. The screws have the same thread as those for the
present reinforce-sight.
After the breech-sight is adjusted, a parallel to the axis of the bore
is to be drawn in the usual manner, and the front sight screwed in on
the rimbase.
Some trifling adjustment may then be required, to bring the height of
the top of the front sight and the bottom of the sight-notch parallel
to the axis of the bore in both the horizontal and vertical planes.
PRESERVATION OF GUNS.
41. Guns received at Navy Yards are to be carefully placed on the
ranges of masonry, capped with iron skids or bars. It is intended that
these shall be so high that the guns may be rolled upon them without
their trunnions touching the ground, and that the earth will not be
beaten up against their muzzles by heavy rains.
42. The surface over which guns are to be stowed should be kept firm
and clear of all vegetation, and for this purpose should be covered
with cinders from the smiths’ forges, or other substance unfavorable
to or destructive of the growth of plants and grasses.
43. In stowing the guns they should be made to rest on one of the
skids or bars, a little forward of the base-ring, the muzzle
depressed, but not so much as to prevent the use of the sponge to
clean out the gun; the axis of the trunnion of each to be inclined the
same way, and just enough not to touch the adjoining gun; the vents to
be upwards.
44. Before the stowage is finally made they should be carefully and
thoroughly cleaned from rust and all improper coatings, and be
lacquered internally and externally with such composition as may be
directed by the Bureau. This should be applied, when practicable, when
the guns are well warmed by the rays of the sun. The vents and all
screw-holes are to be stopped with plugs made of soft wood or oakum
dipped in tallow, after they have been protected by an application of
beeswax dissolved in spirits of turpentine, or other composition that
may be directed by the Bureau.
45. No tompions are to be put into the guns when they are stowed
unless expressly directed by the Bureau; if so ordered, a score must
be cut out from them on the lower side, half an inch wide and equally
deep.
46. In lacquering guns care is to be taken to leave the distinguishing
marks and numbers distinctly visible.
47. Shell-guns are always to be denominated by the diameter of the
bore; shot-guns by the weight of their shot.
48. Guns of the same calibre and class, when it can be conveniently
done, are to be stowed in the same tier or range, and those of each
class belonging to or selected for any particular vessel kept
together. Each tier or range of guns of a particular calibre or class
is to be marked accordingly with paint on a sign-board, and the first
gun of each class belonging to a vessel is to be marked with the name
of the vessel.
[31]49. The Officer on Ordnance duty will examine all the guns in the yard
and on board vessels in ordinary, at least once in every two weeks,
and take care that they are kept protected from rust or any other
injury, and will report to the Bureau whenever any additional
precautions or arrangements are required for their proper
preservation, and which may not be furnished by the order of the
Commandant of the Yard.
50. No cutting, boring, or chiselling of guns is to be done at any
time without express authority from the Bureau.
51. No condemnation of guns or small arms belonging to the Navy is to
be made, except upon surveys specially ordered, and confirmed by the
Chief of the Bureau; nor of other articles which have been furnished
under his authority, or by his direction, unless by surveys ordered or
sanctioned by him.
52. When guns and their equipments are to be put on board vessels for
their armament, the guns are to be carefully and thoroughly cleaned
and examined, to see that they are in all respects in proper
serviceable condition.
The vents should be examined with the vent-gauges and searchers, to
see that they are clear from any substance which may obstruct the use
of priming-wires and primers.
53. The carriages are also to be carefully examined, the
trunnion-holes and arms of the axletrees cleaned, and saturated with
boiled linseed oil, the cracks filled with putty, and rubbed smooth,
and the trunnion-holes black-leaded. The iron work should be freed
from rust, all screws be made to work easily, and be well cleaned and
coated with proper composition.
54. The Ordnance Officers will see that the sights are properly fitted
and marked for their proper guns. The greatest care should be taken
that they are properly adjusted, as the efficiency of the ship depends
on it, and it is difficult to detect or remedy any error after they
are placed on board; that the beds and quoins are fitted and adjusted,
and the quoins graduated to degrees or distances to correspond with
those marked on the sight-bars. Porter’s quoin is adopted for all
carriages requiring quoins.
55. New guns are to have locks fitted to them before being put on
board ship. Those having two lugs will have the one on the right
fitted; the other is to be left solid.
56. When the guns are to be shipped for transportation merely, the
same precautions are to be taken to guard them from injury as on
shore, with the addition of a wad dipped into the composition which
covers the bore, thrust into the muzzle, and connected with the
tompion by a lanyard.
In the transportation of guns by rail—unboxed—the vents are to be
[32]plugged with soft wood, puttied over, and turned vent downwards on the
trucks. All bronze howitzers transported by rail shall be boxed.
57. At the termination of a cruise the guns composing the battery of
every vessel-of-war of the United States, shall be carefully examined
by the Ordnance Officer of the Yard, and such others as may be
directed, with the view to discover and report any injuries which they
may have sustained in service, or any defects which may not have been
developed in the original proof. In this examination the attention of
the Inspecting Officers is to be directed to the following points,
viz.:
Enlargement of the interior or exterior orifice of the vent.
Indentations or hollows produced by the shot balloting against the
surface of the bore, or by the action of the gases.
Cuts or scratches in the bore, produced by fragments of broken or the
roughness of imperfect shot.
Roughness or corrosion of the metal on the exterior, produced by
neglect or exposure.
Similar injuries in the bore, or any enlargement of the bore, which is
to be ascertained by measuring with the star-gauge, at every
one-fourth (1/4) of an inch from the bottom of the cylindrical part to
the seat of the shot, every inch from that point to the trunnion,
thence every 5 inches to the muzzle, and the results recorded in the
usual form, and reported to the Bureau, that they may be compared with
those noted at the original inspection.
In rifled cannon, cracks or injuries produced by firing, or the
rupture of shells, are to be sought for:—
Around and in rear of the vent bouching;
On the top of the bore, between the trunnions and reinforce band.
On the lower side of the bore, near the seat of the shot, at the
junction of the lands and grooves.
Near the inside of the muzzle, caused by explosion of shells.
Care is to be taken that the distinguishing marks and numbers are
always accurately noted, that the correct history of each gun may be
preserved.
58. Before sailing, the Inspector of Ordnance will furnish the
commander with a descriptive list of his battery, together with a
statement of the number of times each gun on board has been fired, in
the following form; a copy of which the commander shall transmit to
the Bureau before sailing: this list shall be returned to the
Inspector of the Yard to which she may return, with all additional
firing noted opposite the number of each gun, certified “correct” by
the commander.
In the list furnished by the Inspector, if the “number of fires” is
estimated, it is to be entered in red ink (See Arts. 62-64), and
so carried forward in the subsequent returns.
| NAME OF VESSEL. | STATION. | |||||||
| ( ) | ( ) | |||||||
| Class of Gun. | Marks on Base-Ring. | Trunnions. | Pivot, or Broadside. | Where Received. | Number of Fires to Date. | |||
| Reg. No. | Weight. | Foundry. | Right. | Left. | ||||
| Forwarded by | Commanding. | |||||||
59. The Bureau directs that, whenever a gun is taken on board a
vessel, the number of rounds which have been fired from it be
ascertained by the Commander, a record made thereof, and forwarded
with the descriptive list, in the above form, to the Bureau; and
whenever a gun is landed or transferred to another vessel, a similar
record is to be furnished the officer receiving it, which must be
stated in the receipt for the gun, and a copy forwarded to the Bureau
of Ordnance by the officer delivering the gun.
The Commander shall also transmit to the Bureau a quarterly return,
according to the prescribed form (See Appendix B, No. X.) of all
firing whether with or without projectiles, in action or otherwise;
noting particularly the kind of shell, species of fuze, kind, charge,
and name of maker of the powder used in the gun and shell. He shall
take care to note also the number of premature explosions of shells,
and the point at which they take place, with the supposed causes
thereof.
60. The Inspector will also furnish the commander with a set of leaden
impressions of the interior orifice of the vents of the guns, secured
in a suitable box, that he may be able to compare the wear and gradual
enlargement. These will be transferred with the guns to other ships or
when landed.
61. The protracted firing to which the Navy cannon have been
subjected, and to which they will continue to be liable, renders it
necessary not to exceed the number of fires designated for each vent.
These must never exceed five hundred (500) fires for each vent.
In the IX-in., XI-in., and guns of similar form, the right vent is
always bored through, and the left initiated sufficiently to give it
direction.
When five hundred (500) rounds have been fired from the right vent,
it [34]is to be closed by filling it with molten zinc or lead, and the
left vent is to be bored, which will require a skilful mechanic.
When the left vent has been fired five hundred (500) rounds, the gun
is to be disused, as it will then have been fired one thousand (1,000)
times.
It may happen, from some peculiarity in the nature of the iron, that
the vent may be worn to its full extent before five hundred (500)
rounds have been fired, in which case the vent is then to be closed,
and the other vent opened.
The gun should be frequently and critically examined inside and out
for cracks or defects, especially about the interior orifice of the
vent, of which impressions should be taken after every ten shotted
rounds in practice, and at the close of an action.
The instrument described on p. 16 is convenient, but by no means
indispensable—any small spar, such as a boat’s mast, or even the
rammer handle with a curved piece of wood seized to the end, will, in
expert hands, take an impression of the vent or crack equally well.
62. As the best indication of the amount of firing to which any
smooth-bored gun has been exposed, when it is not otherwise known, is
given by the enlargement of the vent, particular attention will be
paid, in the reinspection of the guns, to this point. The standard
gauge will be used to ascertain the general enlargement, and the
searcher to detect defects which may have been developed in firing.
Impressions are to be taken of the lower orifice of the vent with
softened wax, and if they show that the vent is corroded in furrows
and enlarged considerably in diameter at its junction with the bore, a
permanent impression is to be taken in lead to show the conical
enlargement. (See mode of taking impressions, Arts. 35 and 36.)
63. When the number of rounds fired is not known, an estimate may be
made from an examination of the vent by cylindrical gauges differing
from each other by .01 of an inch passed through it. If the number is
estimated, it is to be entered in red ink.
64. In all the guns of the Dahlgren pattern the vents are (.2)
two-tenths of an inch in diameter. In all other guns .22 of an inch
exterior, .2 of an inch on the interior.
Observation of the wear of the vent in proof firing of smooth-bored
guns gives the following as the average diameter of the vent, after
the undermentioned number of fires:
| No. of rounds | 100 | 200 | 300 | 400 | 500 |
| No. of rounds | .24 | .26 | .30 | .35 | .40 |
These, combined with examination of the interior orifice, will enable
a very correct judgment to be formed of the probable number of fires
sustained and duration of the gun.
[35]The larger the calibre and the heavier the charge the more promptly
the wear is manifested on the interior and exterior.
This enlargement does not extend very far from the lower orifice until
the enlargement on the exterior has reached a diameter of .3 of an
inch.
65. So long as the wear is regular, and the cracks, although numerous,
do not exceed .5 of an inch in length, the indications are good. If
the cracks are but few or diminish in number, running into each other
and extending rapidly, it is a very unfavorable sign. In the rifle
cannon (Parrott’s) cracks athwart the bore either running into the
bouching or in the rear of it are very unfavorable to the gun’s
endurance.
66. Whenever any premature explosions of shells take place within the
gun or near the muzzle, a careful examination of the gun shall be
made; and all the circumstances of the case, together with the
opinions of the commander and officers in immediate charge as to the
cause thereof, reported to the Bureau; taking care to state the kind
of shell and species of fuze used; the mode of loading; whether the
shell was lined or coated on the interior; kind, charge, and name of
maker of the powder which was used in the gun and shell.
There is reason to believe that few failures of the Parrott rifles
have occurred where the guns have not been previously, or at the time,
injuriously strained by the explosion of shells within the bore.
67. Whenever a gun shall give away under fire, or an accident of any
kind happen to one, the Bureau desires to be immediately informed of
all the facts in relation thereto.
Particular attention should be paid to the following points:
1. The manner in which the gun was loaded, stating the charge and kind
of powder used, and character and weight of projectiles.
2. The condition and appearance of the gun after it gave way, and what
effect was produced on the carriage by the explosion.
3. What injuries, if any, occurred to the crew of the gun or vessel.
Sketches of the gun and fragments which remain should also be sent to
the Ordnance Yard at Washington for trial of density and tensile
strength, accompanied by the written statement in detail of the
officers in immediate charge of the gun, and if practicable a
photograph should be taken.
INSPECTION OF SHOT AND SHELLS.
RULES AND MEMORANDA FOR THE GOVERNMENT OF INSPECTORS.
68. All shot and shells for the naval service must be—
1st. Made from gray or mottled charcoal pig-iron.
2d. This iron most not be blasted with anthracite coal.
3d. It must be poured into sand moulds.
69. After being cast in this manner, the shot and shells must be—
1st. Spherical.
2d. Smooth on the surface.
3d. Free from the defects named in the following rules for the use of
the inspecting instruments:
FOR SHOT.
70. Inspecting Instruments.—One large, small, and one medium ring
gauge, and one cylinder-gauge for each calibre. The cylinder-gauge
shall have the same diameter as the large gauge, made of cast iron,
and three calibres in length. One hammer weighing two pounds, and
having a flat face and a conical point; one searcher, of steel wire,
with a handle; one pair of calipers and standard scale; one cold
chisel; steel punches.
71. After having been well cleaned, each shot is placed upon a table,
and examined to see that its surface is smooth, and that the metal is
sound and free from seams, flaws, and blisters. If clusters of
cavities or small holes appear on the surface, strike the point of the
hammer into them, and ascertain their depth with the searcher. If the
depth of the cavity exceeds 0.2 inch, the shot shall be rejected; it
shall also be rejected if any attempt is made to conceal defects by
plugging or filling holes in any mode whatever.
72. The shot must pass in every direction through the large gauge, and
not at all through the small one; the calipers and scale will
determine exactly the difference of diameters of the same projectile.
73. The ring and cylinder gauges shall be examined before each
inspection, and when found to have enlarged 0.01 of an inch, must be
laid aside and marked as unserviceable.
74. The shot are next to be passed through the cylinder-gauge, placed
at an inclination of about two inches between the ends, and supported
in such a manner as to be easily turned from time to time, to prevent
its being worn in furrows. Shot which slide or stick in the cylinder
shall be rejected; the latter must be pushed out from the lower end of
the cylinder with a wooden rammer.
[37]75. The next proof of shot is to drop a few taken indiscriminately
from the lot under inspection from a height of twenty feet on a solid
platform of iron, or roll them down an inclined plane of the same
height against a mass of iron; after which they are again examined for
defects of metal.
76. The average weight of shot shall be determined by weighing at
least three parcels, of from 20 to 50 each, taken indiscriminately
from the lot. As many of the lightest shall be weighed separately as
the inspecting officer may deem necessary, and all found to fall below
the least weight allowed in the annexed table of the dimensions of
shot and shells shall be rejected. Shot made of charcoal iron will be
stamped with a * or “burr” near the gate.
SHELLS.
77. Shells should be cast on a half-inch hollow spindle, to allow the
gas to pass freely from the core; the fuze-hole would then be
sufficiently large to admit the gauge for thickness before the shells
leave the foundry.
78. Inspecting Instruments.—In addition to the instruments for shot,
there will be required calipers with steel points for measuring the
thickness of the shell at points on the great circle at right angles
with the axis of the fuze-hole; gauges for the thickness at and
opposite the fuze-hole; a conical flat steel gauge for the fuze-hole,
marked at the point to which it should enter; a pair of strong
hand-bellows, with a wooden plug to fit the fuze-hole and the nozzle
air-tight. (See Plate.)
INSPECTION.
79. The surface of the shell and its exterior dimensions, form,
weight, and strength, are to be examined and tested as in the case of
shot, and subject to all the conditions there specified.
80. The greatest care is to be taken to remove every particle of sand
or fragment of iron from the interior when they are about to be loaded
for service. And the Inspectors of Ordnance at foundries or Navy Yards
will satisfy themselves that this has been done before accepting or
preparing them for service.
81. The shell is next struck with a hammer, to judge by the ring or
sound whether it is free from cracks; and the exterior and interior
diameters of the fuze-hole (which should be accurately reamed) are to
be verified, and the soundness of the metal about the inside of the
fuze-hole ascertained. To determine the thickness of the metal, three
points, at least, on the great circle at right angles to the axis of
the fuze-hole are to be measured; also one at the fuze-hole and one at
the bottom. No shell shall be received which deviates more than
one-tenth of an inch from the proper thickness in any part.
[38]82. The shell is next placed in a tub of water, which should be deep
enough to completely cover the shell. Air is then forced by the
bellows into the shell. If there are any holes in it, air-bubbles will
rise on the surface of the water, and the shell shall be rejected.
83. This occasionally occurs from the escape of air from porous spots
which do not extend to the interior of the shells. In this case the
action of the bellows produces no increase of bubbles, which cease
rising as soon as the spots or cavities are filled with water. Porous
spots are also detected by their absorbing water and drying slowly
when exposed to the air, and shall likewise cause the rejection of the
shell.
84. The Inspecting Officers will stamp the shell at one inch from the
fuze-hole with their initials, also those of the foundry at which they
are cast.
The Inspector or one of his assistants must be present when shot or
shell are inspected; and the stamps and marks are always to be
retained in the possession of the Inspector.
85. Rejected shells are to be mutilated by chipping a piece out at the
fuze-hole.
86. If, upon the inspection of shot or shells, any of them should be
found not to conform strictly to these instructions or to the
requirements of the contract under which they are offered for
reception, the Inspecting Officer is not to receive them; but if, in
his opinion, the defects, taken in connection with the general
character of the articles, will not impair their efficacy or render
them unsafe or hazardous, he may refer to the Chief of the Bureau of
Ordnance for his decision, forwarding to him minute and full
information on the subject.
87. Shot and shells shall be delivered for inspection at the places
specified in the contract, at the expense of the contractor; and those
which are rejected shall be immediately removed, also at his expense.
[39]Table of Shot and Shell Gauges.
SHOT.
| Dimensions, Weight. | XV. (Cored.) |
XIII. | XI. | X. | IX. | 8. | 32. | |||
| Diameter of large gauge for foundries. | 14.83 | 12.83 | 10.83 | 9.83 | 8.83 | 7.88 | 6.28 | |||
| Diameter of small gauge for foundries. | 14.77 | 12.77 | 10.77 | 9.77 | 8.77 | 7.82 | 6.22 | |||
| Mean of gauge for foundries | in. | 14.80 | 12.80 | 10.80 | 9.80 | 8.80 | 7.85 | 6.25 | ||
| Mean weight required of foundries | lbs. | 400. | 276. | 166. | 124. | 90. | 65. | 32.5 | ||
| Least weight allowed foundries | lbs. | — | — | — | — | — | 64.5 | 32. | ||
| Diameter of small gauges for service | { | 1st class | in. | — | — | — | — | — | 7.82 | 6.22 |
| 2d class | in. | — | — | — | — | — | 7.80 | 6.20 | ||
SHELL.
| Dimensions, Weight. | XV. | XIII. | XI. | X. | IX. | 8. | 32. | |||
| Diameter of large gauge for foundries. | 14.83 | 12.83 | 10.87 | 9.87 | 8.87 | 7.88 | 6.28 | |||
| Diameter of small gauge for foundries. | 14.77 | 12.77 | 10.83 | 9.83 | 8.83 | 7.82 | 6.22 | |||
| Mean of gauge for foundries | 14.80 | 12.80 | 10.85 | 9.85 | 8.85 | 7.85 | 6.25 | |||
| Thickness. | { | Proper | in. | 2.85 | 2.37 | 2. | 1.80 | 1.60 | 1.50 | 1.25 |
| Greatest | in. | 2.95 | 2.47 | 2.1 | 1.90 | 1.70 | 1.60 | 1.35 | ||
| Least | in. | 2.75 | 2.27 | 1.9 | 1.70 | 1.50 | 1.40 | 1.15 | ||
| Diameter of fuze-hole | { | Proper and least | .65 | .65 | .65 | .65 | .65 | .65 | .65 | |
| Greatest | .75 | .75 | .75 | .75 | .75 | .75 | .75 | |||
| Diameter of large gauge for strapped | 14.93 | 12.93 | 10.93 | 9.93 | 8.98 | 7.93 | 6.33 | |||
| Mean weight required for foundries | lbs. | 330. | 208. | 127. | 95. | 68.50 | 50. | 25. | ||
| Least weight allowed foundries for any one | lbs. | — | — | 126. | 94. | 67.50 | 49. | 24.5 | ||
| Weight of filled and sabotted | lbs. | 352. | 216.5 | 135.5 | 101.50 | 73.50 | 52.75 | 26.5 | ||
For gauges of boat-gun fixed ammunition, see Boat Armament of United
States Navy, by Admiral Dahlgren, 2d edition, 1856.
SHRAPNEL.
| Dimensions, Weight. | XV. | XI. | X. | IX. | 8. | 32. | 24. | 12. | |||
| Mean of empty case. | { | Gauge | in. | 14.8 | 10.85 | 9.85 | 8.85 | 7.85 | 6.25 | 5.67 | 4.52 |
| Thickness | in. | 1.25 | 1. | .87 | .75 | .69 | .60 | .55 | .45 | ||
| Weight | lbs. | 178. | 76. | 57. | 38. | 29. | 15. | 11. | 6.5 | ||
| Balls | { | Number | 1000. | 625. | 435. | 350. | 220. | 235. lead | 175. lead | 80. lead | |
| Thickness | lbs. | 1. | .85 | .85 | .85 | .85 | .65 | .65 | .65 | ||
| Weight | lbs. | 140. | 51. | 33.5 | 27. | 17. | 14. | 10.5 | 4.75 | ||
| Sulphur. | lbs. | 30. | 10. | 8.5 | 7. | 5. | 2.25 | 1.5 | .75 | ||
| Bursting charge. | oz. | 10. | 6. | 4. | 3. | 2.5 | 1.25 | 450 grs. | 350 grs. | ||
| Weight complete. | } | lbs. | 358. | 141. | 101. | 75. | 52. | 32. | 24. | 12. | |
| Weight sabotted. | |||||||||||
DIMENSIONS OF SABOTS AND STRAPS FOR SHELL AND SHRAPNEL.
| Dimensions, Weight. | XV. | XIII. | XI. | X. | IX. | 8. | 32. | 24. | 12. | |||
| Thickness. | in. | 5. | 4.50 | 2.75 | 2.75 | 2.40 | 2. | 1.50 | 1.90 | 1.50 | ||
| Diameter | { | greatest | in. | 14.25 | 12.25 | 10.50 | 9.50 | 8.60 | 6.90 | 6. | 5.7 | 4.60 |
| least | in. | 14.25 | 12.25 | 10.50 | 9.50 | 8.60 | 6.80 | 5.5 | 5.55 | 4.40 | ||
| Depth of saucers. | in. | 2.50 | 2.25 | 1.80 | 1.60 | 1.40 | 1.20 | 1. | 1.50 | 1.30 | ||
| Weights. | lbs. | 8.90 | 5.50 | 2.70 | 2.40 | 1.85 | .90 | .50 | .46 | .22 | ||
| Shell-straps | { | Length | in. | 25.75 | 22.5 | 17.25 | 17.25 | 14.75 | 13.25 | 10.25 | 7.625 | 6.375 |
| Width | in. | 1.25 | 1. | .75 | .75 | .75 | .75 | .625 | .50 | .375 | ||
| Tin | No. | XXD | XXD | XXD | XXD | IX | IX | IC | IC | IC | ||
| Tacks. | No. | 20 | 16 | 12 | 12 | 8 | 8 | 8 | 4 | 4 | ||
GRAPE.
| Dimensions, Weight. | XV. | XI. | X. | IX. | 8. | 32. | 24. | 12. | Rifle | ||
| 20. | 12. | ||||||||||
| Weight of stand | lbs. | — | 34.75 | 26.10 | 20.4 | 15.7 | 8.75 | ||||
| Weight of balls | lbs. | — | 89.10 | 71.70 | 25.20 | 37.12 | 24.80 | ||||
| Number of balls | — | 15. | 15. | 18. | 18. | 12. | |||||
| Diameter of balls | in. | — | 3.55 | 3.34 | 2.80 | 2.50 | 2.50 | ||||
| Weight complete | lbs. | — | 125.08 | 98.62 | 74.10 | 58.25 | 33.50 | ||||
CANISTER.
| Dimensions, Weight. | XV. | XI. | X. | IX. | 8. | 32. | 24. | 12. | |||
| Windage | in. | .25 | .25 | .25 | .25 | .25 | .25 | .15 | .15 | ||
| Height | { | Empty case | in. | 15.50 | 13.50 | 11.75 | 10.5 | 9.75 | 8.65 | 5. | 3.85 |
| Finished | in. | 1.25 | 12. | 10.5 | 9.5 | 8.75 | 7.75 | 6. | 5. | ||
| Case notched, and turned over | in. | .75 | .75 | .65 | .50 | .50 | .45 | 4.65 | 3.52 | ||
| Thickness of head | { | Top | in. | 1. | 5/8 | 5/8 | 5/8 | .75 | .50 | .35 | .3 |
| Middle | in. | 1. | 5/8 | ||||||||
| Bottom | in. | 2. | 1. | 1. | 1. | .75 | .50 | 1.90 | 1.90 | ||
| Size of | { | Rod | in. | 13/16 | 1/2 | 1/2 | 1/2 | ||||
| Nut diameter | in. | 2.75 | 1.75 | 1.75 | 1.75 | ||||||
| Nut thickness | in. | 1.50 | 1. | 1. | 1. | ||||||
| Bale | in. | 1/2 | 3/5 | 5/8 | 3/5 | ||||||
| Metal and thickness | { | Iron | No. | 20. | 25. | 25. | 25. | ||||
| Tin | No. | — | — | — | — | XXD | XXD | IC | IC | ||
| Balls | { | Number | 600. | 315. | 290. | 230. | 162. | 100. | 39. | 39. | |
| Diameter | in. | 1.30 | 1.30 | 1.30 | 1.30 | 1.30 | 1.30 | 1.30 | 1. | ||
| Weight | lbs. | 150. | 85. | 70. | 65. | 45. | 28. | 12.5 | 5.85 | ||
| Weight finished | lbs. | 207. | 120. | 98. | 70. | 50. | 30. | 14.55 | 7.75 | ||
Note.—Bottom of XV-inch canister, of two thicknesses of
oak, ash, or beech, crossing each other; put together with
wrought-iron nails, clinched; spindle riveting on the bottom
through a 3 inches square plate, ¼ thick; cast-iron
hexagonal nut, with wrought-iron bale.
For XI, X, and IX-inch, bottom-head one thickness of
one-inch oak, ash, or beech; spindle riveting on a plate
1¼ inches wide, by ¼ thick, running across the grain
the whole width of bottom, with a rivet at each end of
plate.
Top and centre heads of all made of white pine.
Iron cases to be well painted inside with red before
filling.
94. Shot of the first class, or which do not exceed 0.18 of an inch
windage, are to be entirely black, and those of the second class,
having from 0.18 to 0.20 of an inch windage, to be marked partly
white. Each class is to be piled and kept separate from every other.
Both classes are to be considered and supplied as “serviceable shot;”
but are to be stowed separately on board ship, and the returns to the
Bureau are to show the number of each, respectively. The number of
those having more than 0.20 of an inch windage are to be reported and
retained until special orders may be given for their disposition. In
case any should be taken as the foundation for piling serviceable
shot, they are to be painted entirely white and their number returned
as unserviceable.
PILING OF BALLS.
95. To find the number of balls in a pile—Multiply the sum of the
three parallel edges by one-third of the number of balls in a
triangular face.
In a square pile one of the parallel edges contains but one ball; in a
triangular pile two of the edges have but one ball in each. The number
of balls in a triangular face is x(x+1) ÷ 2; x being the number in the
bottom row. The sum of the three parallel edges in a triangular pile
is x+2; in a square pile, 2x+1; in an oblong pile, 3X + 2x-2; X being
the length of the top row, and x the width of the bottom tier; or
3m-x+1; m being the length, x the width of the bottom tier.
If a pile consists of two piles joined at a right angle, calculate the
contents of one as a common oblong pile, and of the other as a pile of
which the three parallel edges are equal.
Table giving the Number of Balls in a Triangular Pile, the Base of
which is X.
| Value of | Value of | Value of | Value of | Value of | |||||
| X. | S. | X. | S. | X. | S. | X. | S. | X. | S. |
| 1 | 1 | 6 | 56 | 11 | 286 | 16 | 816 | 21 | 1771 |
| 2 | 4 | 7 | 84 | 12 | 364 | 17 | 969 | 22 | 2024 |
| 3 | 10 | 8 | 120 | 13 | 455 | 18 | 1140 | 23 | 2300 |
| 4 | 20 | 9 | 165 | 14 | 560 | 19 | 1330 | 24 | 2600 |
| 5 | 35 | 10 | 220 | 15 | 680 | 20 | 1540 | 25 | 2925 |
Table giving the Number of Balls contained in a Square Pile, the
Base of which is X,
and in a Rectangular Pile, the Sides of which are
X and X + N.
| Value of X. | Differences | Value of N. | Differences | ||||||||||||
| 2d. | 1st. | 0. | 1. | 2. | 3. | 4. | 5. | 6. | 8. | 9. | 10. | 11. | 1st. | 2nd. | |
| 2 3 4 5 |
7 9 11 13 |
9 16 25 36 |
5 14 30 53 |
8 20 40 30 |
11 26 50 85 |
14 32 60 100 |
17 38 70 115 |
20 44 80 130 |
23 50 90 145 |
26 56 100 160 |
29 62 110 175 |
32 68 120 190 |
35 74 130 205 |
3 6 10 15 |
3 4 5 6 |
| 6 7 8 9 10 |
15 17 19 21 23 |
49 64 81 100 121 |
91 140 204 285 385 |
112 168 240 330 440 |
133 196 276 375 495 |
154 224 312 420 550 |
175 552 348 465 605 |
196 280 384 510 660 |
217 308 420 555 715 |
238 336 456 100 770 |
259 364 492 645 825 |
280 392 528 690 880 |
301 420 564 735 935 |
21 28 36 45 55 |
7 8 9 10 11 |
| 16 17 18 19 20 |
35 37 39 41 43 |
286 324 361 400 441 |
1496 1785 2109 2470 2870 |
1632 1988 2280 2660 3080 |
1768 2091 2451 2850 3290 |
1904 2244 2622 3040 3500 |
2040 2397 2793 3239 3710 |
2126 2550 2964 3420 3920 |
2312 2703 3135 3610 4130 |
2448 2556 3806 3800 4340 |
2584 3009 3477 3990 4550 |
2720 3162 3648 4180 4760 |
2856 3315 3819 4370 4970 |
136 154 111 190 210 |
17 18 19 20 21 |
| 21 22 23 24 25 |
45 47 49 51 53 |
484 529 576 625 676 |
3311 3795 4325 4900 8525 |
3542 4048 4600 5200 5850 |
3773 4301 4876 5500 6175 |
4004 4554 5152 5800 6500 |
4235 4807 5428 6100 6825 |
4466 5060 5704 6400 7150 |
4697 5313 3980 6700 7475 |
4928 5566 6256 7000 7800 |
5159 5819 6532 7300 8125 |
5390 6072 6803 7600 8450 |
5621 6325 7084 7900 8775 |
231 253 276 300 325 |
22 23 24 25 26 |
The number contained in a square pile is found in the column opposite
the number X.
In a rectangular pile let the smaller side be 19 = X, the longer side
be 26 = X + N. Then N = 7. Under 7 and opposite 19 we have 3,800. This
table may be indefinitely extended by the aid of the columns of
differences.
PRESERVATION OF SHOT AND EMPTY SHELL.
98. All round shot and shell are to be cleaned from rust and covered
with a thin lacquer of such composition as may be directed by the
Bureau when they are first received and when they are restowed.
99. For the present the following colors are established when put on
board ship: All shot, black; shell, red; shrapnel, white; length of
fuze stencilled on the shell. Special kinds of shell, as may be
directed by Bureau. (Crane’s shell, yellow; Pevey, blue.)
100. Empty shell, whether in store or in transportation, shall be most
carefully protected from damp, and are to have the fuze-bouching
coated with such composition as may be directed, and be stopped by a
plug of very soft wood, well coated with a mixture of oil and tallow,
screwed into them. The ends of the plugs should not be sawed off even
with the shell, but left square and project sufficiently to allow them
to be unscrewed by means of a wrench, and whenever these plugs are
removed for the purpose of fitting the shells for service, they are
not to be thrown away but preserved for future use.
They are to be piled with the fuze-holes down, and free from contact;
under cover when practicable, but with free ventilation.
101. Platforms of masonry, or of condemned shot, are to be prepared to
pile shot and shell upon, and are not to be wider, if space can be
found than to stow fourteen 32-pdr. shot, or not exceeding eight feet
in width. Square piles are to be preferred where there is room, but
where this may be deficient, the piles may be extended in length.
102. Shot and shell, after having been piled, are to be so far
examined in the first week of June in each year as to ascertain if
they require to be cleaned, relacquered, and repiled to secure their
proper preservation; and their condition reported to the Bureau, that
if any work upon them is necessary it may be finished during the warm
months of the year, when the lacquer can be best applied.
103. Whenever shot or shell are to receive lacquer care must be taken
that the quantity applied does not increase the diameter more than is
indispensably necessary, and in no case above the established high
gauge. Old lacquer and rust should be removed by scraping, as far as
can be conveniently done before a new coating is applied. For use at
the Navy Yards, a milling machine performs this very expeditiously.
Neither hammering nor heating is to be resorted to for this purpose.
Note.—After numerous experiments upon different lacquers
employed for the preservation of shot and shell from rust,
the French have abandoned all of them.
The shot and shell are simply piled, under sheds when
practicable, or in the open air, and when put on board ship
cleaned of rust and rubbed over with whale oil—the same
means adopted every three months during the cruise.
PREPARATION OF SHELL FOR SERVICE.
104. The fuzes for shell will be prepared at the Laboratory in the
Ordnance Yard at Washington, and distributed to other Navy Yards as
they may be required. All fuzes taken from shell, or returned from
ships which have been more than one year in service, are to be sent to
the laboratory to be refitted. Fuzes of over two years date of
manufacture, are not to be issued for service, but returned to the
laboratory.
105. The charges of powder for spherical shell are to be as follows:
| XV-inch | XI-inch | X-inch | IX-inch | 8-inch | 32-Pdr. | Boat and Field Howitzers. | ||
| 24-pdr. | 12-pdr. | |||||||
| Lbs. | Lbs. | Lbs. | Lbs. | Lbs. | Lbs. | Lbs. | Lbs. | |
| Bursting or Service Charge | 13 | 6.00 | 4.00 | 3.00 | 1.85 | 0.90 | 1.0 | 0.5 |
| Blowing Charge | 1.0 | 0.25 | 0.25 | 0.25 | 0.25 | 0.25 | ||
Note.—The weight of charges for shells will vary slightly
from those given in the table according to the size of the
grain and density of the powder.
106. All empty shell, whether in store or in transportation, shall be
most carefully protected from dampness, and their fuze-holes
invariably closed with wooden plugs. Whenever these plugs are removed
for the purpose of fitting the shells for service, they are not to be
thrown away, but preserved for future use. If by any accident the
shell should be damp in the interior, they are to be heated and dried,
on the grillage prepared for that purpose.
107. The number of shell to be kept fitted at the Navy Yards will be
determined by special directions from the Bureau.
In fitting shell to receive the bouching, great carelessness has been
observed. The hole should be tapped with a full thread, and the proper
shoulder left at the bottom to prevent the bouching from being driven
in by the shock of firing and causing premature explosion.
108. All shell shall be filled with musket-powder of the highest
initial velocity. The shell must be filled, and the powder well shaken
down, leaving only room for the insertion of the fuze. A wooden plug
the size of the lower part of the fuze will always determine this. The
very common, but slovenly, practice of filling the shell, and then
pouring out a quantity sufficient to allow the fuze to be inserted, is
expressly prohibited. Shell have also been returned with the powder in
the vicinity of the fuze compressed into a solid mass, owing to the
fact that sufficient room had not been left for its insertion. No
shell shall be fuzed unless it has been filled.
[45]109. The date when shell are fuzed or filled, as well as that on which
any of these arrangements are changed, or the shell are examined
before issue to vessels, together with the initials of the officer
superintending these operations, should be legibly written and pasted
on the shell, or stencilled on the box.
110. The Ordnance Officer, or the Gunner of the Yard, is to see the
shell supplied to all vessels properly conveyed on board, superintend
the stowage, and furnish the Commanding Officer with a statement
showing the number of each description of shell and fuze, and a plan
of their stowage.
111. The condition of the shell, and especially of their fuzes, is to
be frequently and carefully examined into, taking out a fuze
occasionally so as to detect any injury which may arise from moisture,
and to have such as may be found damaged replaced by the spare fuzes.
Boat shell and their spare fuzes are also to undergo a similar
examination.
Shell have been sometimes returned with their fuzes entirely destroyed
by moisture!!
112. It has been found recently, on drawing the charge of a 12-pounder
howitzer in one of the small gunboats, that in cutting its fuze
(Bormann) the incision had been made directly into the magazine.
Had the gun been fired, the explosion of the shrapnell must have
occurred at the muzzle of the gun.
There is no doubt such errors will often account for the supposed
defects of the fuze.
The attention of officers is therefore required to this subject; and,
in making reports of defective ammunition, samples should be forwarded
to Washington for examination.
It is of the gravest importance, not only because it involves the
failure of the shell to act properly upon the object of fire, but may
also endanger the lives of our own men.
113. Whenever it is expedient or necessary to examine the fuzes and
loading of shell which have been already prepared, great care must be
observed in removing the fuze. It should never be done in the
shell-room.
114. The fuze-stock may generally be safely unscrewed with the
fuze-wrench, taking care, in the first place, to strike the side of
the shell gently with a wooden mallet, to detach the powder from the
fuze, to work very slowly, and not to endeavor to overcome any unusual
resistance.
115. Whenever it shall be necessary to load and fuze shell on board
ship—a properly secured place being first prepared, as directed by
the Captain, not in the shell-room and as far from the magazine as
convenient—the shell, being strapped and sabotted, are to be examined
to see that they are clean, both inside and out, and thoroughly dry.
The greatest care is to be [46]taken to remove every particle of sand or
fragment of iron from the interior. The prescribed charge of powder is
next to be poured into them through a proper funnel; care is to be
taken that the end of the funnel passes below the screw-thread in the
tap or bouching, to prevent any grains of powder entering it; any
grains of it which may remain sticking to the thread of the bouching
are to be brushed away carefully, and then, after putting a light coat
of lacquer for small arms, or sperm oil, on this thread and on that of
the fuze, the latter is to be screwed in carefully with the
fuze-wrench. The lacquer should be of the consistency of cream, and
when from evaporation, it becomes too stiff, should be thinned by
adding more spirits of turpentine.
116. In emptying shell they are to be handled carefully and placed on
a bench with a hole in it to receive and support the inverted shell. A
wooden vessel placed below will receive the powder. The powder which
has been removed from shell shall only be used for filling shell, as
it always contains a small quantity of grit, which renders it unfit
for general service. Should the powder have become caked, so as not
to be easily removed from the shell, it is to be drowned and removed
by washing out the shell. A handful of small iron shot put in the
shell will facilitate this operation.
117. Loaded shell are to be painted red and placed in boxes or bags
marked with a red cross, which boxes are to have the lengths of fuze
painted on them in black. Shrapnel shell and the tops of their boxes
shall be painted white, with the length of fuze stencilled on them in
black. They are to be stowed in shell-houses prepared for that
purpose. Loaded shell, whether in or out of their boxes, must be
handled carefully. Shell-bags will be preserved, accounted for by the
Gunner, and returned.
118. The greatest precaution must be taken in handling loaded shells
fitted with percussion-fuzes. When returned from ships they must not
be taken into the shell-houses until after the fuzes shall have been
removed and the shell plugged.
119. Shell-houses, and the general condition of the shell they
contain, are to be examined as often as once a fortnight by the
Ordnance Officer, and every precaution taken to keep them as dry as
possible.
120. The shell for boat guns are to be stowed in “the shell-houses” on
shore, and “shell-rooms” on board of vessels, in their proper boxes.
121. One-fourth of the whole number of spare fuzes allowed for the
great guns is to be for 5 seconds of time; one-fourth for 10 seconds;
one-fourth for 15 seconds; one-fourth assorted of 3, 5, 7, and 20
seconds.
122. All the spherical shell, however, put on board ship, filled and
fitted for immediate use, are to be provided with none other than the
5-second fuze. No fuze is, under any circumstances, to be put in shell
which are not filled.
[47]123. For rifled cannon the shell shall be fitted with one-half
percussion, one-half time fuze. Parrott’s shell will have bouching, or
“adapting” rings for the naval time fuze. The new form of adapter,
with a shoulder and washer beneath it, shall alone be used.
124. At ranges exceeding 1,400 yards the 10 or 15-second fuzes,
according to such excess, are to be substituted for the 5-second fuze,
by removing one and putting in the other; or, if preferred, those
fuzes may be applied to shell which are not already fitted. The
5-second fuze is to be regarded as the general working fuze, and hence
the reason the filled shell are to be fitted with it, as mentioned
above. (See TABLE OF RANGES for proper lengths of fuze for all
distances.)
125. The different kinds of fuzes shall be made up in separate
packages, distinctly marked with the kind and length of fuze, and
their use carefully explained to the Executive Officer and Gunner by
the Inspector of Ordnance.
126. In consequence of numerous reports received from vessels in
service of the inefficiency of certain fuzes, commanders of vessels
are required to observe carefully the action and result of all fuzes,
and report in detail to the Bureau of Ordnance whenever opportunities
may occur, particularly specifying the number and kind fired,
elevation of gun, range, premature explosions, failures to explode,
and satisfactory action. Also, whether the fire was direct or
ricochet.
Exterior Dimensions, in Inches, for Shell-Boxes.
For XV-inch shell, 18 × 18 by 20 high.
For XI-inch shell, 12.75 × 12.75 by 14.5 high.
For X-inch shell, 11.65 × 11.65 by 13.9 high.
For IX-inch shell, 10.63 × 10.63 by 12.9 high.
For 8-inch shell, 10.20 × 10.10 by 12.2 high.
For 32-pounder shell, 8.60 × 8.50 by 10.2 high.
Areas occupied by one Tier of Shell-Boxes.
| XI-inch | X-inch | IX-inch | 8-inch | 32 Pounder. | |||||
| No. | Ft. In. | No. | Ft. In. | No. | Ft. In. | No. | Ft. In. | No. | Ft. In. |
| 72 52 |
15.5½ × 5.8½ 14.4 × 4.6½ |
75 56 |
15.2 × 5.3½ 14.2 × 4.1½ |
102 80 |
15.8¼ × 5.9¼ 14.9¼ × 4.9½ |
108 85 |
16 × 6 15 × 5 |
176 140 |
16 × 6 15 × 5 |
GUNPOWDER.
STOWAGE, PRESERVATION, HANDLING, AND CHARGES.
129. The Bureau having adopted a new system of granulating Navy
powder, the different classes will in future be known and designated
as Rifle, Cannon, and Musket.
Gunpowder intended for ordinary use in cannon is to have sufficient
strength to give a 6-pounder shot the under-mentioned Initial
Velocities, determinable by the gun-pendulum of the Ordnance Yard at
Washington.
130. The size of the grains is determined by sieves, made by piercing
round holes in thin plates of brass. These sieves are five in number,
the holes being of the following diameters, viz.:
| No. 1, .3 of an inch No. 2, .15 of an inch |
} | Initial Velocity required, 1450 feet +50-50, for Rifle. |
| No. 2, .15 of an inch No. 3, .10 of an inch |
} | Initial Velocity required, 1500 feet +50-50, for Cannon. |
| No. 4, .06 of an inch No. 5, .02 of an inch |
} | Initial Velocity required, 1550 feet +50-50, for Musket. |
Rifle powder is used in the Parrott rifles of 8-inch, 100-pounder, and
60-pounder. Navy cannon powder in all other rifles and all
smooth-bores.
131. Size of the grain is required to conform to the following:
| Pass through No. 1 Remain on No. 2 |
} | all Rifle. |
| Pass through No. 2 Remain on No. 3 |
} | all Cannon. |
| Pass through No. 4 Remain on No. 5 |
} | all Musket. |
Ten per cent. variation tolerated.
132. Gravimetric Density, is the weight of a given measured quantity:
it is usually expressed by the weight of a cubic foot in ounces.
This cannot be relied on for the true density, as the size and shape
of the grain may make the denser powder seem the lighter.
Cannon powder should have a gravimetric density of about 875 oz., and
not exceeding 900 oz., to the cubic foot. (It actually varies with
different makers from 875 to 975.)
133. Specific Gravity.—The specific gravity of gunpowder is between
1.70 and 1.75.
All the powder of any lot being made of the same mill-cake, the
specific gravities are equal although the gravimetric densities may
vary.
[49]134. Powder for small arms, or musket powder, should all pass through
No. 4, none through No. 5, and average from 2,000 to 2,500 kernels in
tea grains Troy.
All powder should be well glazed; for small arms more highly than for
cannon.
135. The system of granulation adopted by the Army differs from that
of the Navy, as follows:
| All Through— | All On— | |
| Mammoth | 0.9 in. | 0.6 in. |
| Cannon | 0.35 | 0.25 |
| Mortar | 0.10 | 0.6 |
| Musket | 0.06 | 0.3 |
It will be seen by this Table that under the Army nomenclature, Navy
Rifle nearly corresponds to Army Cannon; that the Army Mortar is the
nearest equivalent to Navy Cannon, but with much more fine grain, as
it is what passes through the cannon-sieve, but remains on the
musket-sieve; and that the Navy Musket has the same size for the
larger grain, but contains more small grain than the Army.
In exchanging powder with the Army, it is necessary to attend to these
distinctions.
136. Powder-houses or magazines on shore are to be inspected by the
Ordnance Officers at least once in every week, and every precaution
taken to guard them against danger of explosion, and to preserve the
powder dry and in good condition.
137. Powder-barrels in magazines, where there are no racks, should be
placed on their sides, with their marked ends towards the alleys,
three tiers high, or four tiers, if necessary, with small skids on the
floor and between the several tiers of barrels, using chocks at
intervals on the lower skids to prevent the barrels from rolling. If
it can be avoided, fixed ammunition should not be put in the same
magazine with powder in barrels.
138. If it is necessary to pile the barrels more than four tiers high,
the upper tiers should be supported by a frame resting on the floor;
or the barrels may be placed on their heads, with boards between the
tiers.
There should be an unencumbered space of 6 or 8 feet square at the
doors of the magazine.
139. Whenever practicable, the barrels should be arranged in double
rows, with a passage-way between the rows, so that the marks on each
barrel may be seen at a glance, and any barrel easily reached.
140. Besides being recorded in the magazine-book, each lot of powder
should be inscribed on a ticket attached to the lot showing the
entries and the issues.
[50]141. Magazines should be opened and aired in clear, dry weather, the
ventilators kept free, and no shrubbery or trees allowed to grow so
near as to shade the building from the sun.
142. The moisture of a magazine may be absorbed by chloride of lime,
or charcoal, suspended in an open box under the arch, and renewed from
time to time. The use of quicklime is dangerous, and forbidden.
143. When powder is handled in powder-houses on shore, either for the
purpose of inspection or preparation for delivery to ships, the
baize-cloth is to be spread, and the people, before entering the
magazine, must divest themselves of every metal implement, empty their
pockets, that nothing likely to produce fire may escape detection, and
put on the magazine dresses and slippers. The barrels must be opened
only on the floor-cloth, and no metallic setter used in driving either
copper or wooden hoops.
Powder-barrels should never be opened except when required for use, as
grains of powder falling between the staves would prevent their being
tightened. Samples must be taken from the bung.
144. The attention of the Inspectors of Ordnance and Commanders of
vessels is called to the Regulations regarding the stowage and service
of powder and loaded shells in Magazines and Shell-rooms, ashore and
afloat, and to the precautions which must be observed by every one who
enters, or approaches for the purpose of entering, any Magazine or
Shell-room.
The former Regulations are modified so far as to dispense entirely
with the use of slippers made of either India-rubber or woollen; and
in lieu thereof, slippers made wholly of buckskin or cotton canvas
will be used in future. In hot climates, or in warm weather generally,
the naked feet are preferred.
The terrible effect of the explosion of a Magazine or Shell-room,
ashore or on board ship, can only be imagined. To avert it, by every
human precaution, is an imperative duty with every one. The Bureau
therefore directs that the Inspectors of Ordnance on shore and the
Commanders of all vessels afloat will cause the existing Powder
Regulations to be read, and copies placed within the reach of every
officer and man connected in the remotest degree with the service of
the Magazine and Shell-rooms; and no officer or other person is to be
continued in such service who cannot within a reasonable time answer
clearly and fully any questions relating to the requirements of
existing Powder Regulations as contained in these “Ordnance
Instructions.”
145. The powder in barrels should be turned from time to time, at
least as often as every three months, and, being arranged as mentioned
above, the oldest powder will be at all times accessible for first
delivery without disturbing that of more recent manufacture.
>[51]146. When powder is sent on board any vessel at the Yard, an Ordnance
Officer or the Gunner is to see it properly stowed, and the Ordnance
Officer is to hand to the Captain of the vessel a statement showing
the quantity of powder, number and capacity of tanks, kind of charges
contained in each, with the initial velocity, maker, and date of
reception, with a list of small-arm and boat ammunition, fireworks,
filled and other shells and projectiles, together with all the
information directed by the three articles immediately following, with
such remarks as he may deem proper to secure better precaution or more
convenient arrangement, with a request that the memorandum, or a copy
of it, may be delivered to the Ordnance Officer at the Yard where the
vessel is refitted or laid up at the end of the cruise.
147. When cartridges are filled for issue to any vessel, the powder
should be selected, as far as practicable, from deliveries made by the
same person, and at the same time or date; and the tanks in which they
are stowed must be marked with white paint on the upper sides, with
the same marks as the barrels from which the powder was taken, giving
the date of manufacture and the maker’s name.
148. Great irregularities having been observed in the weights of
cartridges supplied from different stations, it is ordered that at
least ten measures shall be weighed at each filling, and allowance
made for different densities. (See Art. 171.)
149. Whenever powder is returned into the powder-houses from vessels,
and the powder emptied from the cartridges, care must be taken to have
the barrels or other vessels in which the powder may be placed marked
in the same manner and registered in the Magazine Ledger, so that the
maker’s name and date of manufacture of all powder may be correctly
known and carefully preserved for reference.
150. The names of vessels from which powder is received, the length of
time which the powder has been on board, and the station on which the
vessel has been employed, should also be noted and reported by the
Ordnance Officer, that reference may be had to the notes in case it
should be desired in subsequent examinations of the powder.
151. In some instances where powder has been condemned by survey, it
has been directed to be thrown overboard. This should never be done;
the nitre contained, which forms three-fourths (¾) of the powder, is
still perfectly good, and can be made serviceable. In future,
condemned powder is always to be returned to the United States.
152. The Ordnance Officers, when they supply vessels with powder, or
[52]remove any from them, must report to the Bureau by the earliest
opportunity all the information which is required to be noted by
Articles 147, 149, 150, immediately preceding; and when powder is
received from vessels returning from cruises, or after it has been
long embarked, they are to forward to the Ordnance Yard, Washington, a
sample of two pounds and one-fourth, properly labelled, for every five
hundred pounds landed, selected so as to show fair average samples of
the whole, in order that its strength may be ascertained by the
pendulum.
153. In case of necessity, powder for saluting may be purchased abroad
in order to preserve a supply of our own proof powder for battle.
154. When a vessel is about to leave a foreign station and return
directly to the United States, and other vessels belonging to the Navy
are left on the station without a full supply of powder, the vessel
which is about to leave may be directed to transfer to those remaining
on the station any excess of powder that may be on board beyond fifty
rounds.
155. Should it become necessary to use powder for service charges
which has not been regularly inspected and proved in the manner
required by regulations, such tests of it must be made as
circumstances will admit.
The ranges given by it may be compared with those of service powder of
known good quality under the same circumstances. If deficient in
strength, the quantity of the charges should be increased until the
ranges are equalized, in order that the sight-bars may still indicate
the proper elevations for each charge and distance.
156. It is directed that vessels of war shall always receive their
powder and loaded shells in the stream; unless, upon some great
emergency, the nature of which shall be reported to the Bureau, it is
deemed essential to put them on board at the Navy Yard.
157. When receiving or landing powder, the red flag is to be always
hoisted at the fore, and all proper precautions taken to guard against
accidents from fires and lights. The tanks should be passed through
the ports most convenient to the magazines, and landed on mats, to
prevent injury.
The red flag is always to be hoisted at the powder-houses when they
are opened, and kept flying until they are closed.
158. When avoidable, gunpowder is not to be sent from vessels to
powder-houses, nor from powder-houses to vessels, in wet weather, nor
when there is a probability of wetting the barrels or cases; and the
packages must be conveyed in covered boats or wagons showing a red
flag.
159. The wharf or landing-place must be spread with old canvas, so
that the barrels or cases may not come in contact with and convey sand
or gravel [53]to the powder-house. The barrels must not be rolled, but
carried in slings to the trucks running on tramways of either wood or
bronze, into the magazine.
160. The service charges for the different calibres and classes of
naval smooth-bore guns now used in the Navy are as follows, and the
cartridges are to be filled accordingly, viz.:
Service Charges for Naval Guns.
| Ordnance. | Charges of Navy Powder. | Diameter of Cartridge-Gauge. | Saluting Charges, No. 50. | |||
| Calibre. | Weight. | For distant firing, 0.1 |
For ordinary firing, 0.6 | For near firing or two projectiles, 0.3 | ||
| lbs. | lbs. | lbs. | Cylindrical. | lbs. | ||
| X-inch or 130-pounder | 16,000 lbs. | 30. | 18. | 15. | 9.00 inches. | 6. |
| 64-pounder | 106 cwt. | 16. | 12. | 8. | 7.00 inches. | 4. |
| 32-pounder | 61 cwt. | 10. | 8. | 6. | 5.50 inches. | 4. |
| 32 do. | 57 cwt. | 9. | 8. | 6. | 5.50 inches. | 4. |
| 32 do. | 51 cwt. | 8. | 7. | 5. | 5.50 inches. | 4. |
| 32 do. | 46 cwt. | 7 | 7. | 5. | 5.50 inches. | 4. |
| 32 do. | 42 cwt. | 6. | 6. | 4. | 5.50 inches. | 4. |
| 32 do. | 33 cwt. | 4.5 | 4.5 | 4. | 5.50 inches. | 4. |
| 32 do. | 27 cwt. | 4. | 4. | 3. | 5.50 inches. | 3. |
| Shell-guns | For near firing. | Conical. | ||||
| XV-inch | 42,000 lbs. | 50. | 35. | 35. | ||
| XI-inch | 15,700 lbs. | 20. | 15. | 15. | 11 × 5.5 × 11 | 7. |
| X-inch | 12,000 lbs. | 15. | 12.5 | 12.5 | 10 × 5. × 10 | 6. |
| IX-inch | 9,000 lbs. | 13. | 10. | 10. | 9 × 4.5 × 9 | 5. |
| 8-inch | 6,500 lbs. | 7. | 7. | 7. | 8 × 5. × 8 | 4. |
| 32-pounder | 4,500 lbs. | 6. | 6. | 6. | ||
| Cylindrical. | ||||||
| 8-inch | 63 cwt. | 9. | 8. | 6. | 5.50 | 4. |
| 8-inch | 55 cwt. | 7. | 7. | 6. | 5.50 | 4. |
N.B.—Two projectiles are not to be fired from any gun at
the same time, except at objects within 200 yards’ distance,
and only when the advantages at the moment may be deemed by
the Captain sufficient to justify the risk of injuring the
guns and their equipments by the extra strain to which they
will be exposed.
With the 15-inch guns at close quarters against iron-clads,
60 lbs. and a solid shot may be used for 20 rounds. So
also with the 11-inch, 30 lbs. and a solid shot. With all
the other guns, under like circumstances, and where
penetration is desired, the distant firing charges should
be substituted for the near firing.
Of the service charges, one-tenth shall be for distant firing,
six-tenths for ordinary firing, three-tenths for near firing, or for
two projectiles. Saluting charges to be of under-proof powder.
The calibre and class of guns for which the cartridges are intended
must be distinctly marked near the top of the lid end of the tanks.
Table of Charges for Navy Rifle Guns.
| Gun. | Ordnance. | Charge of Powder. | ||||
| Calibre. | Diameter of Bore. | Weight. | Weight. | Kind. | Diameter of Cartridge-Gauge. | |
| Pounder. | Inches. | Lbs. | Lbs. | Inches. | ||
| Parrott | 100 | 6.40 | 9,700 | 8. | Rifle. | 5.50 |
| Do. | 60 | 5.30 | 5,400 | 6. | Rifle. | 4.60 |
| Do. | 30 | 4.20 | 3,550 | 3.25 | Cannon. | 3.70 |
| Do. | 20 | 3.67 | 1,750 | 2. | Cannon. | 3.25 |
| Dahlgren | 20 | 4.00 | 1,340 | 2. | Cannon. | |
| Do. | 12 | 3.40 | 880 | 1. | Cannon. | |
Powder-Tanks.
| Capacity of Tank for Powder in Grain. | Exterior Dimensions. | Weight, when empty. | Approximate Weight, when filled with Cylinders. | |
| Height in inches including Lid and Handle. | Sides in inches. | |||
| 200 pounds | 22 1/4 | 16 1/2 × 16 1/2 | 67 1/2 pounds. | 218 Pounds. |
| 150 pounds | 22 1/8 | 15 × 15 | 59 1/2 pounds. | 170 to 180 lbs. |
| 100 pounds | 20 1/2 | 13 × 13 | ||
| 50 pounds | 16 3/4 | 10 1/4 × 10 1/4 | ||
Accommodation afforded by Powder-Tanks of different Sizes
for
Cartridges of various Kinds when closely packed.
| Capacity of Tank for Powder in Grain. | Will Stow Cartridges as follows: | ||||||||||||||||
| Denomination. | lbs. 20 |
lbs. 16 |
lbs. 15 |
lbs. 12.5 |
lbs. 10 |
lbs. 9 |
lbs. 8 |
lbs. 7 |
lbs. 6 |
lbs. 5 |
lbs. 4.5 |
lbs. 4 |
lbs. 3.25 |
lbs. 3 |
lbs. 2 |
lbs. 1.85 |
lbs. 1 |
| 200 pounds. | 9 | 11 | 12 | 14 | 18 | 20 | 22 | 25 | 30 | 36 | 40 | 45 | 52 | 60 | 95 | 100 | 190 |
| 150 pounds. | 6 | 8 | 9 | 10 | 13 | 15 | 16 | 20 | 24 | 27 | 30 | 36 | 40 | 45 | 71 | 72 | 145 |
| 100 pounds. | 4 | 5 | 6 | 7 | 9 | 10 | 11 | 13 | 16 | 18 | 20 | 24 | 27 | 31 | 46 | 48 | 95 |
| 50 pounds. | 2 | 2 | 2 | 3 | 4 | 4 | 5 | 6 | 7 | 9 | 10 | 11 | 13 | 15 | 21 | 23 | 46 |
| Powder-barrel. | 4 | 6 | 7 | 8 | 10 | 11 | 12 | 14 | 15 | — | — | 26 | — | 35 | 52 | 55 | 108 |
FIXED AMMUNITION FOR BOAT GUNS AND SMALL ARMS.
164. The charges for “boat and field howitzers” are—
| lbs. | |
| For the 24-pounder of 1,310 lbs. | 2.00 |
| For the medium 12-pounder of 760 lbs. | 1.00 |
| For the light 12-pounder of 430 lbs. | 0.625 |
Dimensions of Boxes for Boat Ammunition.
PROJECTILES WITH CHARGE OF POWDER FOR HOWITZER ATTACHED, NOT TO BE
STOWED IN THE MAGAZINE.
| Calibre of Boat Howitzer. | Kind of Projectile. | Number of Projectiles Box contains. | Dimension of Boxes, in Inches. | Weight, in Pounds. | |
| Empty. | Filled. | ||||
| 24-Pdr. | Shrapnel | 9 | 22 × 20.75 by 13.75 high | 35 1/3 | 270 1/2 |
| 24-Pdr. | Canister | 9 | 22 × 20.75 by 13.50 high | 36 1/3 | 217 5/6 |
| 12-pdr. heavy | Shrapnel | 9 | 18.75 × 17.75 by 11.13 high | 22 7/8 | 140 1/2 |
| 12-pdr. heavy | Canister | 9 | 18.75 × 17.75 by 12.25 high | 25 1/2 | 114 3/4 |
166. The cartridges for small arms are to contain the following
quantities of powder:
| For muskets | 70 grains, Troy. |
| For muskets (marine) | 60 grains, Troy. |
| For pistols | 30 grains, Troy. |
| For revolvers | 18 grains, Troy. |
The ball-cartridges for rifles and rifled muskets are to be made with
a single Minié ball.
Exterior Dimensions and Contents of Boxes
FOR SMALL-ARM AMMUNITION AND FIREWORKS.
| Articles. | Exterior Dimensions. | Each Box Contains. | Remarks. | ||
| Length. | Width. | Depth. | |||
| Inches. | Inches. | Inches. | |||
| Musket-ball cartridges | 12 1/2 | 8 1/4 | 8 1/4 | 500 | |
| Musket blank cartridges | 9 5/8 | 7 3/4 | 8 1/2 | 500 | |
| Carbine rifle-ball cartridges | 14 1/2 | 9 1/4 | 7 3/8 | 1000 | |
| Pistol-ball cartridges | 13 3/4 | 6 3/4 | 7 1/4 | 1000 | |
| Blue-lights | 20 1/2 | 13 | 6 7/8 | 30 | |
| False lights | 20 1/2 | 13 | 6 7/8 | 30 | |
| Port-fires | 19 3/4 | 10 1/4 | 10 1/4 | 100 | First size. |
| Port-fires | 19 3/4 | 10 1/4 | 6 1/4 | 50 | Second size. |
| Signal rockets | 15 1/4 | 9 1/2 | 8 1/4 | 30 | |
| Percussion-caps | 11 3/4 | 9 1/4 | 7 3/8 | 6300 | |
N.B.—There is a variation in the dimensions of the above boxes, as
made, of 1/3 of an inch, on an average, in their exteriors.
168. Percussion-caps and bullets for small arms will be supplied from
the Ordnance Yard at Washington.
169. The boxes in which cartridges for small arms, caps, primers,
etc., are packed for distribution to vessels, are to be marked with
the number they [56]contain, and the kind of arm for which they are
intended. At the expiration of the cruise they must be carefully
returned into store, and the Gunner will be held peculiarly
responsible for their loss.
170. Standard powder-measures for filling cartridges for great guns
will be made at the Ordnance Yard, Washington, and distributed as they
may be required for the use of vessels and shore magazines. As the
gravimetric density of powder varies from 860 to 940, the weight of
the contents of ten measures should be ascertained for each lot, and
allowance made accordingly before filling the cartridges.
171. In taking the weights, the powder is to be scooped up from the
filling-chest with the measure until it is heaped, tapped twice
moderately on the sides with the palms of the hands, and then struck
with a wooden straight-edge. If the weight differs materially from
that marked on the measure, a small compensating measure should be
used to supply the deficiency or remove the excess.
CANNON-PRIMERS.
172. These are of two kinds, percussion and friction. Each
percussion-primer is composed of a quill tube capped by an explosive
wafer. The quills used for this purpose are first inspected by passing
them through a gauge rather smaller than the vent.
The tube is filled with fine-grained powder.
The wafer is composed of a cap of cartridge-paper, enclosing a layer
of fulminate of mercury combined with a small quantity of mealed
powder. When pressed and perfectly dry, the wafer is coated with
uncolored shellac, to preserve it from dampness.
173. Primers are to be kept in tin boxes containing fifty each, the
lids of which are luted with shellac to exclude moisture until wanted
for immediate use. These boxes are intended to fit in and form a
lining to the primer-boxes which slip on the waist-belts worn by
Captains of guns. For purposes of exercise no more of these boxes
should be opened than are required; but for action a full box should
be delivered to each Captain and 2d Captain of a gun.
174. A friction-primer consists of a tube charged with gunpowder, to
the top of which is fastened a spur containing friction-powder, which
is exploded by means of a slider pulled out by a lanyard. It is
intended for use in case the lock should be out of order, or the other
primers fail from any unforeseen cause. Friction-primers are packed in
tin boxes in the same manner as percussion-primers. They are obtained
from the Army as required.
175. Filled boxes of primers are kept in close laboratory cases, for
which stowage must be provided in the general store-room of the ship,
or other [57]safe place.[1] They are on no account to be placed in the
magazine, and the boxes must be so labelled before being put on board
ship.
176. When primers have been returned from cruising ships, or have
remained in store for one or more years, they must be tested by firing
five per cent. of the number, and not issued again without special
orders.
177. Damaged fuzes, primers, caps, and tubes, are always to be
returned to the Ordnance Yard at Washington, in the condition in which
they were received on the return of the ship.
178. The boxes containing metallic cartridges for breech-loading arms
require the same care as percussion-caps, and are to be labelled, “On
no account to be placed in the magazine.”
179. Percussion-Caps for muskets, carbines, and pistols are made in
the laboratory at the Washington Navy Yard. They are put up in small
packages of water-proof paper, labelled with the number contained in
the package and the date of fabrication, and stowed in tin cases
containing 350 caps each.
180. Laboratory boxes, in which these are packed, are of the following
dimensions: 11 3/4 × 9 1/4 × 7 3/8 inches, and will contain 6,300
percussion-caps each. These boxes are to be labelled, “On no account
to be placed in the magazine.” Stowage is provided for them in the
general store-room.
CARTRIDGE-BAGS.
181. The material of which cartridge-bags are made is woven expressly
for the purpose, and furnished by the Bureau of Ordnance as required.
The color is white, and the calibre of the gun and the weight of the
charge must be stencilled on the bag in figures two and a half (2 1/2)
inches long. When procured of necessity elsewhere, the stuff should be
chosen of wool, entirely free from any mixture of thread or cotton,
and of sufficiently close texture to prevent the finer particles of
powder from sifting through. Wildbore, rattinet, merino, and
bombazette are named as proper materials for cartridge-bags; of these
the thinnest stuff, not twilled, but having the requisite strength and
closeness of texture, is the best.
182. Making Cartridge-Bags.—Cartridge-bags for cylindrical chambers
are made of a rectangle to form the cylinder, and a circular piece to
form the bottom. The flat patterns, by which the cartridge-bags for
the 8-inch and 32-pounder guns are cut, are, consequently, to be made
rectangular for the cylindrical part of the bag, and circular for the
bottom. The length [58]of the rectangle is equal to the development of
the cylinder, together with the allowance for seam; and its width, to
the whole length of the bag before sewing, including the allowance for
seam and tie.
Special patterns are furnished for those of XV-in., XI-in., X-in.,
IX-in., 8-inch of 6,500 lbs., and 32-pounder of 4,500 lbs. shell-guns,
all of which have gomer chambers.
Dimensions of Flat Patterns for Cutting out Cartridge-Bags.
TO BE MADE OF PINE FOR THE 8-INCH AND 32-PDR. GUNS, AND OF METAL
PLATES FOR THE “GOMER” CHAMBERS OF OTHER GUNS.[2]
| Dimensions. | 10-inch, or 130-pounder. | 64-pdr. Gun of 106 cwt. 8-in. Rifle. | 100-pounder Rifle, 32-pounder Gun, and 8-inch Shell-Guns, having Chambers Of 32-pounder Calibre. |
|||||||||||||
| Charges | lbs. | 30 | 18 | 15 | 16 | 12 | 8 | 10 | 9 | 8 | 7 | 6 | 5 | 4.5 | 4 | 3 |
| Width of rectangle (length of bag cut), including tie and four-tenths of an inch for seam. | in. | 20 | 15.2 | 14 | 18.7 | 15.7 | 12.7 | 16.6 | 14.6 | 18.0 | 12.6 | 11.6 | 10.6 | 10.1 | 9.6 | 8.6 |
| Inches. | Inches. | Inches. | ||||||||||||||
| Length of rectangle (cylinder developed), including eight-tenths of an inch for seam. | 29.01 | 23.80 | 18.10 | |||||||||||||
| Radius of circular pattern of bottom, including four-tenths of an inch for seam. | 4.9 | 3.60 | 2.95 | |||||||||||||
| Diameters of cylindrical formers for inspection of cartridge-bags. | 9.00 | 7.00 | 5.50 | |||||||||||||
| Additional length for one pound of powder. | 0.40 | 0.80 | 1.22 | |||||||||||||
Details of Cartridge-Bags.
SHELL-GUNS WITH CONICAL CHAMBERS.
| Calibre of Gun. | XV-in. | XI-in. | X-in. | IX-in. | 8-in. of 6500. | 32-pr. of 4500. | ||||||
| Charge of powder | lbs. | 35. | 50. | 60. | 20. | 15. | 15. | 12.5 | 13. | 10. | 7. | 6. |
| Diameter of cartridge. | ||||||||||||
| large end | 13.5 | 13.5 | 13.5 | 9.85 | 9.85 | 9. | 9. | 8.13 | 8.13 | 7.25 | 6. | |
| small end | — | — | — | 5.50 | 5.50 | 5. | 5. | 4.50 | 4.50 | 4. | 8.5 | |
| Width of stuff required to cut bag. | in. | 24. | 28. | 30. | 22. | 20. | 20. | 20. | 18. | 18. | 24. | 22. |
| Whole length of bag cut, including tie and seam. | in. | 21.5 | 25.5 | 27.5 | 10. | 17.5 | 18.5 | 17.75 | 16.5 | 15.5 | 12.0 | 11.0 |
| Length of filled cartridge. | in. | 12. | 15.5 | 18. | 12. | 10.5 | 10. | 9. | 11.5 | 10.5 | 7.5 | 9.5 |
| Length of filled cartridge. | in. | 12. | 15.5 | 18. | 12. | 10.5 | 10. | 9. | 11.5 | 10.5 | 7.5 | 9.5 |
| Additional length for one pound of powder. | in. | |||||||||||
| Quantity of stuff required to cut one hundred bags. | yds. | 122. | 122. | 122. | 92. | 92. | 86. | 86. | 78. | 78. | 30. | 30. |
[59]In cutting, the length of the rectangle should be taken in the
direction of the length of the stuff, as it does not stretch in that
direction, and the material should be chosen, as nearly as possible,
of the width required for the length of the bags, to save waste in
cutting.
The bags are to be sewed with worsted yarn, with not less than eight
stitches to an inch; they must be stitched within four-tenths of an
inch of each edge, and the two edges of the seam felled down upon the
same side, to prevent the powder from sifting through. The edges of
the bottom are felled down upon the sides.
The bags, when filled, must be tied with woollen thrums.
185. Cartridge-Bags for Saluting Charges.—Old cartridge-bags which
have been condemned for service charges are to be repaired and used
for saluting charges; and whenever it is necessary to make bags
expressly for the purpose, or for immediate use, they may be formed by
sewing together two rectangular pieces with semicircular ends.
186. Inspection.—The material especially procured for cartridge-bags
is to be carefully inspected to detect any mixture of cotton with the
wool, by burning a few bits taken at hazard from each piece; or, by
dissolving it in a solution of 1 ounce of caustic potassa in a pint of
water—the cloth to be put in when the water is boiling, which is to
continue until dissolution takes place. The texture of the stuff is
also to be examined and its strength tried, such standard for the
latter being established as may be found sufficient to insure perfect
efficiency.
After being made up, the empty bags are to be inspected, and those
which are sewed with too long stitches, or in any other than the
prescribed manner, must be rejected. The dimensions of each bag are to
be verified, first by laying it flattened out, between two marks on a
table showing the width of a pattern bag. A variation of 0.1 inch
greater or less is allowed. The bags are also to be tried on mandrels,
or formers, made according to the dimensions given on the preceding
page.
187. Preservation From Moths.—Serge or any other woollen material
employed for making cartridge-bags is never to be exposed on the
shelves in store, either in the piece or when made up. It is to be
protected by packing with the hydraulic press, by sewing it up in
linen cloth, or by enveloping it in water-proof paper, hermetically
sealed.
An infusion of coloquintida, in the proportion of 15 1/2 grains Troy
to a quart of water, is said to be a good preservative against moths.
In case of using this preparation, the cartridge-bags should be
steeped in the infusion, and, after being thoroughly dried, may be
packed by the hydraulic press, and headed up in old whiskey barrels,
if stored on shore, or packed in empty tanks, if on board ship.
Cartridge-bags, as well as the material for making them, must be
frequently examined, to prevent their being damaged by moisture, as
well as to guard against moths.
FOOTNOTES:
[1] Primers and percussion-caps should be divided into two or
three lots, and stowed in different parts of the ship, so that an
accidental explosion would not deprive the ship of the means of firing
cannon and small arms.
[2] The dimensions of those for the XV, IX, X, and XI inch
guns, which have Corner chambers, and cannot be conveniently
tabulated, will be furnished to all vessels mounting such guns. The
formers for inspection of bags will have the forms and dimensions of
the Gomer chambers less 0.87 inch for the IX-inch, 1.0 inch for the
X-inch, 1.15 inch for the XI-inch, and 1.50 inch for XV-inch guns, for
windage at the large end, in accordance with the flat patterns
furnished for cutting.
CHAPTER II.
MAGAZINES AND SHELL-ROOMS.
CONSTRUCTION, LIGHTING, STOWING, AND FLOODING.
188. No details of internal arrangement should be more carefully
considered and executed than those relating to the stowage and
delivery of powder, since a defect in these particulars, apparently
insignificant, may lead to the instantaneous destruction of the ship;
or, with the incendiary and explosive projectiles now used, to her
becoming, comparatively, an easy prey to an antagonist. Every possible
precaution, therefore, is to be taken to accommodate the full
allowance of powder completely; to guard it to the utmost against
injury and accidental explosion; and to deliver it at the magazine, as
required, with facility and certainty. To these ends, and in view of
the fact that all the powder for great guns is now put up in cubical
copper tanks, made water-tight, THE FORM OF MAGAZINES should be as
nearly rectangular as the shape of the vessel will admit, and they
should be built strong enough to resist sufficiently the effect of her
working in heavy weather, and also the pressure of water they will
have to sustain in case of being flooded.
189. All magazines should have a light-box for each alley at one end,
and a passage to deliver powder at the other; and the magazine and its
passage, considered as one, must be made perfectly water-tight by
caulking the bottom and sides, and then lining them internally, first
with white pine boards, tongued and grooved, and again with sheets of
lead of extra thickness, soldered together, over these boards. Both
these linings are to extend entirely over the bottom or floor, and all
the way up to the crown on all the sides.
190. When the magazine reaches the ceiling of the ship it must be
battened off two inches; the lining of the floor must be battened up
one, and also the magazine-deck, so that water leaking through the
sides of the vessel may run by and under, and not into the magazine.
An external lining of sheet-iron must also be resorted to as a
protection against fire, and to prevent the intrusion of rats.
[61]191. A magazine aft in a ship is to have its passage for delivering
powder adjoining its forward part; and one forward in a ship is to
have this passage adjoining its after part, in order that it may not
be necessary to pass the powder over the light-box scuttle.
192. As many doors are to be cut in the bulkhead separating this
passage from the magazine-room as there are alleys to be left in the
latter, between the racks or shelves on which the tanks are stowed,
and these doors must correspond with those alleys. They are not only
to afford a means of entrance to the magazine, but also for passing
the tanks in and out. Through the upper part of each door a small
scuttle is to be cut,—two, if necessary,—for the purpose of passing
the cartridges out of the magazine-room with the door itself closed;
and it is to have a lid so arranged as to open outwards only, and to
close of itself when the scuttle is not actually in use.
193. Sailing ships-of-the-line and frigates should have two alleys for
each magazine. In screw-vessels of large class, where the shaft will
interfere with this arrangement, two alleys for the forward magazine.
In smaller vessels one alley will suffice. In all cases the alley is
to be not less than two feet and ten inches in breadth, and it ought
to be more, if practicable, to prevent confusion and delay. Each alley
is to be illuminated by a separate light.
If there is room in the magazine, there should be space left, at the
end nearest the light, for a man to pass from one alley to the other
without going into the passage.
194. Ships with two magazines—one forward and the other aft—are to
have them as nearly equal, in point of capacity, as the shape of the
vessel and other circumstances will admit.
Magazines should be constructed as low down as possible. Their floors
may rest on the keelson, but should not come below it. Their height
should be equal, only, to an exact number of times the height of a
powder-tank when lying on its side, in addition to the thickness of
the shelving. An additional inch for each shelf should be allowed for
play or spring. The whole height in the clear should be limited by the
condition that a man standing on the floor may reach the upper tier of
tanks with ease. Four tiers of 200-lb. tanks, three of them resting on
shelves two inches thick, and the other on inch battens on the
magazine-floor, will, with an allowance of one and a half inch for
play and spring, require a height, in the clear, of six feet two
inches. Both safety and convenience would suggest this as the maximum
limit in height, even for the largest magazine. Three tiers of these
tanks will require a height, in the clear, of about four feet eight
inches.
If, however, in ships of great draught of water, it should be found
practicable to extend the height of a magazine so as to accommodate
five tiers of tanks, then the lower or ground tier may be laid so as
to occupy the whole [62]of the magazine-floor; and on the top of this
tier, in the alley-way, a light false bottom is to be placed for the
men to stand upon to enable them to reach the upper tier, which is the
one that should first be exhausted. This false bottom should be made
of gratings, and in sections convenient for speedy removal.
195. When it is impossible to avoid extending the sides of the
magazine so far out towards the skin of the ship as to leave only an
air-passage on either side, the crown should be at least six feet
below the deep load-line.
In all cases where this crown is less than six feet below that line,
the sides should be made susceptible of protection by allowing a space
to interpose materials, such as sand, coal, or water in tanks, between
them and the inner planking of the ship.
An average space of six feet or more on both sides will be sufficient.
Under no circumstances, however well the sides be guarded, should the
crown of the magazine, if it can be avoided, be less than four feet
below the deep load-line.
196. It is proper to add, in connection with this most important
subject, that in order to increase security against the effects of
lightning, a magazine should be placed, if practicable, so as not to
include a part of a mast.
197. All the metallic fixtures about a magazine, delivering-passages,
and light-rooms, must be of copper.
198. Each delivering-passage is to have, for the distribution of
powder, at least as many passing-scuttles communicating with the orlop
or berth deck as there are chains of scuttles above. The powder-man
will thus always find at the scuttle the proper passing-box.
MAGAZINE-COCKS.
199. Each magazine, as a whole—that is, including the
delivering-passage—being made, as stated above, water-tight, is to be
provided with an independent cock for filling it rapidly with water; a
waste-pipe leading from above the upper tier of tanks to carry off the
superfluous water; and a cock just at the floor for letting the water
off when the magazine is to be emptied after having been flooded. Both
the cocks must be turned from the deck above, each having a lever to
its spindle for the purpose, distinctly marked, with engraved letters,
what it is and how it is to be used, and kept secured by a proper
lock, the key of which is to be kept among those of the magazines. A
short pipe to lead the water down into the hold is to be attached to
the emptying cock, and with this the waste-pipe is to connect. All are
to be well boxed over for protection against injury. A [63]perforated
disk, or strainer, is to be secured inside of the hole, at the upper
part of the magazine, for the waste-pipe. All couplings of hose shall
conform to the general naval standard.
LIGHTING THE MAGAZINE.
200. The magazine is to be lighted by means of one regulation-lamp, to
correspond with each alley of the magazine-room, placed in a box
arranged for the purpose. This box, of which a portion of the magazine
bulkhead forms a part, is to be lined, internally, with soldered
sheets of copper, and have a few inches of water in it whenever the
lamp is lighted. The entrance to it is at the top, through a scuttle
in the deck large enough to admit the lamp. For single-decked vessels
this scuttle may be surrounded by a composition coaming pierced with
holes one-fourth of an inch in diameter, on the forward and after
sides near the top. The cover must be so arranged that, when placed in
one position, all the holes will be closed—by turning it half round,
they are all open; thus supplying air to the lamp and carrying off
smoke. In the portion of the magazine bulkhead just alluded to, and so
as to throw as much light as possible into the magazine-room, an
opening with great bevelling is to be cut, which is to be covered by
two plane glasses of suitable thickness, somewhat separated from each
other, one of which, that next to the lamp, must be permanently fixed;
and the other, or that next to the magazine, is to be let into a
wooden frame so that it may be easily removed, and thus both glasses
cleaned at any time with convenience and safety. The glasses are to be
held in place by brass screws, after being closely fitted and having
their edges made perfectly tight. A small dome or reversed funnel of
copper, where it can be conveniently done, is to be placed above the
lamp and fitted with a pipe of the same metal to convey the smoke off.
This pipe may pass up through the covering of the light-box, which is
to have a plug-hole, lined with brass, for the purpose, and then led
farther, if necessary, taking care, however, to consult perfect safety
throughout.
The admission of air to the light-box may be from the division of the
hold in which it is placed, by small holes, near its top, through its
side or back, protected with copper wire-gauze, inside and outside of
the box.
The ceiling and bulkheads of all magazines and shell-rooms should be
thoroughly whitewashed.
STOWING THE MAGAZINES.
201. In the stowage of magazines, reference must be had to the
Gunner’s duties (Art. 36, Part I.), and to Arrangements for Delivering
and Distributing Powder (Art. 180, Part I.). Ledges on the shelves, or
a bar of wood to ship and unship with facility, will be provided for
each tier of [64]tanks, on both sides of the alleys, to secure them from
getting out of place when the ship rolls.
The Inspector of Ordnance will furnish the commander of the ship with
an exact plan of the magazine and shell-rooms, which shall be returned
to the Inspector of the Yard at which the ship refits or is placed in
ordinary, with any suggestions the Commander may have to make relative
to practicable changes which will render the service more safe or
convenient.
SHELL-ROOMS.
202. Rooms for the stowage of loaded shells require the same care in
construction and protection against an enemy’s shot, and in provision
for lighting and flooding, as magazines. Therefore, they should always
be built with reference to these objects, as well as to affording room
enough to accommodate conveniently the number of loaded shells allowed
in their boxes, stowed in bulk. Each should have one light, arranged
like those for magazines.
203. In vessels partially armed with shell-guns, the best place,
perhaps, for these rooms is immediately forward of the spirit-room,
but not communicating with it; and in those armed entirely with such
guns, the additional shell-rooms necessary may be, perhaps, more
conveniently placed abaft, and adjoining the delivering-passage of the
forward magazine, than elsewhere.
204. With the introduction of rifled cannon, and various special
projectiles, it is essential to devote more care to the stowage of
shells, in order to avoid confusion in battle. Not only each kind and
calibre, but each length of fuze, is to be stowed in separate tiers.
DAMPNESS OF MAGAZINES AND SHELL-ROOMS.
205. Sponge clipped in a solution of salt water, dried and weighed, is
a means of ascertaining if dampness exists in these places. If it
become heavier, the room is damp.
VENTILATION.
206. Provision must be made, by means of grating-hatches, for
sufficient ventilation in action, to supply the magazine-men with
fresh air, and allow the dampness caused by perspiration to pass off;
and fan-blowers are to be fitted to increase the supply of fresh air,
and assist the ventilation. The magazine should be opened and aired,
at least once a fortnight, for a few hours, on bright, clear days.
C.K. Stellwagen, del.
Lith. by J.F. Gedney, Washn.
CHAPTER III.
GUN-CARRIAGES, GEAR, IMPLEMENTS AND EQUIPMENTS.
GUN-CARRIAGES.
207. All gun-carriages shall be constructed in exact conformity to the
drawings furnished by the Bureau, and no alterations whatever will be
permitted without its express sanction.
The Inspector of Ordnance will keep approved copies of all plans, and,
in order to insure uniformity, will report to the Bureau any
deviations from the standard drawings which he may observe in
carriages received from other Yards.
The spaces required for efficient working of all guns are represented
in diagrams X, Y, Z, and these, as well as the distances between
pivot-centres, sizes and positions of bolts, are to be strictly
adhered to.
The distance between pivot-centres of all XI-in., X-in., IX-in., and
100-pdr. carriages shall be either 142 or 117 3/4 inches, depending on
the breadth of beam, position of hatches and other obstructions, and
shall not be deviated from except by explicit directions of the
Bureau, on a report of the particular circumstances in each case.
For the 60-pdr. Parrott, 130 inches between centres; and for the
30-pdr., 120 inches.
The sizes of sockets and pivot-bolts are established as follows:
| For XI-in., X-in., IX.-in., and 100-Pdr. | For 60, 30, and 20-Pdr. | |
| Inches. | Inches. | |
| Length of bolt under the head | 18. | 14. |
| Diameter of bolt | 4. | 3. |
| Diameter of hole in socket | 4.1 | 3.1 |
| Diameter of hole in boss | 10.5 | 8. |
| Height of boss | 1.5 | 1.1 |
Slot in the pivot-plate, 1/16 larger than the boss.
For XI-in., X-in., IX-in., and 100-pdr. carriages, the fighting and
shifting sockets are bossed, the housing-socket plain.
For 60-pdr., 30-pdr., and 20-pdr. carriages, the shifting-socket alone
is bossed.
[66]For broadside-guns, the following positions for bolts are established:
| 20 and 24 in. Port-sills. |
16 and 18 in. Port-sills. |
|
| Inches. | Inches. | |
| Height of centre of lower bolt from deck | 14.75 | 10.75 |
| Distance between the bolts | 3.75 | 3.75 |
| Distance of centre of 1st bolt from side of port | 14. | 14. |
| Distance of centre of 2d bolt from side of port | 22. | 22. |
| Distance of centre of training-bolt from side of port | 36. | 36. |
| Height of training-bolt from deck | 21. | 14. & 16. |
| Height of securing-bolt (side-tackle bolt) above port-sill | 8. | 8. |
For IX-in. guns, the port-sill should not be less than 20 inches in
height, and no port-sill less than 16 inches; otherwise, the carriages
will not give sufficient elevation, and the position of the Gun
Captain in aiming is exceedingly awkward and inconvenient.
Scraping and staining gun-carriages or keeping them bright is
prohibited; they should be kept well painted, and the trucks,
axletrees, and trunnion-holes oiled.
All new work shall be primed with red-lead.
Wrought-iron Broadside carriages, for IX-inch, new 8-in. of 6,500
lbs., and 32-pdr. of 4,500 lbs. shell-guns, have been designed by the
Ordnance Bureau, submitted to trial with success, and are being issued
for service at sea.
GUN-GEAR.
208. Breechings for all guns are to be made of the best hemp, of
three-stranded rope, shroud-laid, and soft; and for smooth-bore guns
not to measure less than seven and a half nor more than eight inches
in the coil, excepting those for IX-inch guns, which are to measure
nine and a half inches, and for XI-inch ten and a half inches.
209. The breeching-bolts must never be of less dimensions than those
prescribed by regulation, and there must be double sets for the IX and
XI inch guns.
210. In fitting breechings, a thimble is to be spliced into one end,
the strands stuck through twice, and marled down. A thimble is to be
turned into the other end, so that the length of the breeching may be
conveniently altered. Thus fitted, when the gun is run in and
levelled, breechings must be long enough to allow the muzzle of the
gun to come a foot inside of the upper port-sill, if the breadth of
the vessel will allow it. With guns of violent recoil this distance
may be advantageously doubled, where there is room enough, as thereby
the strain will be much lessened.
Breechings are neither to be covered, blackened, nor rendered less
pliable in any way.
Lith. by J.F. Gedney, Washn.
C.K. Stellwagen, del.
BREECHINGS.
| Class of Gun. | Length of Breeching when Cut. | Length of Breeching when Finished. | Circumference of Breeching. | Thimble. | Weight, including Thimble. | ||||
| Diameter. | Depth. | Radius of Score. | Diam. bolt-hole. | ||||||
| Feet. | Feet. | Inch. | Inch. | Inch. | Inch. | Inch. | Lbs. | ||
| Pivot. | |||||||||
| XI-inch | 38. | 32. | 10.5 | 6. | 4. | 1.75 | 2.05 | 172. | |
| X-inch | 37.5 | 31.5 | 10. | 6. | 6. | 1.75 | 2.05 | 170. | |
| IX-inch | 34. | 28.5 | 9.5 | 6. | 3.6 | 1.6 | 2.05 | 110. | |
| 100-pounder | 37.5 | 31.5 | 9.5 | 6. | 3.6 | 1.6 | 2.05 | 130. | |
| 60-pounder | 33. | 28. | 8. | 5.5 | — | 1.3 | 1.55 | 91. | |
| 30-pounder | 27.5 | 23.5 | 7. | 5. | — | 1.2 | 1.55 | 43. | |
| 20-pounder | 26. | 21. | 6. | 4. | — | 1.0 | 1.55 | 40. | |
| Broadside. | |||||||||
| XI-inch | 38.0 | 32.0 | 10.5 | 6. | 4. | 1.75 | 2.05 | 172. | |
| X-inch | 34.5 | 28.5 | 10. | 6. | 4. | 1.75 | 2.05 | 160. | |
| IX-inch | 31.5 | 25.5 | 9.5 | 6. | 3.6 | 1.6 | 2.05 | 100. | |
| 8-in. | 63 cwt. | 28. | 23.3 | 8. | 5.5 | — | 1.3 | 1.55 | 76. |
| 8-in. | 55 cwt. 6,500 lbs. |
27. | 22.3 | 8. | 5.5 | — | 1.3 | 1.55 | 72. |
| 32-pounder | 57 cwt. | 28.5 | 24. | 8. | 5.5 | — | 1.3 | 1.55 | 76. |
| 32-pounder | 42 cwt. 4,500 lbs. |
26. | 21.5 | 8. | 5.5 | — | 1.3 | 1.55 | 70. |
| 32-pounder | 33 cwt. | 23.5 | 19. | 8. | 5.5 | — | 1.3 | 1.55 | 65. |
| 32-pounder | 27 cwt. | 22. | 17.5 | 8. | 5.5 | — | 1.3 | 1.55 | 61. |
| Broadside Rifle. | |||||||||
| 100-pounder | 35.5 | 31. | 9.5 | 6. | 3.6 | 1.6 | 2.05 | 115. | |
| 60-pounder | 28. | 23.5 | 8. | 5.5 | — | 1.3 | 1.55 | 80. | |
| 30-pounder | 25.5 | 21.5 | 7. | 5. | — | 1.2 | 1.55 | 39. | |
| 20-pounder | 23. | 17.5 | 6. | 4. | — | 1. | 1.55 | 34. | |
211. Gun-tackle falls will be made of Manilla or such other pliable
rope as may be directed from time to time by the Bureau of Ordnance.
It is prohibited to blacken them or to diminish their pliability.
Three-inch rope will be found large enough for the heaviest, and from
2 1/2 to 2 1/4 inch for the lighter guns.
The rope being well stretched, the falls are to be cut of sufficient
length to allow the full recoil, leaving end enough to hitch round the
straps of their inner blocks, when hooked to the middle bolts.
212. Blocks for gun-tackles should have pins of hardened copper,
turned smooth, and sheaves of lignum-vitæ without bouching. Those to
reeve 3-inch falls to be 10 inches, those for 2 1/2 inch falls 9
inches, and those for 2 1/4 inch falls 8 inches long. The hooks of
gun-tackle blocks are not to be less than one and a half inch diameter
at the bend for heavy, and one and a quarter for light,
broadside-guns.
Metallic blocks with nibs, which keep the blocks fair with the falls,
and thus prevent the falls from fouling in the recoil, are to be
supplied to all Marsilly and heavy pivot carriages.
GRIOLET.
213. The Griolet-Purchase for dismounting guns on covered decks is
composed of—
A toggle-block, made of elm or oak, the outer end or head of which is
made rather larger in diameter than the inner one, which exactly fits
the bore of the gun. The head has two sheaves in it, so as to form the
lower block of the muzzle-purchase, and is bound at the outer end with
an iron band.
A double cascabel-block of iron is made either with a shackle or to
fit between the jaws of the cascabel, where it is secured by the
cascabel-pin. The iron pins on which the sheaves revolve are formed
with eyes, for the convenience of hitching the standing part of the
purchase.
Two iron treble-blocks, one for the muzzle and the other for the
breech-purchase.
The muzzle-purchase block is so fitted as to be either shackled or
toggled to the housing-bolt above the port, and the breech-purchase
block has an iron strap terminating above, with an eye by which it is
shackled to a bolt passing through the deck above the gun. This bolt
has an eye in one end, and a screw or key-slit at the other, and, when
in place, is secured above the deck with a nut or key, between which
and the deck a washer of hard wood or iron of suitable breadth and
thickness is placed.
The hole through which this bolt is put should be directly above the
cascabel-block when the muzzle of the gun is under the housing-bolt,
and may be bored at the time the gun is to be dismounted; it is to be
stopped afterwards with a plug of wood coated with white-lead.
But as it is desirable that every division on the gun-deck should be
exercised in mounting and dismounting its guns, a hole may be made in
the deck above each division and bouched with a composition screw-tap.
The purchase-falls should not be less than three and a half inches in
size, and should be made of Manilla rope, of sufficient length to
reeve full, the gun being supposed to be on deck and the upper blocks
in place, allowing also sufficient end for splicing in the thimbles
and hitching the standing part of the purchase when rove.
An iron thimble, large enough to hook the double-block of a side or
train tackle, is spliced into the end of each purchase-fall.
SELVAGEE WADS.
214. Selvagee wads are made by the wad-machine at the Navy Yards. This
consists of pairs of disks adapted to each calibre of guns, which
being placed face to face on a spindle and keyed, present an annular
score, grooved in such a way as to make, when filled, a grommet of the
requisite size. [69]Transverse notches are cut in the circumference of the
disks to the bottom of the score, for the convenience of marling the
wad before taking it off the mould.
In making the wad, the end of a rope-yarn is fixed in the score, and
the mould is turned by a crank until the score is filled. The grommet
thus formed is marled like a selvagee strap, and a section of about an
inch is taken out of it, in order to make the wad, when swelled by
dampness, enter the bore of the gun readily.
Selvagee wads should be made neither too hard nor too soft; and to
avoid either of these extremes, a sufficient number of hitches only
will be taken to give the wad the consistency required for service.
Sections of one-third or one-fourth of these wads will answer as well,
in case of need.
MAGAZINE-SCREENS.
215. Are made of thick fearnaught, or of double baize, with holes
through which to pass the powder; these holes to be covered by broad
flaps of the same material. One screen is to be hung abaft, and
another forward of the magazine passing-hatch and scuttles in
sloops-of-war; in ships-of-the-line and frigates, one is usually to be
hung abaft the fore, and one forward of the after, magazine-scuttle;
but as ships are differently arranged, two to each magazine will be
allowed, if required.
Canvas chutes for returning empty passing-boxes are to be supplied to
each scuttle.
MAGAZINE-DRESSES.
216. Are to be of worsted, like a simple shirt, to reach to the
knees—no metal buttons to be worn.
The shoes must be made wholly of cotton canvas or buckskin. In hot
climates or warm weather generally, the naked feet are preferred.
India-rubber and woollen slippers are prohibited.
RATTLES FOR CALLING BOARDERS.
217. To be made like those used by watchmen, of white oak, or some
other similar wood. Rattle, 12 inches long; ratchet, 2 inches in
diameter; spring, one inch in width, and of sufficient thickness and
elasticity to produce the requisite sound. Weight enough should be
given to the butt to cause it to revolve round the handle with ease.
Fixed rattles of greater power will be attached to suitable places on
each deck.
SHELL-WHIPS.
218. To be made of two-inch rope, rove through two single blocks one
above the other, in the shell-hatchway, and the ends knotted together.
A hook is fixed on each part of the whip, near the block, so that the
parts being bowsed on alternately, a full box is brought up on one
hook and an empty one lowered by the other, at the same time.
FLASH-PANS.
219. Shallow copper bowls, large enough to hold an ounce of powder,
with a handle two feet long, to be supplied to all vessels.
DARK LANTERNS.
220. To be made of copper, tinned inside, with two handles at the
side, that the shade may be turned without taking hold of the top. The
whole height, 12 inches; diameter, 4 inches.
BOAT GRAPNELS.
221. Are made of round iron, quite light, for throwing into the
rigging or chains of the enemy, for the purpose of holding on when
boarding; their prongs are barbed.
Six feet of small chain are to be attached to the ring, and connected
with six fathoms of one and three quarter rope.
TARGETS.
222. In the construction of targets for practice at sea, the chief
object will be to give buoyancy and stability to the screen, with
sufficient development of its surface. To these ends, whiskey or beef
barrels, supporting boards of sufficient length, will afford staging
for the masts, yards, and screen; the heel of the mast passing through
the stage, and having ballast attached to it. The stage should be so
fitted as to be readily put together when wanted, and taken apart for
stowage.
Harbor targets may be anchored, or supported on stakes; but it would
conduce to good practice to stretch a screen of sufficient length to
show, distinctly, four or six ports, with the proper intervals
between. This will the better exhibit the lateral effect of the firing
of each gun, and of the concentration of fire from several guns at
known distances.
PACKING-BOXES.
223. Cartridges for small arms, primers, spur-tubes, percussion-caps,
spare fuzes, false-fires, blue-lights, port-fires, and signal-rockets,
will generally be supplied to vessels in boxes, in which they can be
kept with little liability to injury, until wanted for use. (See Part
I., Page 10, Art. 42.)
These boxes are to be safely kept and returned into store, or
accounted for in the same manner as other articles of Ordnance stores,
by those persons in whose charge they may be placed. They will be held
pecuniarily responsible for their loss.
GUN-SLINGS
224. Must be made of chain of 3/4-inch iron, and tested, to secure
proper strength; the rings are to be of 1 1/4-inch iron. The length of
the slings should exceed by one foot that of the longest gun on board.
The two parts should be parcelled and marled together for a space of
two feet before and one foot behind the trunnions of the longest gun,
and a piece of three-inch rope spliced around both parts in the wake
of the parcelling, long enough to take four or five turns round the
chase of the largest gun.
TRUNNION-SIGHT FOR MORTARS AND PIVOT-GUNS.
225. The trunnion-sight is designed to be used only when the required
elevation passes the limits of the other sights. It is formed of a bar
of mahogany, or other hard wood not liable to warp, of about forty
inches in length, two inches wide, and one inch thick, with a brass
notch at the rear end and a point at the other, fixed in, and parallel
to, the upper edge. It is attached, by a stout thumb-screw, to the
axis of the left trunnion, around which it revolves when the screw is
slack.
A semicircular plate, graduated to degrees, is attached to the bar, so
that the sight may be used with the tables showing the corresponding
ranges of the several classes of guns with their distant
firing-charge. (See Tables of Ranges, Appendix D.)
The upper edge of the sight-bar corresponds with 0° when the line of
sight is parallel to the axis of the bore. A small level let into the
upper surface of the rear end of the bar shows when the bar is level.
In using this sight, the thumb-screw is first loosened, and the rear
end of the sight raised until the mark on the trunnion coincides with
the degree of elevation required for the range, as given in the
Tables: clamp the thumb-screw, and elevate the gun until the bubble is
at 0°, then give the lateral training.
226. Tangent-sights placed on the side of the breech, with a fixed
front sight on the rimbase, as in rifled cannon, will hereafter be
supplied to all pivot-guns; and these will give the sight with equal
accuracy at all elevations.
227. Rammer-heads are to be made of well-seasoned ash, birch, beech,
or other tough wood, of the form and dimensions given in the drawings
furnished by the Bureau to the different Navy Yards. The face of the
rammer is hollowed, so as to embrace the front of the ball and press
the selvagee wad home in its place. A hole is bored lengthwise through
the head to admit the tenon, which is fastened by a pin of hard wood,
three-tenths of an inch in diameter, passing transversely through the
head and tenon. The diameter of the staff is 1.75, and that of the
tenon 1.5 inch. The diameter of the rammer-head will be 0.25 inch less
than that of the bore or chamber to which it is adapted.
For all chambered guns except those of the Dahlgren pattern, the
rammers will be adapted to the chamber, but, as above described, will
answer equally well for the shot and selvagee wad.
Staves are made of tough ash, and are one foot longer than the bores
of the guns for which they are intended: they are to have grooves 1/16
of an inch deep and 1/4 of an inch broad cut in them to show when the
“ordinary charges” are in place, and, by due allowances, the others
also.
For rifled cannon, rammer-heads are made of composition, of the
pattern prescribed by the Bureau.
228. Sponge-heads are to be made of poplar, or other suitable light
wood. A hole 1.5 inch in diameter is bored through the axis to admit
the tenon of the staff, into which the worm is previously secured by
means of a brass pin which passes through an eye in its shank and the
tenon. The worm is intended to project half an inch beyond the face of
the sponge-head, when the tenon is in place, and to have free play
back into its socket when pressed against the bottom of the bore. It
must be two inches in length and one and a quarter inch in diameter,
made of elastic brass or composition wire two-tenths of an inch in
diameter, and tapering at the points, so as to preserve its elasticity
and firmness. It is to be left-handed, in order to act when turned to
the right, or with the sun.
The wood of which sponge-heads are made should be well seasoned, and
gotten out of a size but little greater than the diameter of the heads
for which it is intended, so that there may be as little shrinkage as
possible in the finished heads.
The heads, when finished, should also be primed with several coats of
boiled linseed oil or varnish, as the porous wood of which they are
made is apt to become water-soaked, or to split on exposure to the
air.
229. For chambered guns the sponges must fit the chambers and slopes,
and a portion of the main bore, as shown in the drawings furnished by
the Bureau. When made of wool, the whole surface is covered, and so
sheared [73]as to have no windage, and to be even with the points of the
worm, that they make take effect. The heads for woollen sponges should
be one inch less in diameter than the bores or chambers of the guns
for which they are intended.
In future, sheepskins will not be allowed, but covers for sponge-heads
made up ready to slip over the head and be tacked on.
230. The heads for the sponges of unchambered guns are to be eight
inches long; and all sponge-heads intended to be covered with woollen
material must be slightly tapered and secured by a thin copper hoop,
fastened with copper tacks, on the inner end.
231. For Bristle Sponges the heads must be 1.5 inch less in diameter
than the bores or chambers for which they are designed. The bristles
are to be sheared so as to work easily and leave no windage. The worm
must project one-fourth of an inch, in order to take the bottom of the
bore, and special care is to be taken by the Inspector that it has
both the necessary stiffness to act efficiently and elastically
enough, when pressed home, to yield sufficiently to allow the bristles
to act also. Spiral spaces extending the whole length of the
sponge-head, including the portion adapted to the main bore in
chambered guns, are to be left, in order to bring out the unconsumed
portions of cartridges. These spaces must be left-handed like the
worm.
Great care is necessary, in stowing them, to prevent the bristles from
being crushed down by contact with hard substances. For this purpose
fenders will be provided with copper tacks, on the inner end.
One will be allowed to each division, for each calibre, for cleaning
guns.
232. Sponge-staves are to be made of tough ash, 1.75 inch in diameter,
and must be 18 inches longer than the bores of the guns for which they
are intended.
233. Sponge-caps are made of duck, and, except for spar-deck guns
where they are exposed to the weather, should not be painted, but
they, as well as the staves, should be kept clean by scrubbing. A
becket should be attached to the end to haul them off by.
Sponges should be washed carefully and dried after use before putting
the caps on, and frequently examined and dried to prevent their
rotting.
ROBINSON’S WORM.
234. This worm consists of a screw, 1 1/4 inch in diameter, of two
turns, at the end of a cylindrical iron shank, with a socket and
straps riveted to the staff, which is 1.5 inch in diameter. The worm
is supported in the axis of [74]the bore by means of a guide-ring of
composition, kept in place on the shank, six inches from the end, by a
shoulder and forelock.
Thus adjusted, it is used to draw the junk-wad and cartridge; the
latter being laid hold of by the tie, if the staff be held in the axis
of the bore, is uninjured.
When the ring is removed the worm will be equally efficient in drawing
the selvagee wad.
LADLES.
235. Ladles, when required, are to be made according to the patterns
sent to each of the Navy Yards. Ladles which may be on hand are to be
tried in drawing projectiles from the guns before they are issued for
service. The Ladle will not draw rifle projectiles, and should not be
used for that purpose.
SCRAPERS FOR BOTTOM OF BORE.
236. These consist of two steel blades, crossing each other in the
middle, and having their edges conformed to the curve of the bottom of
the bore. They are inserted in a sponge-bead, and are designed to
remove the cake usually caused by the adherence of the bottoms of the
cylinders to the bottom of the bore.
The edges of the scrapers are so bevelled as to act only when turned
to the right, or with the sun.
Scrapers are also to be supplied for rifled cannon, made to clean a
groove and the adjacent lands.
ORDINARY HANDSPIKES.
237. Handspikes are to be made of well-seasoned white hickory, of the
form and dimensions directed by the Bureau. They are always to be
shod, stained black, and oiled. The Ordnance Officer of the Navy Yard
will ascertain that they ship freely in the training-loops or sockets,
and that the toe is sufficiently rounded not to cut the decks when
held vertically.
| Details of Handspikes. | No. 1. | No. 2. | No. 3. | ||
| Length | Total | in. | 64. | 60. | |
| Square part | in. | 20. | 20. | ||
| Octagon part | in. | 6. | 6. | ||
| Round part | in. | 38. | 34. | ||
| Shoe | in. | 18. | 18. | ||
| Diameter | of square | in. | 2.75 | 2.50 | |
| of small end | in. | 1.75 | 1.6 | ||
| Radius of quarter round | in. | 4.5 | 3.5 | ||
| Weight | lbs. | 16. | 12. | ||
238. There are two sizes of roller handspikes: No. 1 for the IX-in.
shell-gun and 100-pdr. Marsilly, or two-truck carriage; No. 2 for all
other guns.
They are composed of—the head and socket of bronze, handle of
hickory, and the roller of lignum-vitæ.
The boss on the head makes, with the handle, an angle of 70°, and,
when vertical, lifts the carriage half an inch (0.5).
Commander Beaumont’s roller handspike has been adopted.
It is a common error of seamen to stoop, with a view of raising the
carriage higher. The lift is greatest when the end of the handle is at
the hip.
| Details of Roller Handspikes. | No. 1. | No. 2. | ||
| Length | Extreme | in. | 70.5 | 66. |
| of handle | in. | 63. | 62.5 | |
| of socket | in. | 12. | 7.5 | |
| of boss | in. | 1.6 | 1.3 | |
| of boss from centre of roller | in. | 4.5 | 3.6 | |
| of axle-pin | in. | 9.5 | 7.5 | |
| Diameter | of roller | in. | 4.5 | 2.5 |
| of socket | in. | 2.9 | 2.5 | |
| of hole in socket | in. | 2.6 | 2.25 | |
| Small end of handle | in. | 1.5 | 1.50 | |
| of hole for axle-pin | in. | .75 | .62 | |
| Width | of roller | in. | 4.5 | 2.5 |
| Exterior of head | in. | 9.00 | 7.00 | |
| Weight | lbs. | 32. | 19.5 | |
IMPRESSION-TAKERS.
239. All vessels carrying XI and IX inch guns, and all iron rifles,
are to be furnished with an impression-taker and wax. Impressions of
the vent and bore, as described in Art. 57, are to be taken after
every ten shotted rounds in practice, and at the close of an action.
The last one should be preserved for comparison with the succeeding
one; and when, in the opinion of the Commanding Officer, the wear
becomes excessive, or a decided crack shows itself, a duplicate must
be forwarded to the Bureau for examination. In forwarding them, they
should be tacked on a piece of thin board secured in the bottom of a
box. If wrapped in cotton or oakum they are generally defaced. The
date, number of fires, Register Nos. of guns, ship from which
forwarded, and other remarks written and pasted on the under side of
the box-cover.
In expert hands any small spar—such as a boat’s mast—will take the
impression equally well.
240. Passing-boxes are to be made of strong and well-tanned harness or
sole leather, strongly sewed, or of such other material as may be
directed.
For 8-inch and 32-pounder guns they are to be of sufficient height to
contain two near-firing charges.
Their diameters, in the clear, must be half an inch greater than those
of the cartridges they are to contain.
Their tops must be distinctly lettered, in letters one inch and a half
long, with the calibre and class of gun they are intended to serve,
and made to slide on the beckets.
241. All passing-boxes are to be painted black, with the calibre and
charge painted in white letters two and one-half (2 1/2) inches long
on the side, and one and one-half (1 1/2) on the top.
242. If, however, there are any guns of the same calibre on spar-decks
requiring lighter charges, the lower half of the box shall be painted
white.
For gun-decks in similar cases the lower half shall be painted red.
FIRE-TUBS.
243. Fire-tubs should be made of oak, of the patterns furnished by the
Bureau, the hoops being of iron. The top is to be provided with a
stout hoop of wood, to ship and unship, with a grating across it of
stout copper wire, the meshes of which must be small enough to prevent
the passing-boxes from falling into the water when struck over the
tub.
FIRE-BUCKETS.
244. Fire-buckets should be made of light well-tanned sole leather,
according to pattern.
A few Rubber buckets have been issued for trial and report.
THE GROMMET MUZZLE-LASHING FOR HOUSING GUNS.
245. Consists of a grommet made of rope double the size of the
gun-tackle falls, with two cringles worked into it for the frapping
lashing, which will be of stuff half the size of the tackle-falls.
The grommet will be made large enough just to slip over the swell of
the muzzle when the bight is over the housing hook-bolt, and the gun
is in position for housing. It will be wormed throughout, and
parcelled in the wake of the housing-bolt and frapping lashing, and
where there is no swell, in the wake of the muzzle-ring.
Where the housing-bolt is an eye-bolt, the grommet is secured to it by
means of a toggle which has a lanyard.
246. For the Navy time-fuze these are made of steel, with a round
shank, four inches long, four-tenths of an inch diameter. Prongs
round, one and a half inch long, three-tenths of an inch diameter.
Cross-handle of wood, with small forked screw-driver in one end for
water-cap. The prongs of the wrench are flattened at the ends, and are
nine-tenths of an inch apart.
A three-armed wrench is also required for the Parrott, Schenkl, and
Hotchkiss fuzes, all of which differ.
Two to be allowed to each shell-room.
RIGGING STOPPERS.
247. Standing rigging, when stranded or shot away, is most readily and
effectually secured for the moment by using stoppers composed of two
small dead-eyes, fitted with double selvagee tails and lanyards, of
sizes suitable to the rigging, whether lower or topmast. These are to
be fitted on board ship, and set up by means of pendant-tackles or
jiggers, as the case may require.
HARNESS-CASKS FOR BOATS.
248. For expeditions, the launches and first cutters of all vessels
are each to be provided with a week’s supply of pork, sufficient for
all the boats’ crews of the ship, kept in quarter barrels or kegs,
adapted to the form of the boat and to convenient stowage.
ACCOUTREMENTS FOR CAPTAINS OF GUNS, BOARDERS, AND SMALL-ARMS MEN.
249. Waist-Belts, to be made of buff leather—grained leather becomes
stiff and horny when exposed to the sea-air—two inches wide, and from
forty to forty-four inches long; a pattern buckle has been adopted.
The same belt is used by Captains of guns and boarders, as well as by
small-arms men and the crews of field-howitzers; the frogs and boxes
to hold the arms and ammunition being fitted with loops to slip on and
off the belt as circumstances require, and in the following order:
1st and 2d Captains of guns, and of field and boat howitzers, wear the
primer-box in front; if they are boarders, the sword on the left and
the pistol-frog on the right hip. These equipments, consequently, will
be slid on towards the loop end of the belt, in the order just named.
Other boarders, and guns’ crews of howitzers when used as field-guns,
wear their arms, as in the preceding case, without the primer-box.
[78]Men armed with muskets, and acting on shore, will wear musket
cartridge-boxes, fitted with frog and scabbard for bayonet on the
waist-belt.
Men who may be armed with carbines on shore duty will wear
cartridge-boxes with waist-belts. For boat duty, or when armed with
pistols and swords, they will wear the waist-belt with the proper frog
and boxes.
250. Instead of the sword-frog, the sword scabbards of Admiral D.D.
Porter’s pattern are fitted with a loop to slide on the waist-belt.
This scabbard also dispenses with the brass mountings, which are
replaced by leather ones. The whole is fastened by copper rivets,
instead of being sewed.
251. Primer-Boxes, of black bridle leather, rectangular in form, and
of the size to contain, loosely, the tin packing-box. Flap covering
the top and front with a button-hole strap one inch in width, sewed
near the bottom: brass button riveted to the bottom of the box. Loop,
two inches wide, placed upright on the back of the box for the
waist-belt to pass through.
252. Pistol-Frog—buff leather—wide enough at the mouth to cover the
cock of the pistol, and at the lower part to accommodate the stock;
upper part of the back of it turned down to form a loop large enough
to admit the waist-belt. The stitches forming the side seams not to
come nearer than 0.25 inch from the edges of the leather. To be worn
on right hip.
Pocket—thin bridle leather—to contain three cartridges; flap,
tongue, and loop.
Cap-pocket, like the cartridge-pocket; lining, a strip of sheepskin
with the wool on, glued with fish-glue and sewed to the back at the
mouth of the pocket.
These two pockets are of the same depth, and occupy the whole breadth
of the pistol-frog.
253. Thumbstalls, of buckskin, with hair-stuffed pad, and thongs for
the wrist.
254. Musket Cartridge-Box—black bridle leather—length, 7.2 inches;
width, 1.6 inch; depth in front, 5.8 inches; inner cover—upper
leather—4 inches wide, with end pieces sewed to it so as to cover the
ends of the box; flap—harness leather—8.5 inches wide at the bottom,
8 inches at top, stamped U.S.N. in an oval on the outside; a
button-hole strap, sewed near the bottom; brass button riveted to the
bottom of the box; loop—bridle leather—with a hole in the middle to
hook the shoulder-belt to, sewed to the back of the box for the
waist-belt to pass through.
Cap-pocket—light upper leather—sewed to the front of the box;
length, 4 1/2; depth, 2 1/2 inches; flap, tongue, and loop—bridle
leather; lining, a strip of sheepskin with the wool on, 1.5 inch wide,
glued with fish-glue and [79]sewed at the mouth of the pocket; pocket for
ball-screw and wiper sewed on the right, and for cone-key and
cone-pick on the left of the cap-pocket.
Two tin linings, each with a lower division, 3 inches by 3.3 inches,
open in front, to contain a bundle of ten cartridges, and two bundles
of caps containing 25 each, packed in water-proof paper. Each tin has
also two upper divisions, 2.7 inches deep—one of 2 inches by 1.35
inch for six cartridges; the other, 1.35 inch square, for four
cartridges. The edges of the tins are turned over and soldered down,
to prevent them from cutting the fingers.
All the tin linings should be made to slide freely in the boxes.
255. Carbine Cartridge-Box.—The leather parts are like those of the
musket cartridge-box; length, 6.4 inches; depth in front, 3.7 inches;
width, 1.3 inch; inner cover, 3.5 inches wide; flap, 6.6 inches wide
at top, 6.8 at bottom, 6 deep. Tin linings; two lower divisions, 2
inches deep, 2.9 inches long, 1.2 wide; five upper divisions, 1.2 inch
wide by 1.15 inch long, and 1.5 inch deep, to contain forty
cartridges, those below in bundles of water-proof paper.
256. Cone-Pick of steel wire, No. 18, 1.5 inch long, with a
ring-handle 0.5 inch in diameter; it is carried, with the cone-key, in
the pocket in front of the musket cartridge-box.
257. Bayonet Scabbard—black bridle leather—length, 19.3 inches.
Frog—buff leather—sewed to a socket of black leather, which is
fastened to the top of the scabbard; the loop of the frog to be made
wide enough to slide on the waist-belt.
MARKING SMALL ARMS.
258. It is directed that hereafter all small arms, when passed by the
Inspector, be stamped in the following manner:
MUSKETS, CARBINES, AND PISTOLS.
On the top of the barrel, near the breech, with an anchor; and, on the
lock-plate, the letter P over the initials of the Inspector, thus:
P./A.B.
REVOLVERS.
On the top of the barrel, near the cylinder, with an anchor; and, on
the face of the cylinder, the letter P over the initials of the
Inspector, as above.
CUTLASSES.
On the blade, immediately below the guard, with an anchor; and the
letter P over the initials of the Inspector, as above.
[80]All arms in store or returned from ships will be stamped with the
anchor before being issued.
The Bureau will furnish to each Inspector two sizes of stamps.
Muskets, Carbines, and Cutlasses are to be marked with the larger,
.15-in., and Pistols and Revolvers with the smaller, 0.1-in., size of
stamps.
PRESERVATION OF SMALL ARMS.
259. The Captain will take care that the Small Arms are carefully
cleaned and wiped dry after every exercise or use of them, before they
are put away.
260. He will cause them to be frequently examined at other times, to
prevent their being clogged with oil or lacquer, and to be sure that
they are always ready for use.
He will strictly prohibit their being marked or otherwise defaced.
261. It is directed that the men who use them be taught to clean them
properly, and to remedy any slight defects or obstructions to their
use.
Chests not lined preserve them best, if there be no proper armory.
DIRECTIONS FOR CLEANING ARMS.
262. In taking apart and cleaning guns, there are required a
screw-driver, wiper, wire-tumbler punch, and a spring vice. No other
implements should be used in taking arms apart, or in setting them up.
263. Dismounting and Cleaning.—The rifle-musket should be dismounted
in the following order, viz.:
1st. Unfix the bayonet. 2d. Insert the tompion. 3d. Draw the ramrod.
4th. Turn out the tang-screw. 5th. Take off the lock; to do this, put
the hammer at half-cock, and partially unscrew the side screws; then,
with a slight tap on the head of each screw with a wooden instrument,
loosen the lock from its bed in the stock; turn out the side screws,
and remove the lock with the left hand. 6th. Remove the side screws
without disturbing the washers. 7th. Take off the bands in order,
commencing with the uppermost. 8th. Take out the barrel; in doing
this, turn the musket horizontally, with the barrel downward, holding
it loosely, with the left hand below the rear sight and the right hand
grasping the stock by the handle; tap the muzzle on the ground, if
necessary, to loosen the breech. If an attempt were made to pull the
barrel out by the muzzle, it would, in case it were wood-bound, be
liable to split at the head of the stock.
The foregoing parts of the rifle-musket are all that should usually be
taken off or dismounted.
[81]The breech-screw should be taken out only by an armorer, and never in
ordinary cleaning. The mountings, cone and cone-seat screw, should not
be taken off, nor should the lock be taken apart, except by permission
of an officer.
264. To Clean the Barrel.—1st. Stop the vent with a peg of soft wood,
or piece of rag or soft leather pressed down by the hammer; pour a
gill of water, warm, if it can be had, into the muzzle; let it stand a
short time to soften the deposit of powder; put a plug of soft wood
into the muzzle and shake the water up and down the barrel; pour it
out and repeat the washing until the water comes out clear; remove the
peg from the cone and stand the barrel muzzle downward, to drain, for
a few moments.
2d. Screw the wiper on the end of the ramrod, and put a piece of dry
cloth or tow round it sufficient to prevent it from chafing the
grooves of the barrel; wipe the barrel dry, changing the cloth two or
three times.
3d. Do not put oil into the vent, as it will clog the passage and
cause the first cap to miss fire; but, with a slightly oiled rag on
the wiper, rub the bore of the barrel and the face of the
breech-screw, and immediately insert the tompion into the muzzle.
4th. To clean the exterior of the barrel, lay it flat on a bench or
board, to avoid bending it. The practice of supporting the barrel at
each end, and rubbing it with a strap, buffstick, ramrod, or any other
instrument to burnish it, is pernicious, and should be strictly
forbidden.
5th. After firing, the barrel should always be washed as soon as
practicable; when the water comes off clear, wipe the barrel dry and
pass into it an oiled rag. Fine flour of emery cloth is the best
article to clean the exterior of the barrel.
265. To Clean the Lock.—Wipe every part with a moist rag, and then a
dry one; if any part of the interior shows rust, put a drop of oil on
the point or end of a piece of soft wood dipped into flour of emery;
rub out the rust and wipe the surface dry; then rub every part with a
slightly oiled rag.
266. To Clean the Mountings.—For iron and steel parts, use fine emery
moistened with oil, or emery cloth. For brass parts, use rotten-stone
moistened with vinegar or water, applied with a rag, brush, or stick;
oil or grease should be avoided. The dirt may be removed from the
screw-holes by screwing a piece of soft wood into them. Wipe all parts
with a linen rag, and leave the parts slightly oiled.
267. Dismounting by an Armorer.—The parts which are specially
assigned to be dismounted by an experienced armorer will be stated in
their regular order, following No. 8, viz.:
9th. Unscrew cone. 10th. Take out cone-seat screw, 11th. Take out
[82]band-springs, using a wire punch. 12th. Take out the guard-screws. Be
careful that the screw-driver does not slip and mar the stock. 13th.
Remove the guard without injuring the wood at either end of the plate.
14th. Remove the side screw-washers with a drift-punch. 15th. Remove
the butt-plate. 16th. Remove the rear-sight. 17th. Turn out the
breech-screw by means of a “breech screw-wrench” suited to the tenon
of the screw. No other wrench should ever be used for this purpose,
and the barrel should be held in clamps neatly fitting the breech.
268. Lock.—To take the lock apart: 1st. Cock the piece and apply the
spring-piece to the mainspring; give the thumb-screw a turn sufficient
to liberate the spring from the swivel and mainspring notch; remove
the spring. 2d. The sear-spring screw. 3d. The sear-screw and sear.
4th. The bridle-screw and bridle. 5th. The tumbler-screw. 6th. The
tumbler. This is driven out with a punch inserted in the screw-hole,
which at the same time liberates the hammer. 7th. Detach the
mainspring swivel from the tumbler with a drift-punch. 8th. Take out
the feed-finger and spring. 9th. The catch-spring and screw.
269. As a general rule, all parts of the musket are assembled in the
inverse order in which they are dismounted. Before replacing screws,
oil them slightly with good sperm oil, as inferior oil is converted
into a gum, which clogs the operation of the parts. Screws should not
be turned in so hard as to make the parts bind. When a lock has, from
any cause, become gummed with oil and dirt, it may be cleaned by
boiling in soap-suds, or in pearlash or soda-water; heat should never
be applied in any other way.
270. Precautions in Using.—In ordering arms on parade, let the butt
be brought gently to the ground, especially if the ground be hard.
This will save the mechanism of the lock from shocks, which are very
injurious to it, and which tend to loosen and mar the screws and split
the wood-work.
The ramrod should not be sprung with unnecessary force, for fear of
injuring the corners of the grooves; and, in stacking arms, care
should be taken not to injure the bayonets by forcibly straining the
edges against each other.
No cutting, marking, or scraping the wood or iron should be allowed,
and no part of the gun should be touched with a file. Take every
possible care to prevent water from getting between the lock, or
barrel and stock. If any should get there, dismount the gun as soon as
possible, clean and oil the parts as directed, and see that they are
perfectly dry before assembling them.
PAINTS AND LACQUERS.
COMPOSITION AND PREPARATION.
271. The proportions are given for 100 parts by weight of prepared
colors, when not otherwise designated.
| A gallon of linseed oil weighs | 7.5 lbs. |
| A gallon of spirits of turpentine | 7.25 lbs. |
| A gallon of Japan varnish | 7. lbs. |
| A gallon of sperm oil | 7.12 lbs. |
| A gallon of neatsfoot oil | 7.63 lbs. |
PAINTS AND LACQUERS.
Boiled oil.
| Raw linseed | 103. lbs. |
| Copperas | 3.15 lbs. |
| Litharge | 6.3 lbs. |
Dryings.
| Mixture of copperas and litharge taken from the boiled oil | 60 lbs. |
| Spirits turpentine | 56 lbs. |
| Boiled oil | 2 lbs. |
Putty (for filling cracks in wood).
| Spanish whiting, pulverized | 81 lbs. |
| Boiled oil | 20.4 lbs. |
Another kind of putty, for the same purpose, is made by mixing fine
sifted oak sawdust with linseed oil which has been boiled till
glutinous.
White paint.
| Proportions. | ||
| For inside work. | For outside work. | |
| White-lead, ground in oil | 80. lbs. | 80. lbs. |
| Boiled oil | 14.5 lbs. | 9 lbs. |
| Raw oil | 0. lbs. | 9 lbs. |
| Spirits turpentine | 8. lbs. | 4 lbs. |
Grind the white-lead in the oil, and add the spirits of turpentine.
New wood-work requires about 1 lb. to the square yard for three
coats.
| White-lead, ground in oil | 75. lbs. |
| Lampblack | 1 lb. |
| Boiled linseed oil | 23. lbs. |
| Litharge | 0.5 lb. |
| Japan varnish | 0.5 lb. |
| Spirits turpentine | 2.5 lbs. |
The lampblack and litharge are ground separately upon the stone, in
oil, then stirred into the white-lead and oil; the turpentine and
varnish are added as the paint is required for use, or when it is
packed in kegs for transportation.
Black paint.
| Lampblack | 28 lbs. |
| Litharge | 1 lb. |
| Japan varnish | 1 lb. |
| Linseed oil, boiled | 73 lbs. |
| Spirits turpentine | 1 lb. |
Grind the lampblack in oil; mix it with the oil, then grind the
litharge in oil and add it, stirring it well into the mixture. The
varnish and turpentine are added last.
This paint is used for the iron-work of carriages.
Paint for tarpaulins.
A square yard takes 2 lbs. for three coats.
| 1. Olive.— | Liquid olive color | 100 lbs. |
| Beeswax | 6 lbs. | |
| Spirits turpentine | 6 lbs. |
Dissolve the beeswax in the spirits of turpentine, with a gentle heat,
and mix the paint warm.
2. Add 12 ounces of beeswax to a gallon of linseed oil, and boil it
two hours; prime the cloth with this mixture, and use the same in
place of boiled oil for mixing the paint. Give two coats of paint.
Lacquers for iron ordnance.
| 1. Black-lead, pulverized | 12 lbs. |
| Red-lead | 12 lbs. |
| Litharge | 5 lbs. |
| Lampblack | 5 lbs. |
| Linseed oil | 66 lbs. |
Boil it gently about twenty minutes, during which time it must be
constantly stirred.
| 2. Umber, ground | 3.75 lbs. |
| Gum-shellac, pulverized | 3.75 lbs. |
| Ivory-black | 3.75 lbs. |
| Litharge | 3.75 lbs. |
| Linseed oil | 78. lbs. |
| Spirits turpentine | 7.25 lbs. |
The oil must be first boiled half an hour. The mixture is then boiled
twenty-four hours, poured off from the sediment, put in jugs and
corked.
| 3. Coal tar of good quality | 2 galls. |
| Spirits turpentine | 1 pint. |
The turpentine to be added in small quantities during the application
of the lacquer.
| 4. Anti-corrosion | 40 lbs. |
| Grant’s black, ground in oil | 4 lbs. |
| Red-lead, as a dryer | 3 lbs. |
| Linseed oil | 4 galls. |
| Spirits turpentine | 1 pint. |
This mixture, when well stirred and incorporated, will be fit for use;
but, as by long keeping in this state it becomes hard, no more should
be mixed than may be required for immediate use.
| Anti-Corrosion.— | Slag from iron foundries, pounded | 12 lbs. |
| Chalk | 12 lbs. | |
| Soot, common | 1 lb. |
In applying lacquer, the surface of the iron must be first cleaned
with a scraper and a wire brush, if necessary, and the lacquer applied
hot, in two thin coats, with a paint-brush. It is best done in summer.
Old lacquer should be removed with a scraper, or by scouring, and not
by heating the guns or balls, by which the metal is injured.
PLANTOU’S COMPOSITION FOR COATING IRON OR WOOD AS A PRESERVATIVE.
First composition.
| Pulverized rosin | 3 lbs. |
| Pulverized shellac | 2 oz. |
| Pulverized charcoal, or cannel-coal | 1 lb. |
| Spirits turpentine | 1 oz. |
Second composition.
| Pulverized rosin | 3 lbs. |
| Beeswax | 4 oz. |
| Pulverized charcoal, or cannel-coal | 1 lb. |
| Spirits turpentine | 1 oz. |
[86]The first two articles are to be dissolved in an iron vessel over the
fire; the charcoal is then added, and briskly stirred until the whole
is well intermixed; after which the turpentine is added, and stirred
until it is well incorporated with the other ingredients. It is not
safely made on board ship.
The composition is to be applied when hot, with a brush or spatula,
and smoothed over with a hot iron. The wood, or iron should be
perfectly dry, and freed from rust or other loose substances.
Lacquer for small arms, or for water-proof paper.
| Beeswax | 13 lbs. |
| Spirits turpentine | 13 galls. |
| Boiled linseed oil | 1 gall. |
All the ingredients should be pure, and of the best quality. Heat them
together in a copper or earthen vessel, over a gentle fire, in a
water-bath, until they are well mixed.
Lacquer for bright iron-work.
| Linseed oil, boiled | 80.5 lbs. |
| Litharge | 5.5 lbs. |
| White-lead, ground in oil | 11.25 lbs. |
| Rosin, pulverized | 2.75 lbs. |
Add the litharge to the oil, let it simmer over a slow fire for three
hours; strain it, and add the rosin and white-lead; keep it gently
warmed, and stir it until the rosin is dissolved. Apply it with a
paint-brush.
Varnish for scabbards, or patent leather.
| For 1st and 2d coats.— | Prussian blue, in lumps | 4. lbs. |
| Sugar-of-lead | 0.7 lb. | |
| Aquafortis | 0.7 lb. | |
| Linseed oil, boiled | 70. lbs. | |
| Spirits turpentine | 24.6 lbs. |
The ingredients, except the turpentine, are boiled together, in an
iron kettle, eight hours, when the mixture will assume a brilliant
black color. When the varnish is nearly cool, stir in the turpentine.
The kettle in which the varnish is made should be of a capacity to
hold double the quantity of varnish to be boiled. It cannot be safely
made on board ship.
For the third or finishing coat.—Copal Varnish.
| Gum-copal, in clear lumps | 26.5 lbs. |
| Boiled linseed oil | 42.5 lbs. |
| Spirits turpentine | 31. lbs. |
[87]This varnish is made in a copper vessel, smallest at the top, in the
form of a still.
Put the copal in the vessel, set it on a charcoal fire for one hour,
in which time it will melt, and all the watery particles will
evaporate. Add the oil whilst the copal is warm, but not boiling hot.
When nearly cool add the turpentine, which will give it a proper
consistency for use.
For 5 lbs. copal, and the proper proportions of oil and turpentine,
the vessel should hold six gallons. Not safely made on board ship.
Japan varnish.
| Litharge | 4 lbs. |
| Boiled oil | 87 lbs. |
| Spirits turpentine | 2 lbs. |
| Red-lead | 6 lbs. |
| Umber | 1 lb. |
| Gum-shellac | 8 lbs. |
| Sugar-of-lead | 2 lbs. |
| White vitriol | 1 lb. |
Japan varnish is generally purchased from the paint-sellers. It is
made by boiling on a slow charcoal fire for five hours all the
ingredients except the turpentine and a small portion of the oil. The
latter is added as required to check the ebullition and to allay the
froth which rises to the surface. It must be continually stirred with
a wooden spatula. Great care is necessary to prevent it from taking
fire, and therefore it cannot be safely made on board ship.
The turpentine is added after the varnish is nearly cool, and is
stirred well in. The varnish must be kept in tin cans closely corked.
Olive paste.
| Yellow ochre, pulverized | 68. lbs. |
| Lampblack | 1.1 lbs. |
| Boiled oil | 37. lbs. |
| Spirits turpentine | 0.4 lb. |
Make a thick paste with the ochre and oil in a paint-pot, and with the
lampblack and oil in another. Grind them together in small portions,
and keep the mixture in a tin vessel.
Liquid olive color.
| Olive paste | 61.5 lbs. |
| Boiled oil | 29.5 lbs. |
| Spirits turpentine | 5.5 lbs. |
| Dryings | 3.5 lbs. |
| Japan varnish | 2. lbs. |
Stirred together in a paint-pot.
Dissolve 10 pounds of shellac in 10 gallons of boiling water, adding
30 ounces of saleratus. Mix this solution with an equal quantity of
paint prepared in the usual manner. This paint is economical and
durable.
Black stain (for wood-work).
| Copperas | 1 lb. |
| Nutgalls | 1 lb. |
| Sal ammoniac | 1/4 lb. |
| Vinegar | 1 gal. |
Stir it occasionally for a few hours, and it will be ready for use.
The wood must be clean and smooth, and the cracks filled with black
putty, which must be allowed to dry. The stain to be applied two or
three times, and left to dry for a day or two. Then it is to be rubbed
with boiled oil until sufficiently polished. Until the oil is applied
the color will be bluish. Scraping and staining gun-carriages, or
keeping them bright, is prohibited. They should be kept well painted.
Impression wax for vents.
| Beeswax | 4 parts. |
| Tallow | 2 parts. |
| Charcoal, finely powdered | 1 part. |
Melt the beeswax and tallow, and stir in the charcoal.
Paper parchment.
Immerse unsized paper for a few seconds in sulphuric acid, diluted
with half its volume of water at about 60°; wash it well in cold
water, then immerse it in a weak solution of caustic ammonia, and
again wash.
It absorbs water, and becomes soft and pliable like animal parchment,
but is water-proof. It is not affected by boiling water, is
indestructible by most acids, and is not diminished in strength by
wetting. It has about 2/3 the strength of animal parchment when dry;
the thinner kinds make capital tracing-paper, which takes ink readily.
Cement for the above.
| Cheese—fresh, without salt, if possible | 3 parts. |
| Quicklime | 1 part. |
Wash the cheese thoroughly three or four times in boiling water, and
grind the materials on a stone and muller, adding cold water until it
is of the consistency of honey.
[89]Composition for lining the interior of rifle-shells.
| Soap—common yellow, not salt-water soap | 3 parts. |
| Tallow | 7 parts. |
| Rosin | 7 parts. |
The tallow should be melted first, then melt and add the rosin, and
lastly the soap, bringing the mass to a heat that will make it very
fluid.
The shells having been first thoroughly cleaned, fill them about
one-third full of the composition, roll them slowly so as to spread
the mixture over the whole interior surface, and then pour off the
residue. This coating should be about one-tenth (0.1) of an inch in
thickness, except at the bottom of the shell, where it should be about
three-quarters of an inch thick. To obtain these thicknesses, the
operation of coating should be performed twice; then pour into the
shell enough of the composition to produce the desired thickness at
the bottom, the shell standing on its base. After the composition is
perfectly cool, immerse the shell in hot water at as high a
temperature as the composition will stand without “running”—about 170
degrees. This second heating of the composition in the bath toughens
it, and causes it to adhere more closely to the shell.
APPENDIX.
APPENDIX A.
ALLOWANCE OF CREWS:
Embracing Officers and all others to be allowed each Vessel of the
Navy, whatever may be her class, kind, or armament.
The number of men assigned in each case will be found adequate to man
properly the battery, and also the Powder Division,
together with the
divisions of the Master and Surgeon.
DIRECTIONS.
1. Take from Table I., columns 3 or 4 (either or both, as the case may
happen to require), the number of hands designated for each kind or
class of gun the vessel may carry, and multiply these figures
respectively by the number of guns of each kind to which they refer.
In this way is to be obtained the aggregate number of hands necessary
to man properly the battery itself. Call the result A.[1]
2. Then, in order to get at the additional number of hands necessary
to man properly the powder division and the divisions of the Master
and Surgeon, which additional number is to be called B, multiply A by
the decimal—
| SAILING VESSELS. |
.25 for a sailing vessel carrying on 3 decks from 74 to 90 guns. |
| .29 for a sailing vessel carrying on 2 decks from 36 to 60 guns. | |
| .34 for a sailing vessel carrying on 1 or 2 decks from 20 to 26 guns. | |
| .36 for a sailing vessel carrying on 1 decks from 16 to 20 guns medium of calibre. | |
| .60 for a sailing vessel carrying on 1 decks from 14 to 18 guns light of calibre. | |
| .34 for a sailing vessel carrying on 1 decks from 9 to 7 guns heaviest of calibre. | |
| .40 for a sailing vessel carrying on 1 decks from 6 to 5 guns heaviest of calibre. | |
| .50 for a sailing vessel carrying on 1 decks from 4 to 3 guns heaviest of calibre. | |
| .70 for a sailing vessel carrying on 1 decks from 2 to 1 guns heaviest of calibre. | |
| STEAMERS. | .25 for a steamer carrying on 2 decks from 36 to 60 guns, with broadside-guns on upper deck lighter than those on the other. |
| .22 for a steamer carrying on 2 decks from 36 to 60 guns, with broadside-guns on upper deck as heavy as those on the other. |
|
| .34 for all other steamers, including iron-clads. | |
In the case of a sailing vessel, about one-third of B will be the[iv]
proportion of hands to be taken for the Master’s division, and the
rest, less those for the Surgeon’s division (which is to be composed
of the surgeon’s steward and the nurses allowed), will be the number
for the powder division.
And, too, in the case of a steamer of any kind, about one-third of B
will also be the proportion of hands to be taken for the Master’s
division; but the rest, less those just mentioned for the Surgeon’s
division, is to be increased by one-third of the number of firemen and
coal-heavers allowed, to constitute the powder division.
It is to be borne in mind that the powder division is always to
command a preference over the master’s, on the score of being
sufficiently manned.
3. Add A and B together, and call their sum C.
4. To ascertain how many of the whole number of C are to be petty
officers, &c., consult Table II.
5. One-sixth part of the whole number of C will give the number of
seamen.
6. One-fourth part of the whole number of C will give the number of
ordinary seamen.
7. One-fortieth part of the whole number of C will give the number of
musicians (exclusive of the master of the band), when musicians are
allowed, which is to be only to ships-of-the-line, frigates, and flag
vessels having a totality of crew amounting to not less than 350
souls.[2]
8. The total number of petty officers, &c., seamen, ordinary seamen,
and musicians, deducted from the whole number of C, will give the
number of landsmen and boys.
9. The number of hands, in addition to the whole number of C, to serve
as firemen and coal-heavers, when these are required, is to be
ascertained by the annexed rule relating to the subject.
10. For the number and grades of officers, consult Table III.
11. For the number and grades of marines, consult Table IV.
12. An admiral of any grade, when appointed as the commander-in-chief
of a fleet or squadron, is authorized to nominate to the Navy
Department an officer not below the grade of a commander to serve as
the head of his staff, or as the captain of the fleet, and to be borne
on the books of the vessel carrying his flag in addition to her
established complement.
13. Every officer appointed to the command of a fleet or squadron is
authorized to nominate to the Navy Department an officer not higher in
grade than a lieutenant, nor lower than an ensign, to serve as his
flag lieutenant, or aid, and to be borne on the books of the vessel
carrying his flag or broad pennant in addition to her established
complement.
14. An admiral of any grade, appointed the commander-in-chief of a
fleet or squadron, is to be allowed two seamen and two ordinary
seamen, to be borne on the books of the vessel carrying his flag in
addition to her established complement.
15. Every other officer appointed to the command of a fleet or
squadron is to be allowed one seaman and two ordinary seamen, to be
borne on the books of the vessel carrying his broad pennant in
addition to her established complement.
16. The number of men in any rating, as above directed, is not to be
exceeded, in any case, without the authority of the Secretary of the
Navy, unless it be to make good deficiencies in superior ratings; and
vessels, in time of peace, when otherwise ready for [v]sea, are not to
be detained on account of deficiencies in their complements, if the
whole number of petty officers and persons of inferior rating be equal
to nine-tenths of the number allowed as their crews.
17. The total number of a crew, as allowed above, is never to be
exceeded without the express direction or sanction of the Secretary of
the Navy.
18. Complements will be designated by the Navy Department for
receiving vessels, practice vessels, apprentice vessels, store and
supply vessels, and for any others intended for special or peculiar
service.
TABLE I.
Showing the Number of Hands (powder-man or boy included) applicable
to various kinds of Guns in use, to serve as a Basis to determine the
Number to compose a Vessel’s Crew, exclusive of Officers, Marines,
Firemen, and Coal-heavers.
| Kind or Class of Gun. | Weight of Gun, in pounds, or cwt., when so expressed. | NOTICES. | Number of Hands for each— | |
| Gun, when a pivot, or used singly. | Gun of both broadsides. | |||
| Col. 1 | Col. 2 | Col. 3 | Col. 4 | |
| XV-inch XI-inch or 150-pounder |
42,000 16,000 to 17,000 |
In turrets of an iron-clad, and on carriage requiring but ten hands for a XV-inch and seven for an XI-inch, powdermen included. |
20 * 14 * |
|
| XI-inch or 150-pounder | 16,000 to 17,000 | Elsewhere than in said turrets. | 25 | 12.5 |
| X-inch or 64-pounder | 12,000 | 21 | 10.5 | |
| IX-inch or 100-pounder | 9,000 to 10,000 | 17 | 8.5 | |
| 60-pounder | 5,000 | 11 | 5.5 | |
| 30-pounder rifle | 3,000 to 4,000 | 9 | 4.5 | |
| 20-pounder rifle | 1,600 to 2,000 | 7 | 3.5 | |
| 8-inch | 63 cwt. | On lower deck of ship-of-the-line. | 17 | 8.5 |
| 8-inch | 63 cwt. | Elsewhere than on said deck. | 15 | 7.5 |
| 8-inch | 56 cwt. or 6,500 lbs. | 13 | 6.5 | |
| 32-pounder | 57 cwt. | On lower deck of ship-of-the-line. | 15 | 7.5 |
| 32-pounder | 57 cwt. | Elsewhere than on said deck. | 13 | 6.5 |
| 32-pounder | 42 cwt. or 4,500 lbs. | 11 | 5.5 | |
| 32-pounder | 33 cwt. | 9 | 4.5 | |
| 32-pounder | 27 cwt. | 7 | 3.5 | |
| 24-pounder howitzer | 1,300 to 1,400 | 7 | 3.5 | |
| 12-pounder howitzer | 700 to 800 | 5 | 2.5 | |
Note *: These numbers, 20 and 14, give, intentionally, double crews.
TABLE II
Allowance of Petty Officers, and also of others NOT Seamen,
Ordinary Seamen, Landsmen, Boys, Firemen, Coal-heavers, nor Musicians,
other than Master of the Band, for Sailing Vessels and Steamers of
every description, including Iron-clads, when the amount of C is—
TABLE III.
Allowance of Officers when the amount of C is—
| GRADES. | Not less than 570 nor more than 760 | Not less than 375 nor more than 570 | Not less than 225 nor more than 375 | Not less than 175 nor more than 225 | Not less than 100 nor more than 175 | Not less than 80 nor more than 100 | Not less than 60 nor more than 80 | Not less than 40 nor more than 60 | Not less than 25 nor more than 40 | Not less than 12 nor more than 25 | ||||||||||
| S.V. means a Sailing Vessel. Stmr. means a Steamer. |
Col. 1 | Col. 2 | Col. 3 | Col. 4 | Col. 5 | Col. 6 | Col. 7 | Col. 8 | Col. 9 | Col. 10 | ||||||||||
| S.V. | Stmr. | S.V. | Stmr. | S.V. | Stmr. | S.V. | Stmr. | S.V. | Stmr. | S.V. | Stmr. | S.V. | Stmr. | S.V. | Stmr. | S.V. | Stmr. | S.V. | Stmr. | |
| Commodore | 1 | .. | 1 | 1 | .. | .. | .. | .. | .. | .. | .. | .. | .. | .. | .. | .. | .. | .. | .. | .. |
| Commodore | 1 | .. | 1 | 1 | .. | .. | .. | .. | .. | .. | .. | .. | .. | .. | .. | .. | .. | .. | .. | .. |
| Captain | .. | .. | .. | .. | 1 | 1 | .. | 1 | .. | 1 | .. | .. | .. | .. | .. | .. | .. | .. | .. | .. |
| Commander | .. | .. | .. | .. | .. | .. | 1 | .. | 1 | .. | .. | 1 | .. | 1 | .. | .. | .. | .. | .. | .. |
| Lieut.-Commander | 1 | .. | 1 | 1 | 1 | 1 | 1 | 1 | 1 | 1 | 1 | .. | 1 | .. | 1 | 1 | 1 | 1 | .. | .. |
| Lieutenant | 2 | .. | 1 | 1 | 1 | 1 | 1 | 1 | 1 | 1 | .. | 1 | .. | 1 | .. | .. | .. | .. | .. | .. |
| Master | 3 | .. | 2 | 2 | 1 | 1 | 1 | 1 | 1 | 1 | 3 | 2 | 2 | 1 | 1 | 1 | 1 | 1 | .. | 1 |
| Ensign | 3 | .. | 2 | 2 | 2 | 2 | 2 | 2 | 2 | 2 | 2 | 2 | 3 | 3 | 4 | 4 | 3 | 3 | 1 | .. |
| Midshipman | 12 | .. | 8 | 8 | 6 | 6 | 4 | 4 | 4 | 4 | 4 | 4 | .. | .. | .. | .. | .. | .. | .. | .. |
| Surgeon | 1 | .. | 1 | 1 | 1 | 1 | 1 | 1 | 1 | 1 | .. | .. | .. | .. | .. | .. | .. | .. | .. | .. |
| Assistant Surgeons | 3 | .. | 2 | 2 | 2 | 2 | 1 | 1 | 1 | 1 | 2 | 2 | 1 | 1 | 1 | 1 | 1 | 1 | .. | .. |
| Paymaster | 1 | .. | 1 | 1 | 1 | 1 | 1 | 1 | 1 | 1 | .. | .. | .. | .. | .. | .. | .. | .. | .. | .. |
| Assistant Paymaster | .. | .. | .. | .. | .. | .. | .. | .. | .. | .. | 1 | 1 | 1 | 1 | 1 | 1 | 1 | 1 | .. | .. |
| Chaplain | One to each Flagship. | |||||||||||||||||||
| Boatswain | 1 | .. | 1 | 1 | 1 | 1 | 1 | 1 | 1 | 1 | 1 | 1 | .. | .. | .. | .. | .. | .. | .. | .. |
| Gunner | 1 | .. | 1 | 1 | 1 | 1 | 1 | 1 | 1 | 1 | 1 | 1 | .. | .. | .. | .. | .. | .. | .. | .. |
| Carpenter | 1 | .. | 1 | 1 | 1 | 1 | 1 | 1 | 1 | 1 | 1 | 1 | .. | .. | .. | .. | .. | .. | .. | .. |
| Sailmaker | 1 | .. | 1 | 1 | 1 | 1 | 1 | 1 | 1 | 1 | .. | .. | .. | .. | .. | .. | .. | .. | .. | .. |
| Chief Engineer | .. | .. | .. | 1 | .. | 1 | .. | 1 | .. | 1 | .. | .. | .. | .. | .. | .. | .. | .. | .. | .. |
| 1st Assistant Engineer | .. | .. | .. | 2 | .. | 2 | .. | 2 | .. | 1 | .. | 2 | .. | 1 | .. | 1 | .. | 1 | .. | .. |
| 2d Assistant Engineer | .. | .. | .. | 2 | .. | 2 | .. | 2 | .. | 2 | .. | 2 | .. | 2 | .. | 2 | .. | 1 | .. | 1 |
| 3d Assistant Engineer | .. | .. | .. | 3 | .. | 2 | .. | 2 | .. | 2 | .. | 2 | .. | 2 | .. | 2 | .. | 2 | .. | 2 |
| Secretary | One for each Commander of a Squadron. | |||||||||||||||||||
| Clerk to Commanding Officer | 1 | .. | 1 | 1 | 1 | 1 | 1 | 1 | 1 | 1 | 1 | 1 | 1 | 1 | 1 | 1 | 1 | 1 | .. | .. |
| Clerk to Paymaster | 1 | .. | 1 | 1 | 1 | 1 | 1 | 1 | .. | .. | .. | .. | .. | .. | .. | .. | .. | .. | .. | .. |
| Master’s Mates | .. | .. | .. | .. | .. | .. | .. | .. | .. | .. | .. | .. | 3 | 3 | 2 | 2 | 2 | 2 | 1 | 1 |
| Total | 33 to 35 | .. | 25 to 27 | 33 to 35 | 22 to 24 | 29 to 31 | 19 | 26 | 18 | 24 | 17 | 23 | 12 | 17 | 11 | 16 | 10 | 14 | 2 | 5 |
| Note.—Iron-clads without Spars are not to be allowed either Boatswains or Sailmakers. | ||||||||||||||||||||
No Paymaster or Assistant Paymaster shall be allowed a clerk in a
vessel having the complement of one hundred and seventy-five
persons or less, excepting in supply steamers and store vessels.
TABLE IV.
Allowance of Marines when the amount of C is—
| GRADES. | Not less than 570 nor more than 760 | Not less than 375 nor more than 570 | Not less than 225 nor more than 375 | Not less than 175 nor more than 225 | Not less than 100 nor more than 175 | Not less than 80 nor more than 100 | Not less than 60 nor more than 80 | Not less than 40 nor more than 60 | ||||||||
| S.V. means a Sailing Vessel. Stmr. means a Steamer. |
Col. 1 | Col. 2 | Col. 3 | Col. 4 | Col. 5 | Col. 6 | Col. 7 | Col. 8 | ||||||||
| S.V. | Stmr. | S.V. | Stmr. | S.V. | Stmr. | S.V. | Stmr. | S.V. | Stmr. | S.V. | Stmr. | S.V. | Stmr. | S.V. | Stmr. | |
| Captain | 1 | 1 | 1 | 1 | .. | .. | .. | .. | .. | .. | .. | .. | .. | .. | .. | .. |
| Lieutenants | 2 | 2 | 1 | 1 | 1 | 1 | 1 | 1 | 1 | 1 | .. | .. | .. | .. | .. | .. |
| Sergeants | 3 | 3 | 3 | 3 | 2 | 2 | 2 | 2 | 2 | 2 | 2 | 2 | 2 | 2 | 1 | 1 |
| Corporals | 4 | 4 | 4 | 4 | 4 | 4 | 3 | 3 | 2 | 2 | 2 | 2 | 2 | 2 | 2 | 2 |
| Drummers | 2 | 2 | 1 | 1 | 1 | 1 | 1 | 1 | 1 | 1 | 1 | 1 | 1 | 1 | .. | .. |
| Pipers | 2 | 2 | 1 | 1 | 1 | 1 | 1 | 1 | 1 | 1 | 1 | 1 | 1 | 1 | .. | .. |
| Privates | 5 | 5 | 40 | 40 | 30 | 30 | 20 | 20 | 16 | 16 | 12 | 12 | 10 | 10 | 8 | 8 |
| Total | 64 | 64 | 51 | 51 | 39 | 39 | 28 | 28 | 23 | 23 | 18 | 18 | 16 | 16 | 11 | 11 |
FOOTNOTES:
[1] Note 1..—Howitzers, when not really essentials of a
battery, but intended rather as appendages to it for boat and field
service, and for particular occasions, than to be used as commonly as
the other guns of the vessel in general exercises, or in an
engagement, are not to be included in applying these directions. The
marines and available hands of the master’s division are to be kept
drilled to them, for the purpose of clearing the deck of an enemy.
[2] Note 2..—If the number of musicians thus derived be even,
one-half of them are to be of the first class, and one-half of the
second class; otherwise, the bare majority are to be of the first
class, and the rest of the second.
APPENDIX B.—No. I.
GRADUATION OF SIGHTS AND MEAN RANGES
OF
UNITED STATES NAVAL SMOOTH-BORE GUNS.
(From Results of Practice, by Admiral DAHLGREN, United States
Navy.)
The graduation commences from the bottom of the head of the bar
resting on the sight-box.
The aim is supposed to be taken at the water-line of a ship.
| 32-Pounder of 27 cwt. | 32-Pounder of 33 cwt. | ||||
| Charge | 4 lbs. | 4 1/2 lbs. | |||
| Axis of bore above load-line | 7 feet. | 7 1/2 feet. | |||
| Distance between sights | Old Model. 29 1/4 inches. |
New Model. 26 3/4 inches. |
31 inches. | ||
| Elevation. | Range. | Graduation. | Graduation. | Range. | Graduation. |
| Degrees. | Yards. | Inches. | Inches. | Yards. | Inches. |
| Level. | 250 | 0.353 | 0.324 | 287 | 0.350 |
| 1° | 545 | 0.746 | 0.684 | 581 | 0.792 |
| 2° | 800 | 1.266 | 1.161 | 857 | 1.343 |
| 3° | 1,047 | 1.801 | 1.652 | 1,140 | 1.909 |
| 4° | 1,278 | 2.337 | 2.144 | 1,398 | 2.478 |
| 5° | 1,469 | 2.870 | 2.633 | 1,598 | 3.044 |
| 6° | 1,637 | 3.398 | 3.116 | … | … |
APPENDIX B.—No. II.
| 32-Pounder of 42 cwt. | 32-Pounder of 57 cwt. | ||||
| Charge | 6 lbs. | 9 lbs. | |||
| Axis of bore above load-line | 7 1/2 feet. | 8 feet. | |||
| Distance between sights | Old Model. 40.5 inches. |
New Model. 37.1 inches. |
42.5 inches. | ||
| Elevation. | Range. | Graduation. | Graduation. | Range. | Graduation. |
| Degrees. | Yards. | Inches. | Inches. | Yards. | Inches. |
| Level. | 313 | 0.446 | 0.408 | 360 | 0.412 |
| 1° | 672 | 1.016 | 0.931 | 760 | 1.042 |
| 2° | 988 | 1.742 | 1.596 | 1,150 | 1.808 |
| 3° | 1,274 | 2.488 | 2.280 | 1,440 | 2.597 |
| 4° | 1,505 | 3.235 | 2.964 | 1,710 | 3.384 |
| 5° | 1,756 | 3.974 | 3.641 | 1,930 | 4.162 |
| 6° | … | … | … | 2,140 | 4.930 |
APPENDIX B.—No. III.
| 8-Inch of 55 Cwt. | 8-Inch of 63 Cwt. | ||||
| Charge | 7 lbs. | 9 lbs. | |||
| Shell | 51 1/2 feet. | 51 1/2 feet. | |||
| Axis of bore above load-line | 7 1/2 feet. | 8 feet. | |||
| Distance between sights | 42.5 inches. | Old Model. 40.5 inches. |
New Model. 37.1 inches. |
||
| Elevation. | Range. | Graduation. | Range. | Graduation. | Graduation. |
| Degrees. | Yards. | Inches. | Inches. | Yards. | Inches. |
| Level. | 313 | 0.446 | 0.408 | 360 | 0.412 |
| 1° | 579 | 0.949 | 660 | 1.100 | 0.964 |
| 2° | 869 | 1.603 | 970 | 1.878 | 1.647 |
| 3° | 1,148 | 2.280 | 1,260 | 2.678 | 2.350 |
| 4° | 1,413 | 2.958 | 1,540 | 3.478 | 3.051 |
| 5° | 1,657 | 3.632 | 1,770 | 4.273 | 3.749 |
| 6° | 1,866 | 4.300 | … | … | … |
APPENDIX B.—No. IV.
| IX-Inch Shell-Gun. | XI-Inch Shell-Gun. | XI-Inch Shell-Gun. | ||||
| Charge | 10 lbs. | 15 lbs. | 15 lbs. | |||
| Shell | 72 lbs. | 135 lbs. | 135 lbs. | |||
| Axis of bore above load-line | 10 feet. | 10 feet. | 20 feet. | |||
| [Screw-sloops.] | [2d deck above water.] | |||||
| Distance between sights | 39 inches. | 48 inches. | 48 inches. | |||
| Elevation. | Range. | Graduation. | Range. | Graduation. | Range. | Graduation. |
| Degrees. | Yards. | Inches. | Yards. | Inches. | Yards. | Inches. |
| Level. | 340 | 0.461 | 306 | 0.600 | 420 | 0.87 |
| … | 700 | 0.983 | 500 | 0.945 | 700 | 1.48 |
| … | 900 | 1.514 | 700 | 1.442 | 900 | 2.01 |
| … | 1,100 | 2.073 | 900 | 2.040 | 1,100 | 2.62 |
| … | 1,300 | 2.646 | 1,100 | 2.651 | 1,300 | 3.25 |
| … | 1,500 | 3.222 | 1,300 | 3.295 | 1,500 | 4.92 |
| … | 1,700 | 3.813 | 1,500 | 3.953 | … | … |
| … | … | … | 1,700 | 4.681 | … | … |
APPENDIX B.—No. V.—Approximate Ranges of Shell-Guns.
| Class of Gun. | Kind of Projectile. | Weight of Projectile. | Charge, lbs. | Height above Plane. | Elevation in Degrees.—Ranges in Yards.—Time of Flight in Seconds. | |||||||||||||||
| P.B. or 0° | 1° | 2° | 3° | 4° | 5° | 6° | 7° | 8° | 9° | 10° | 11° | 12° | 13° | 14° | 15° | |||||
| XV-inch | Cored shot | 400 | … | … | … | … | … | … | … | … | … | … | … | … | … | … | … | … | … | … |
| Shell | 350 | 35 | … | 300 | 620 | 920 | 1,200 | 1,470 | 1,700 | 1,900 | 2,100 | … | … | … | … | … | … | … | … | |
| 1.9 | 3.7 | 4.3 | 5.7 | 6.5 | 7.7 | |||||||||||||||
| XI-inch | Shell | 136 | 15 | 10 | 306 | 631 | 918 | 1,208 | 1,472 | 1,712 | 1,914 | 2,105 | 2,300 | 2,500 | 2,687 | 2,870 | 3,022 | 3,160 | 3,300 | 3,400 |
| .84 | 1.72 | 2.8 | 3.88 | 4.9 | 5.81 | 6.74 | 10.2 | 11.70 | 12.15 | |||||||||||
| Shell | 136 | 15 | 20 | 421 | 679 | 992 | 1,257 | 1,524 | 1,757 | 1,950 | 2,140 | … | … | … | … | … | … | … | … | |
| 1.16 | 1.96 | 3. | 3.94 | 4.99 | 6.04 | |||||||||||||||
| Shell | 136 | 20 | 10 | 410 | 665 | 1,000 | 1,340 | 1,660 | 1,975 | 2,255 | 2,490 | 2,690 | 2,870 | 3,025 | 3,170 | 3,305 | 3,435 | 3,550 | 3,650 | |
| 1.9 | 4.1 | 8.6 | 10.2 | 11.8 | 14. | 16.5 | ||||||||||||||
| Shrapnel | 141 | 15 | 10 | 295 | 620 | 910 | 1,200 | 1,465 | 1,710 | … | … | … | … | … | … | … | … | … | … | |
| .8 | 1.7 | 1.9 | 2.7 | 3.7 | 4.7 | 5.6 | ||||||||||||||
| X-inch | Shell | 103 | 12 1/2 | 11 | 340 | 705 | 970 | 1,230 | 1,490 | 1,740 | 1,960 | 2,210 | 2,430 | 2,640 | 2,840 | 3,000 | … | … | … | … |
| .1 | 2. | 2.9 | 3.9 | 4.9 | 5.8 | 6.7 | 8.5 | 10.1 | ||||||||||||
| Shrapnel | 101 | 12 1/2 | … | … | … | … | … | … | … | … | … | … | … | … | … | … | … | … | … | |
| IX-inch | Shell | 72 1/2 | 10 | 10 3/4 | 332 | 718 | 962 | 1,218 | 1,471 | 1,710 | 1,933 | 2,133 | 2,314 | 2,484 | 2,644 | 2,788 | 2,927 | 3,045 | 3,190 | 3,357 |
| .9 | 1.96 | 3. | 4. | 5.1 | 5.96 | 8. | 8.6 | 11.5 | 12.9 | 13.5 | 14.7 | |||||||||
| Shell | 72 1/2 | 13 | … | 350 | 740 | 980 | 1,275 | 1,520 | 1,750 | 1,980 | 2,200 | 2,395 | 2,580 | 2,750 | 2,910 | 3,055 | 3,190 | 3,320 | 3,450 | |
| .1 | 2.08 | 2.84 | 4.04 | 5.20 | 6.24 | 7.16 | 8.36 | |||||||||||||
| Shrapnel | 75 | 10 | … | 332 | 718 | 960 | 1,215 | 1,470 | 1,690 | … | … | … | … | … | … | … | … | … | … | |
| .8 | 1.9 | 2.9 | 4. | 5. | 5.9 | |||||||||||||||
| 8-Inch, 63-cwt. | Shell | 51 1/2 | 9 | 8 | 330 | 660 | 970 | 1,260 | 1,540 | 1,770 | … | … | … | … | … | … | … | … | … | … |
| .8 | 1.89 | 3.07 | 4.34 | 5.32 | 6.32 | |||||||||||||||
| Shrapnel | 52 | 9 | … | 340 | 670 | 980 | 1,270 | 1,550 | 1,775 | … | … | … | … | … | … | … | … | … | … | |
| .9 | 1.8 | 3. | 4.2 | 5.2 | 6.2 | |||||||||||||||
| 8-Inch, 55-cwt. and of 6,500 lbs | Shell | 51 1/2 | 7 | 7 1/2 | 283 | 579 | 869 | 1,148 | 1,413 | 1,657 | 1,866 | … | 2,315 | … | 2,600 | … | … | … | … | … |
| .8 | 1.7 | 2.9 | 3.75 | 4.78 | 5.82 | 6.90 | ||||||||||||||
| Shrapnel | 52 | 7 | … | 290 | 590 | 880 | 1,160 | 1,420 | 1,660 | … | … | … | … | … | … | … | … | … | … | |
| .8 | 1.6 | 2.8 | 3.9 | 4.9 | 5.8 | |||||||||||||||
APPENDIX B.—No. VI.—Approximate Ranges of Shot-Guns and
Howitzers.
| Class of Gun. | Kind of Projectile. | Weight of Projectile. | Charge | Height above Plane. | Elevation in Degrees.—Ranges in Yards.—Time of Flight in Seconds. | |||||||||||||||
| P.B. or 0° | 1° | 2° | 3° | 4° | 5° | 6° | 7° | 8° | 9° | 10° | 11° | 12° | 13° | 14° | 15° | |||||
| 32-pdr. of 57 cwt. | Shot | 32 | 9 | 8 | 360 | 760 | 1,150 | 1,440 | 1,710 | 1,930 | 2,140 | 2,310 | 2,460 | 2,610 | 2,731 | … | … | … | … | … |
| 1.0 | 2.2 | 3.4 | 4.3 | 5.3 | 6.6 | 7.7 | 10.7 | |||||||||||||
| Shell | 26 | 6 | … | 370 | 780 | 1,090 | 1,360 | 1,620 | 1,850 | … | … | … | … | … | … | … | … | … | … | |
| 1.04 | 2.00 | 3.14 | 4.20 | 5.30 | 6.40 | |||||||||||||||
| Shrapnel | 32 | 9 | … | 360 | 760 | 1,150 | 1.440 | 1,710 | 1,930 | … | … | … | … | 2,619 | … | … | … | … | … | |
| 1.0 | 2.2 | 3.4 | 4.3 | 5.3 | 6.6 | 10.8 | ||||||||||||||
| 32-pdr. of 42 cwt. and of 4,500 lbs. | Shot | 32 | 6 | 7 1/2 | 313 | 672 | 988 | 1,274 | 1,505 | 1,756 | … | … | … | … | … | … | … | … | … | … |
| .90 | 2.0 | 3.0 | 4.0 | 5.0 | 6.0 | |||||||||||||||
| Shell | 26 | 6 | … | 330 | 710 | 1,012 | 1,270 | 1,495 | 1,710 | … | … | … | … | … | … | … | … | … | … | |
| .90 | 1.90 | 3.05 | 4.15 | 5.32 | 6.50 | |||||||||||||||
| Shrapnel | 32 | 6 | … | 313 | 672 | 988 | 1,274 | 1,505 | 1,756 | … | … | … | … | … | … | … | … | … | … | |
| .8 | 1.8 | 2.8 | 3.8 | 4.8 | 5.8 | |||||||||||||||
| 32-pdr. of 33 cwt. | Shot | 32 | 4 1/2 | 7 1/2 | 287 | 581 | 857 | 1,140 | 1,398 | 1,598 | … | … | … | … | … | … | … | … | … | … |
| Shot | 32 | 4 1/2 | 15 1/3 | 366 | 655 | 929 | 1,152 | 1,385 | … | … | … | … | … | … | … | … | … | … | … | |
| 1.1 | 2. | 2.9 | 3.9 | 4.9 | ||||||||||||||||
| Shell | 26 | 4 1/2 | 7 1/2 | 295 | 660 | 952 | 1,205 | 1,435 | 1,648 | … | … | … | … | … | … | … | … | … | … | |
| .90 | 1.85 | 2.85 | 3.85 | 4.90 | 6.00 | |||||||||||||||
| Shrapnel | 32 | 4 1/2 | 7 1/2 | 297 | 581 | 857 | 1,140 | 1,398 | 1,598 | … | … | … | … | … | … | … | … | … | … | |
| 1. | 1.8 | 2.7 | 3.8 | 4.9 | 6. | |||||||||||||||
| 32-pdr. of 27 cwt. | Shot | 32 | 4 | 7 | 250 | 545 | 800 | 1.047 | 1,278 | 1,469 | 1,637 | … | … | … | … | … | … | … | … | … |
| .7 | 1.4 | 2.6 | 3.7 | 4.5 | 5.4 | 6.3 | ||||||||||||||
| Shell | 26 | 4 | … | 320 | 660 | 920 | 1,120 | 1,300 | 1,460 | 1,610 | … | … | … | … | … | … | … | … | … | |
| 1. | 1.95 | 2.90 | 3.85 | 4.80 | 5.75 | 6.7 | ||||||||||||||
| Shrapnel | 32 | 4 | … | 250 | 545 | 800 | 1,047 | 1,278 | 1,469 | 1,637 | … | … | … | … | … | … | … | … | … | |
| .7 | 1.4 | 2.6 | 3.7 | 4.5 | 5.4 | 6.3 | ||||||||||||||
| 24-pdr. howitzer. | Shell | 20 | 2 | 7 | 280 | 590 | 810 | 980 | 1,125 | 1,270 | … | … | … | … | … | … | … | … | … | … |
| .90 | 1.80 | 2.75 | 3.65 | 4.63 | 5.68 | |||||||||||||||
| Shrapnel | 26 | 2 | … | 255 | 555 | 790 | 960 | 1.140 | 1,308 | … | … | … | … | … | … | … | … | … | … | |
| .96 | 1.92 | 2.87 | 3.80 | 4.75 | 5.70 | |||||||||||||||
| 12-pdr. heavy howitzer. | Shell | 10 | 1 | 7 | 270 | 516 | 730 | 875 | 990 | 1,085 | … | … | … | … | … | … | … | … | … | … |
| 1.0 | 1.65 | 2.35 | 3.1 | 3.9 | 4.8 | |||||||||||||||
| Shrapnel | 13 | 1 | … | 250 | 500 | 700 | 870 | 1,015 | 1,150 | … | … | … | … | … | … | … | … | … | … | |
| 1. | 1.9 | 2.8 | 3.7 | 4.6 | 5.4 | |||||||||||||||
APPENDIX B.—No. VII.—Approximate Ranges of Rifle-Guns.
| Class of Gun. | Kind of Projectile. | Weight of Projectile. | Charge, lbs. | Height above Plane. | Elevation in Degrees.—Ranges in Yards.—Time of Flight in Seconds. | |||||||||||||||
| P.B. or 0° | 1° | 2° | 3° | 4° | 5° | 10° | 15° | 20° | 25° | 30° | 35° | |||||||||
| No. 7 | ||||||||||||||||||||
| Parrott—100-pounder | Solid shot | 100 | 10 | … | … | … | … | … | … | 2,200 | 3,810 | 5,030 | 6,125 | 6,910 | … | … | ||||
| 6 1/2 | 13 | 18 1/4 | 22 1/2 | 29 | ||||||||||||||||
| Hollow shot | 80 | 10 | … | … | … | … | … | … | … | … | 5,190 | 6,338 | 7,180 | 7,988 | 8,453 | |||||
| 19 | 23 | 29 1/2 | 32 1/4 | 36 3/4 | ||||||||||||||||
| Long shot | 100 | 10 | … | … | 500 | 920 | 1,400 | 1,700 | 2,150 | 3,700 | 4,790 | 5,830 | 6,820 | … | … | |||||
| 4 1/4 | 5 1/2 | 6 1/2 | 13 | 18 | 21 3/4 | 28 | ||||||||||||||
| Short shot | 80 | 10 | … | … | … | … | … | … | … | … | … | … | … | 7,810 | … | |||||
| 32 1/2 | ||||||||||||||||||||
| Shrapnel | … | … | … | … | … | … | … | … | … | … | … | … | … | … | … | |||||
| Parrott—60-pounder | Shot | 60 | 6 | … | … | … | … | … | … | … | … | … | … | … | … | … | ||||
| Shell | 50 | … | … | … | … | … | … | … | … | … | … | … | … | … | … | |||||
| Shrapnel | … | … | … | … | … | … | … | … | … | … | … | … | … | … | … | |||||
| Parrott—30-pounder | Shot | … | … | … | … | … | … | … | … | … | … | … | … | … | … | … | ||||
| Can. | ||||||||||||||||||||
| Shell | 29 | 3 1/4 | … | … | 660 | 1,100 | 1,500 | 1,860 | 2,200 | 3,500 | 4,800 | 5,700 | 6,700 | … | … | |||||
| 6 7/8 | 12 1/4 | 17 5/8 | 21 1/4 | 27 | ||||||||||||||||
| Shrapnel | … | … | … | … | … | … | … | … | … | … | … | … | … | … | … | |||||
| Parrott—20-pounder | Shot | … | … | … | … | … | … | … | … | … | … | … | … | … | … | … | ||||
| Can. | ||||||||||||||||||||
| Shell | 19 | 2 | … | … | 600 | 1,020 | 1,365 | 1,700 | 2,100 | 3,350 | 4,400 | … | … | … | … | |||||
| Can. | 6 1/2 | 11 1/4 | 17 1/4 | |||||||||||||||||
| Shrapnel | 20 | 2 | … | … | 620 | 950 | … | … | … | … | … | … | … | … | … | |||||
| Can. | 1 7/8 | 3 1/8 | ||||||||||||||||||
| Dahlgren—20-pounder | Shot | … | 2 | … | … | … | … | … | … | … | … | … | … | … | … | … | ||||
| Shell | 20 | 2 | 8 | 370 | 815 | 1,155 | 1,440 | 1,715 | 1,960 | … | … | … | … | … | … | |||||
| 1.4 | 2.4 | 3.4 | 4.5 | 5.5 | 6.5 | |||||||||||||||
| Dahlgren—12-pounder | Can. | |||||||||||||||||||
| Shot | … | 1 | … | … | … | … | … | … | … | … | … | … | … | … | … | |||||
| Shell | 12 | 1 | 8 | 360 | 750 | 1,050 | 1,305 | 1,550 | 1,770 | … | … | … | … | … | … | |||||
| 1.0 | 2.0 | 3.0 | 4.0 | 5.0 | 6.0 | |||||||||||||||
APPENDIX B.—No. VIII.
Table for Finding the Distance of an Object at Sea.[1]
To use the Table, let an observer from the cross-trees measure the
angle between the distant horizon and the enemy’s water-line, and look
into the Table with that angle; opposite to it, in the column marked
distances, will be found the distance of the object in yards.
| Yards. | Height of the Eye above the Level of the Sea, in Feet. | ||||||||
| Distance. | 20 | 30 | 40 | 50 | 60 | 70 | 80 | 90 | 100 |
| ° ‘ | ° ‘ | ° ‘ | ° ‘ | ° ‘ | ° ‘ | ° ‘ | ° ‘ | ° ‘ | |
| 100 | 3.44 | 5.37 | 7.29 | 9.21 | 11.11 | 13.00 | 14.47 | 16.34 | 18.16 |
| 200 | 1.50 | 2.46 | 3.43 | 4.39 | 5.35 | 6.31 | 7.27 | 8.23 | 9.18 |
| 300 | 1.12 | 1.49 | 2.26 | 3.04 | 3.41 | 4.19 | 4.56 | 5.33 | 6.11 |
| 400 | .52 | 1.21 | 1.48 | 2.16 | 2.44 | 3.12 | 3.40 | 4.03 | 4.36 |
| 500 | .41 | 1.03 | 1.25 | 1.48 | 2.10 | 2.32 | 2.54 | 3.17 | 3.39 |
| 600 | .34 | .52 | 1.10 | 1.29 | 1.47 | 2.05 | 2.24 | 2.42 | 3.01 |
| 700 | .28 | .44 | 1.01 | 1.15 | 1.31 | 1.46 | 2.01 | 2.18 | 2.34 |
| 800 | .24 | .38 | .51 | 1.05 | 1.18 | 1.32 | 1.46 | 2.00 | 2.13 |
| 900 | .21 | .33 | .45 | .57 | 1.09 | 1.22 | 1.33 | 1.45 | 1.57 |
| 1000 | .18 | .29 | .40 | .50 | 1.01 | 1.12 | 1.23 | 1.34 | 1.45 |
| 1100 | .16 | .26 | .35 | .45 | .55 | 1.05 | 1.15 | 1.24 | 1.34 |
| 1200 | .15 | .23 | .32 | .41 | .50 | .59 | 1.08 | 1.17 | 1.26 |
| 1300 | .13 | .21 | .29 | .37 | .45 | .53 | 1.02 | 1.10 | 1.18 |
| 1400 | .12 | .19 | .27 | .34 | .41 | .49 | .57 | 1.04 | 1.12 |
| 1500 | .11 | .18 | .24 | .31 | .38 | .45 | .52 | .59 | 1.07 |
| 1600 | .10 | .16 | .22 | .29 | .35 | .42 | .48 | .55 | 1.02 |
| 1700 | .09 | .15 | .21 | .27 | .33 | .39 | .45 | .51 | .58 |
| 1800 | .08 | .14 | .19 | .25 | .31 | .36 | .42 | .48 | .54 |
| 1900 | .08 | .13 | .18 | .23 | .29 | .34 | .39 | .45 | .50 |
| 2000 | .07 | .12 | .17 | .22 | .27 | .32 | .37 | .42 | .47 |
| 2100 | .06 | .11 | .16 | .20 | .25 | .30 | .35 | .40 | .45 |
| 2200 | .06 | .10 | .15 | .19 | .24 | .28 | .33 | .38 | .42 |
| 2300 | .05 | .10 | .14 | .18 | .22 | .27 | .31 | .36 | .40 |
| 2400 | .05 | .09 | .13 | .17 | .21 | .25 | .29 | .34 | .38 |
| 2500 | .05 | .08 | .12 | .16 | .20 | .24 | .28 | .32 | .36 |
No correct use of this Table can be made when the proximity of land
may interfere with the distance of the horizon.
APPENDIX B.—No. IX.
REPORT OF TARGET PRACTICE WITH GREAT GUNS ON BOARD U.S.S.
,
COMMANDING,
MADE THIS
DAY OF
18 , AT
.
ARMAMENT
| Kind of Projectile. | Distance of Target, in Yards. | Calibre of Gun. | Class of Gun. | Charge of Powder. | Number of Fires. | Length of Fuze, in Seconds of Time. | Elevation of Gun, For Yards. | Fall of Projectile. | ||||
| No. of Hits. | Short of Target. | Beyond Target. | Right of Target. | Left of Target. | ||||||||
| Bursting of Shells. | Shells Not Burst. | No. Fires Direct. | No. Fires Ricochet. | N.B.—Each kind of projectile, distance of target (measured or estimated), class of gun, and charge of powder require a separate line across the page. REMARKS. |
|||||
| At or near Proper Time. | Too soon. | How much too soon. | Not at all. | No. Patches of Fuzed returned. | Range sufficient to burn Fuzes. | Range not sufficient to burn Fuzes. | |||
REPORT OF TARGET PRACTICE WITH SMALL-ARMS ON BOARD U.S.S.
,
COMMANDING,
MADE THIS
DAY OF
18 , AT
.
| KIND OF ARM USED. (Each kind requires a separate line.) |
Distance of Target, in Yards. | Size of Target, in Feet (Say 6 by 1 1/2 Feet) | Single Shots with Deliberate Aim | Volleys at Order “Fire” | Whole Shots Fired. | Kind of Ball Used. | Charges of Powder. | |||||
| No. Fired. | No. of Hits. | No. within 6 inches of Centre of Bull’s-Eye. | No. Fired. | No. Shot in each Volley. | No. of Hits. | No. within 6 inches of Centre of Bull’s-Eye. | ||||||
Remarks on each kind of arm used, and the general results of practice;
names of those who made the best average of shots; Officers whose
divisions fired best.
APPENDIX B.—No. X.
It being of great importance to know the endurance of guns in service,
Commanding Officers are directed to fill up the blanks of the annexed
Circular issued by the Bureau of Ordnance, November 5, 1863, as far as
in their power, and forward it to the Bureau at the expiration of
every quarter.
When the “total number of fires to date” cannot be ascertained, the
number since the vessel has been in commission is to be stated.
| NAME OF VESSEL. | STATION. | ||||||||||
| ( | ) | ( | ) | ||||||||
| Class of Gun | Register No. | Foundry | Date of Fabrication | Charge of Powder | Shot | Shell | Shrapnel | Grape | Canister | No. of Fires During Quarter | Total No. of Fires to Date |
, Commander.
, 186.
The object of this circular is to enable the Bureau to know, at all
times, how many rounds have been fired from every gun in the
service; and the following directions are to be observed in making
the quarterly return of firing:
“Class of Gun.”—Under this head give the kind of gun; if rifled,
state it; and if a 32-pounder or 8-inch, give the weight. It is not
necessary to give the position of the gun in the vessel.
“Register No.“—Be careful to give the register number correctly, as
this is most important.
“Foundry,”—Under this head give the initials on the base-ring.
“Date of fabrication” will be found on the right trunnion.
“Charge of powder” in pounds.
“Projectiles” to be entered under their appropriate heads in the
blank.
“Kind of fuze” to be stated.
“Number of fires during quarter,” must be given for each gun
separately.
“Total number of fires to date,” must include all rounds fired from
each gun separately; and each succeeding quarterly report must have
the “total number of fires to date” from the report next preceding (a
copy of which is always to be kept on board the vessel) brought
forward, added to the total for the quarter, and the aggregate placed
in the last column.
The Bureau often receives reports with the last column left blank,
or with “not known” written therein. Reports sent in this way are of
no value whatever to the Bureau.
If a record of the total number of fires of any gun has not been kept,
or if it cannot be ascertained from the Log, then vent-impressions of
such gun are to be taken; and the Commanding Officer must determine,
as nearly as possible, judging from these impressions, the total
number of fires, and enter the same on his return. (See Ordnance
Instructions, Part III.)
The Bureau expects that all Commanding Officers will, in future, have
this return carefully made out; and that they will not sign or
forward one of them without first being satisfied of its correctness.
FOOTNOTES:
[1] By Lieutenant W.P. Buckner, U.S.N. See a pamphlet “On the
Determination of Distances at Sea,” by Captain A.P. Ryder, R.N., for
more extended tables of this and other methods.
APPENDIX C.—No. I.
REPORT OF AN INSPECTION
REPORT OF AN INSPECTION
Of the U.S.
,
Commanding,
made by , this
day of
18 ,
at.
ARMAMENT
[These inspections are required to be made of each vessel—when first
commissioned and before proceeding to sea, chiefly with reference to
the completeness of her equipment and the proper stationing of her
crew; semi-annually during the cruise; and at the end of it, before
being paid off. As a general rule, the first and last inspections are
not to take place alongside of the Navy Yard, but in the stream.]
1. What time has the vessel been in commission, and what
opportunities has she had for exercise and target practice?
2. Date of last inspection?
3. Date of last target practice?
4.
| Hours. | Minutes. | ||
| Gun Divisions. | |||
| Times in which each division reported ready for action. | 1st, commanded by | ||
| 1st, commanded by | |||
| 2nd, commanded by | |||
| 3rd, commanded by | |||
| 4th, commanded by | |||
| 5th, etc. commanded by | |||
| Master’s commanded by | |||
| Powder commanded by | |||
| Engineer commanded by | |||
| Marine commanded by |
5. Were all the divisions properly prepared? If not, state what[xxv]
divisions were found defective, in what particulars, and from
what causes. Include in the answer to this question the
condition of division-boxes, spare implements, and equipments,
and their readiness for use.
6. Are the men well skilled in the exercise of the great guns,
including working both sides at once, and in pointing and firing?
7. Time required to dismount, shift carriage, remount, load, and run
out any broadside-gun selected by the Inspecting Officer. State
its position and weight.
8. Time required to transport a gun from one side to the other, and
back, giving numbers of ports and weight of gun.
9. Time required to shift breechings, trucks, and tackles.
10. Have the prescribed arrangements been correctly made for
supplying the batteries with powder and projectiles; are the men
properly stationed for these purposes, and are they expert in the
performance of these duties? Is the supply ample, and without
confusion of charges?
11. Condition of magazines, shell-rooms, shot-lockers, and lighting
apparatus.
12. Are the men well trained in securing masts and spars, stoppering
rigging, and repairing injuries to the steering apparatus, and in
getting springs on the cables? State the time required to perform
efficiently the most important of these operations; for
instance:
Bowsprit shot away, to secure foremast;
Port main rigging and main stays disabled, to secure mainmast;
To fish a lower mast and yard;
Steering apparatus disabled, what means of repairs or substitutes
prepared.
13. Are the prescribed arrangements for stopping shot-holes
complete, and the men well trained to that duty?
14. Are the arrangements for boarding and repelling boarders
efficient? Note the time required to assemble each division
properly armed. Are the boarders and others well trained in the
use of the single-stick or broadsword?
[xxvi]15. Is the whole crew well trained in the use of small-arms, and
in company and battalion drill? If not, state the reasons
assigned. State also the condition of the armory, small-arms, and
their ammunition.
16. What is the state of the equipment and preparation of boats for
armed service? If defective, in what particulars and for what
assigned reasons?
17. Times from the call “Arm and Away” to the shoving off of each
boat. Time to form a line abreast. Time required for other
evolutions. Time required to land small-arm men, from the signal
or order given when near the shore. Time to land howitzers,
specifying their weights. Time to embark them; to shift from bow
to stern. Time to load properly and fire safely three rounds. Are
the crews expert in these points?
18. Are the arrangements and apparatus for extinguishing fire
efficient? If not, state deficiencies and their causes. Times
required to get the several streams of water to the designated
point; time required for complete readiness.
19. Have the “Ordnance Instructions” been fully complied with in
this ship? State exceptions and reasons assigned, if any.
20. General condition of the vessel in point of armament, carriages,
and other ordnance equipments, and of the crew as to efficiency
for action, stating particular exceptions, if any, and what
remedies have been suggested or applied.
GENERAL ORDER.
Navy Department, April 5, 1861.
Flag Officers are required to hold the semi-annual inspection of each
vessel under their command, according to the foregoing form given in
Appendix C, No. 1, Ordnance Instructions.
Commanding Officers of vessels acting singly will hold the same
general inspection, and in either case, the reports will be forwarded
to the Bureau of Ordnance by the first favorable opportunity after the
inspection has taken place.
GIDEON WELLES,
Secretary of the Navy.
APPENDIX C.—No. II.
FORM OF REPORTS OF TARGET PRACTICE.
QUESTIONS TO BE ANSWERED AT LENGTH IN THE “REMARKS” ON TARGET
PRACTICE,
IN ADDITION TO FILLING THE TABLES. Appendix B.—No. IX.
Was the ship at anchor or under way?
Under what sail?
Water rough or smooth?
Force and direction of wind in reference to line of fire?
Roll of the ship, in degrees by pendulum, during firing?
When “carrying sail” by the wind, does heel of ship cause the weather
or lee guns to “wood” before they are level?
Was target to windward or to leeward?
How was its distance measured?
Append sketch of target, showing its dimensions, mode of construction,
and materials, with the “hits,” and fall of projectiles around it.
The degree of strain on breechings of weather batteries?
Were the chocking-quoins necessary?
Probable causes of the failure of the shells to burst?
Such other remarks as appear important or suggestive of improvement;
such as the best mode of constructing a floating target of 20 by 10
feet (the size used at the Experimental Battery of the Ordnance Yard,
Washington).
APPENDIX D.
TABLES OF ALLOWANCES OF ORDNANCE EQUIPMENTS AND STORES.
Note.—Allowances not proportioned to guns or to ships are
proportioned to the complements of Petty Officers, Seamen, Ordinary
Seamen, Landsmen, and Boys, and must vary with them. The Armaments are
designated by special order of the Bureau of Ordnance.
Note.–Each rifle or smooth-bore howitzer used, in the ship’s battery,
and also as a boat and field gun, shall be furnished with fifty per
cent. addition to the above ammunition.
Tables of Allowances of Ordnance Equipments and Stores
Note *: Fuzes, one-half percussion, one-half time.
Note †: When steel shot are to be furnished, the number will be designated by the Bureau.
Tables of Allowances of Ordnance Equipments and Stores
Tables of Allowances of Ordnance Equipments and Stores
Tables of Allowances of Ordnance Equipments and Stores
Tables of Allowances of Ordnance Equipments and Stores
| BOOKS. | |
| 1. Ordnance Instructions | One to Commander, one to Executive Officer, one to each divisional officer, and one to the Gunner of every ship.* |
| 2. Boat Armament—Dahlgren’s | One to each vessel of 1st, 2d, and 3d rates. |
| 3. Shells And Shell-Guns, do. | One to each vessel of 1st, 2d, and 3d rates. |
| 4. The Naval Howitzer Ashore and Afloat—Parker | Two to each vessel above 4th rate; one to 4th rate. |
| 5. Naval Gunnery—Sir H. Douglas | One to each vessel above 4th rate. |
| 6. Naval Gunnery—Simpson | One to each vessel. |
| 7. Ordnance And Armor—Holley | One to 1st and 2d rates. |
| 8. Experiments On Gunpowder—Mordecai | One to 1st, 2d, and 3d rates. |
| 9. Gunnery Catechism—Brandt | Same allowance as the “Ordnance Instructions,” with the addition of one to each Captain of a gun.* |
| 10. Ordnance Circulars | Same allowance as the “Ordnance Instructions.”* |
| 11. Blank-Books And Returns | One set to each vessel. |
| 12. Table Of Ranges—Buckner | Two to each vessel above 4th rate; one to 4th rate. |
| Note *: All of these books to be receipted for by the persons receiving them, accounted for, and turned over to successor or Inspector of Ordnance. |
|
INDEX.
| A. | PART | PAGE | ARTICLES |
| Absences, | |||
| temporary, of some of a gun’s crew, how supplied | 1 | 48 | 217, 218 |
| Accidents, | |||
| to guns, to be reported in detail | 3 | 35 | 67 |
| Aiming, | |||
| precautions to be observed in | 1 | 78 | 283 |
| by the line of metal, not to be relied on, &c. | 1 | 80 | 297 |
| Air-Ports, | |||
| to be closed and secured in exercise with powder | 1 | 39 | 168 |
| All-Hands, | |||
| the call for, and duties of | 1 | 19, 37 | 92, 161 |
| Allowances, | |||
| for target practice, how to be expended | 1 | 4 | 10 |
| for mortars | 1 | 126 | 503 |
| of ordnance and ordnance stores, not to be exceeded | 3 | 5 | 15, 16 |
| Ammunition, | |||
| allowance of, for target practice; not to be reduced by target practice, or saluting, below 100 broadsides | 1 | 4 | 7 |
| expenditure of, for target practice, directions as to | 1 | 4 | 10 |
| for boats, on armed expeditions | 2 | 7 | 10 |
| fixed, preferable on the score of convenience, &c. | 2 | 24 | 68 |
| fixed, should not be put where barreled powder is | 3 | 49 | 137 |
| a statement of the, to be furnished by the Ordnance Officer, to Commanding Officers of vessels | 3 | 51 | 146 |
| for small arms, dimensions of boxes for | 3 | 55 | 167 |
| Ammunition-Boxes, | |||
| to be preserved, and returned into store | 1 | 10 | 43 |
| Armament, | |||
| defects in, to be remedied or reported | 1 | 4 | 5 |
| quarterly examinations of, to be made, &c. | 1 | 5 | 15 |
| Armorers, | |||
| to accompany landing-parties with their tools | 2 | 26 | 78 |
| Arms, | |||
| of any description, not to be given away | 1 | 6 | 19 |
| for the men at the guns | 1 | 21-24 | 101 |
| of men in the master’s division | 1 | 25 | 101 |
| fire, use of, in the tops, dangerous, &c. | 1 | 25 | 103 |
| for the watch below, to be ready for use in time of war | 1 | 95 | 361 |
| kind of, to be furnished to boarders | 2 | 3 | 4 |
| table of, for boat expeditions | 2 | 4 | 5 |
| pecuniary responsibility for the loss of | 3 | 6 | 17 |
| lost or destroyed in action, to be certified to, &c. | 3 | 6 | 19 |
| Assembling At Quarters,[2] | |||
| the drum beats for | 1 | 36 | 154 |
| in what order the men proceed to their guns | 1 | 36 | 155 |
| without powder, orders to the men | 1 | 36 | 157 |
| with powder, orders to the men | 1 | 37 | 158 |
| the call for boarders | 1 | 37 | 159 |
| the call for pikemen to repel boarders | 1 | 37 | 160 |
| the call for all-hands | 1 | 37 | 161 |
| the call for sail-trimmers | 1 | 37 | 162 |
| the call for firemen | 1 | 37 | 163 |
| at the call for, every person repairs to his station, &c. | 1 | 37 | 166 |
| Assistant Engineers, | |||
| part of the Engineer’s division, when at quarters | 1 | 16 | 75 |
| Artillery, Naval Light, | |||
| remarks on the use of, ashore and in boats | 2 | 21-24 | 44-68 |
| B. | |||
| Balls, | |||
| the piling of; to find the number of | 3 | 41 | 95 |
| the number of, in a triangular pile | 3 | 42 | 96 |
| the number of, in a square pile | 3 | 42 | 97 |
| Batteries, | |||
| to be kept clean and ready for action | 1 | 7 | 24 |
| Battle-axes, | |||
| the number allowed for pivot and other guns | 1 | 21 | 101 |
| Bayonet-Scabbards, | |||
| the materials and sizes of | 3 | 79 | 257 |
| Beaumont, | |||
| his roller handspike adopted for the service | 3 | 75 | 238 |
| Beds For Guns, | |||
| the arrangement of | 1 | 83 | 307 |
| Bells, | |||
| the ringing of, indicative of a case of fire | 1 | 97 | 371 |
| Black-Stain, | |||
| for wood or iron, its composition | 3 | 88 | 271 |
| Boarders, | |||
| of whom to be composed | 1 | 18 | 87-90 |
| to be in two divisions | 1 | 18 | 88 |
| assignment of officers to the divisions of | 1 | 18 | 90 |
| the call for, and duties of | 1 | 37 | 159-165 |
| may be ordered for service without the call | 1 | 37 | 164 |
| swords and pistols to be ready for the use of | 1 | 40 | 179 |
| general directions and orders; when first called away | 1 | 92 | 336 |
| general directions and orders; “prepare to board” | 1 | 92 | 337 |
| general directions and orders; “board the enemy” | 1 | 92 | 338 |
| general directions and orders; “prepare to repel boarders” | 1 | 93 | 339 |
| to be exercised with the single-stick and sword | 1 | 93 | 344 |
| what arms to be supplied with | 2 | 3 | 4 |
| rattles for calling | 3 | 69 | 217 |
| Boarding-Nettings, | |||
| in time of war, to be secured at evening quarters | 1 | 95 | 359 |
| Boats, | |||
| crews of, to be frequently exercised | 1 | 5 | 13 |
| equipment of, when being armed for service | 2 | 3-9 | 1-18 |
| howitzers for, exercises of | 2 | 11-24 | 20-68 |
| armed for service, manœuvres of | 2 | 24 | 69 |
| grapnels for, description and use of | 3 | 70 | 221 |
| harness-casks for, use and size of | 3 | 77 | 248 |
| Boat-Carriages, | |||
| for howitzers, of what they consist | 2 | 10 | 19 |
| Boat-guns, | |||
| tackles not required for 12-pdrs | 2 | 22 | 57 |
| proper charges for | 3 | 54 | 164 |
| Boatswains,[3] | |||
| in action, their stations and duties | 1 | 15 | 69 |
| duties of, at general quarters | 1 | 28 | 118 |
| Bombs, | |||
| for mortars, 100 to be kept always ready filled | 1 | 120 | 468 |
| to estimate distance by the bursting of | 1 | 120 | 471 |
| filling, directions concerning | 1 | 122 | 492, 493 |
| Bormann Fuzes, | |||
| the description and use of | 1 | 90 | 328 |
| for shrapnell or shell, a description of, &c. | 2 | 23 | 66 |
| the danger of cutting them improperly | 3 | 45 | 112 |
| Boys, | |||
| distribution of, when at quarters | 1 | 17 | 81 |
| Breechings, | |||
| for all guns, materials, sizes, &c., of | 3 | 66 | 208 |
| Bristle-sponges, | |||
| sizes and description of | 3 | 73 | 231 |
| Broadside-Guns, | |||
| equipments and implements for | 1 | 33 | 148 |
| stations and gun-numbers of crews of | 1 | 35 | 152 |
| exercises at, directions as to | 1 | 39, 40 | 169-179 |
| may be advantageously fired once in 75 seconds | 1 | 41 | 182 |
| manual exercise of, on one side; orders for, &c. | 1 | 46-54 | 204-229 |
| shifting positions of the crews of | 1 | 56 | 233 |
| firing them when partially run in | 1 | 57 | 234 |
| changing sides, or manning one side only | 1 | 57 | 235 |
| exercise of, on both sides at once | 1 | 58 | 236 |
| firing alternately, inferior to manning alternate guns with full crews | 1 | 58 | 237 |
| quick firing of, directions as to | 1 | 58 | 238, 239 |
| shifting breechings of, in action | 1 | 59 | 240 |
| position of the bolts for carriages of | 3 | 66 | 207 |
| C. | |||
| Cables, | |||
| in time of war, to be kept ready for slipping | 1 | 95 | 357 |
| Callipers, | |||
| for examining guns, description and use of | 3 | 14, 19 | 28, 29 |
| Canister, | |||
| in action, the proper use of | 1 | 76 | 274 |
| in action, the proper use of, for boat-howitzers | 2 | 23 | 65 |
| dimensions, weight, &c., of | 3 | 40 | 93 |
| Captains. See Commanding Officers. | |||
| Captains Of Guns, | |||
| the selection and examination of | 1 | 18 | 84 |
| stations and numbers of, for broadside guns | 1 | 35 | 152 |
| duties of, when preparing for exercise at broadside guns | 1 | 40 | 170 |
| duties of, when exercising broadside guns on one side | 1 | 47-54 | 206-229 |
| duties of, when housing lower-deck guns | 1 | 54 | 230 |
| duties of, when shifting breechings in action | 1 | 59 | 240 |
| stations, &c., of, for pivot guns | 1 | 62 | 243 |
| duties of, when the vents are obstructed | 1 | 74 | 259 |
| duties of, when the locks or primers fail | 1 | 77 | 279 |
| duties of, in pointing the guns | 1 | 74-78 | 281-308 |
| duties of, in preparing howitzers for boats | 2 | 11 | 20 |
| duties of, in aiming and firing boat-howitzers | 2 | 15 | 26 |
| duties of, in disembarking howitzers | 2 | 17, 18 | 31-35 |
| waist belts for, materials and sizes | 3 | 77 | 249 |
| Carbines, | |||
| crews to be exercised in the use of | 1 | 5 | 12 |
| how to be stamped | 3 | 79 | 258 |
| Carcasses, | |||
| for mortars, description and use of | 1 | 121 | 475, 476 |
| Carpenters, [4] | |||
| general and special duties of | 1 | 12 | 57-60 |
| duties of, in preparing for action, &c. | 1 | 12 | 57 |
| duties of, in guarding against fire | 1 | 12 | 58 |
| duties of, in repairing injuries from shot | 1 | 12 | 59 |
| directions to, for finding the position of shot holes, &c. | 1 | 12 | 60 |
| duties of, at general quarters | 1 | 30 | 130-136 |
| Carpenter’s Mates, | |||
| the stations of, when at quarters | 1 | 15 | 70 |
| Carriages. See Gun-Carriages. | |||
| Cascabels, | |||
| of boat-howitzers, a description of | 2 | 10 | 19 |
| Cascabel-Blocks, | |||
| for examining guns, description and use of | 3 | 14, 20 | 28, 29 |
| Cartridges, | |||
| metallic, how to be kept and stowed | 1 | 10 | 41 |
| passing them from the magazines | 1 | 41 | 181-183 |
| when to be put in the passing-boxes | 1 | 44 | 195-179 |
| when filled for issue, directions as to | 3 | 51 | 147, 148 |
| for small-arms, the quantity of powder for each | 3 | 55 | 166 |
| Cartridge-Boxes, | |||
| materials, description and sizes of | 3 | 78, 79 | 254, 255 |
| Cement, | |||
| the composition of | 3 | 88 | 271 |
| Chaplains, | |||
| their stations when at quarters | 1 | 15 | 73 |
| Charges, | |||
| distinguishing marks of, for all classes of guns | 1 | 19 | 39 |
| for Parrott-shells | 1 | 101 | 385 |
| for mortars, directions as to | 1 | 119 | 461, 462 |
| for 13-inch, mortar-bombs | 1 | 124 | 500 |
| for proving shot and shell guns | 3 | 22 | 31 |
| of powder, for spherical shells | 3 | 44 | 105 |
| for smooth-bore guns, service | 3 | 53 | 160 |
| for rifled guns, service | 3 | 54 | 161 |
| for boat and field howitzers, service | 3 | 54 | 164 |
| old cylinders may be used for saluting | 3 | 59 | 185 |
| Chief Engineers. See Engineers-chief. | |||
| Cleaning, | |||
| small-arms, directions as to | 3 | 80-82 | 262-269 |
| Clerks, | |||
| their stations when at quarters | 1 | 16 | 76 |
| Coal-heavers, | |||
| when at quarters, part of the Engineer’s division | 1 | 16 | 75 |
| Cocks, | |||
| for magazines, the proper mode of their construction | 3 | 62 | 199 |
| Cockswains, | |||
| duties of, in preparing for boat expeditions | 2 | 11 | 20 |
| Commanding Officers, | |||
| to require all ordnance instructions to be duly enforced and obeyed by all under them, &c. | 1 | 3 | 1 |
| duties of, as to exercising crews when first received on board, and subsequently | 1 | 3 | 2 |
| exercising their crews at night | 1 | 3 | 3 |
| to ascertain by firing one round, whether all the gun equipments are complete, &c. | 1 | 4 | 4 |
| duties of, when defects or deficiencies exist in the armament or equipments | 1 | 4 | 5 |
| when to order surveys on ordnance stores | 1 | 4 | 6 |
| directions to, in expenditures for target practice | 1 | 4 | 7, 10 |
| to accustom the men to the use of loaded shells | 1 | 4 | 8 |
| to have duly preserved the relative proportions of the respective charges of powder on hand | 1 | 4 | 9 |
| when practising at the guns in port, directions | 1 | 5 | 11 |
| to exercise their crews in the use of small-arms | 1 | 5 | 12[5] |
| to exercise boats’ crews in the use of howitzers, &c. | 1 | 5 | 13 |
| to forward quarterly reports of all firing | 1 | 5 | 14 |
| to make quarterly examinations of the armament | 1 | 5 | 15 |
| special attention required as to condition of fuzes | 1 | 5 | 16 |
| precautions to be taken when filling shells, &c. | 1 | 5 | 17 |
| never to have the guns unfit for instant use, unless | 1 | 6 | 18 |
| not to give away arms of any description | 1 | 6 | 19 |
| to keep the keys of the ordnance store-rooms in the cabin | 1 | 6 | 20 |
| entering friendly ports, gun charges to be drawn, &c. | 1 | 6 | 21 |
| not to allow friction matches on board | 1 | 6 | 22 |
| their stations when in action | 1 | 14 | 65 |
| to designate the hatchways to be used by boarders | 1 | 25 | 102 |
| alone to permit the use of fire-arms in the tops | 1 | 25 | 103 |
| their duties at general quarters | 1 | 26 | 104-107 |
| to understand thoroughly the use of fuzes | 1 | 90 | 330 |
| to report the efficiency of all fuzes fired, &c. | 1 | 90 | 331 |
| of small vessels, lying in rivers in time of war, duties of | 1 | 95, 96 | 359-368 |
| duties of, in case of fire | 1 | 97-100 | 370-383 |
| to understand the construction of Parrott projectiles | 1 | 102 | 390 |
| to forward reports on rifle projectiles | 1 | 102 | 392 |
| to refer to the Allowance Tables, before making requisitions for ordnance or ordnance stores | 3 | 5 | 16 |
| to certify as to arms lost or destroyed in action | 3 | 6 | 19 |
| to sign Ordnance Ledgers before leaving the Navy Yard | 3 | 7 | 20 |
| before sailing, to be furnished with a descriptive list of their batteries | 3 | 32 | 58 |
| before sailing, to be furnished with impressions of the vents of their guns | 3 | 33 | 60 |
| to report in detail the action of all fuzes | 3 | 47 | 126 |
| before sailing, to be furnished with a statement of the powder, small-arms, projectiles, &c., put on board | 3 | 51 | 146 |
| Commands. See Words Of Command. | |||
| Compressormen, | |||
| for pivot-guns, their stations and numbers | 1 | 62 | 243 |
| Compositions, | |||
| Plantou’s | 3 | 85 | 271 |
| Brainard’s | 3 | 88 | 271 |
| for lining rifle shells | 3 | 89 | 271 |
| Concussion-Fuzes, | |||
| none reliable yet for spherical shells | 1 | 90 | 329 |
| Condemnations, | |||
| of guns or small-arms, not allowed, except | 3 | 31 | 51 |
| Cone-Picks, | |||
| materials and description of | 3 | 79 | 256 |
| Contractors, | |||
| to be enjoined to secrecy in regard to guns, &c. | 3 | 4 | 9 |
| Cooking-Utensils, | |||
| for boats on armed expeditions | 2 | 7 | 14 |
| Coopering, | |||
| never to be done in magazines | 1 | 10 | 44 |
| Correspondence, | |||
| routine of, between ordnance officers and the Bureau | 3 | 7 | 22-24 |
| Crews, | |||
| the stationing and exercising of | 1 | 3 | 2 |
| to be exercised in the use of small-arms | 1 | 5 | 12 |
| to be instructed in their duties by division officers | 1 | 8 | 31 |
| distribution of, for each class of guns | 1 | 16 | 78-81 |
| qualifications of, to be known, prior to assignment, &c. | 1 | 17 | 83 |
| of pivot and other guns, distribution and arms of | 1 | 21 | 101 |
| of broadside guns, stations and gun-numbers of | 1 | 35 | 152 |
| when assembled at quarters for inspection | 1 | 36 | 156 |
| exercising at broadside-guns | 1 | 39 | 169[6] |
| temporary absences at exercises, how supplied | 1 | 48 | 217, 218 |
| respective duties of, when exercising broadside-guns | 1 | 49 | 219-229 |
| of guns, directions as to shifting places of | 1 | 56 | 233 |
| of guns, directions as to changing sides, or manning one side only | 1 | 57 | 235 |
| instructions to be given to, for quick firing | 1 | 58 | 238, 239 |
| of pivot-guns, stations and gun-numbers of | 1 | 62 | 243 |
| of the guns of monitors, the duties of | 1 | 109-112 | 421-435 |
| of mortars, with their titles, &c. | 1 | 113 | 444 |
| of boat-howitzers, with their stations and duties | 2 | 13 | 21 |
| Cutlasses, | |||
| how to be stamped | 3 | 79 | 258 |
| Cylinders, | |||
| white alone to be used in future | 1 | 9 | 39 |
| materials, sizes and marks of | 3 | 57 | 181 |
| the making of, and patterns for | 3 | 58 | 182-184 |
| for saluting charges | 3 | 58 | 185 |
| preservation of, from moths | 3 | 59 | 187 |
| D. | |||
| Dahlgren Rifled-Cannon, | |||
| denominations, weights, charges, &c., of. | 1 | 101 | 384 |
| prerequisites to the proper use of, &c. | 1 | 102 | 392 |
| cutting the screw-holes for | 3 | 27 | 38 |
| size of vents in | 3 | 34 | 64 |
| Descriptive-lists, | |||
| of guns, form of, &c. | 3 | 33 | 58 |
| Dies, | |||
| for marking guns, description of, &c. | 3 | 17 | 28 |
| Distances of Objects at Sea, | |||
| how to be determined | 1 | 81, 82 | 301-305 |
| how to be determined when using mortars | 1 | 121 | 480-483 |
| Distinguishing-Flags, | |||
| to be supplied to each division of boats, when | 2 | 26 | 81 |
| yellow, to indicate the boat with medical officers | 2 | 26 | 83 |
| Divisions, | |||
| of Officers and guns on each deck | 1 | 14 | 67, 68 |
| Masters’, station and duties of, when at quarters, &c. | 1 | 15 | 69 |
| Powder, station and duties of, when at quarters, &c. | 1 | 15 | 70 |
| Marines, station and duties of, when at quarters, &c. | 1 | 15 | 71 |
| Surgeons’, station and duties of, when at quarters, &c. | 1 | 15 | 72 |
| Engineers’, station and duties of, when at quarters, &c. | 1 | 15 | 75 |
| Masters’, distribution of small-arms for | 1 | 25 | 101 |
| Masters’, duties of, in battle | 1 | 27 | 111 |
| Engineers’, duties of, in battle | 1 | 28 | 119 |
| Powder, duties of, in battle | 1 | 28-31 | 120-137 |
| Surgeons’, duties of, in battle | 1 | 31 | 138, 139 |
| of guns, duties of Officers Commanding, in action | 1 | 31-33 | 140-151 |
| Shell and Powder, in Monitors, the duties of | 1 | 112 | 436-443 |
| Dresses. See Magazine Dresses. | |||
| Drift, | |||
| in rifle-guns, always to the right, &c. | 1 | 105 | 406, 407 |
| Drills, | |||
| company and battalion, recommended | 1 | 5 | 12 |
| for howitzers in the field, the proper kind of | 2 | 21 | 46-49 |
| Drums, | |||
| the beats on, for assembling at Quarters | 1 | 36 | 154 |
| [7] | |||
| E. | |||
| Elevating-Screws, | |||
| description, use of, &c. | 1 | 83 | 307 |
| for rifle-guns, description and use of | 1 | 105 | 408 |
| Engineers-Chief, | |||
| duties of, in relation to tools and implements | 1 | 9 | 35 |
| to be in charge of their divisions when at quarters | 1 | 16 | 75 |
| duties of, when at general quarters | 1 | 28 | 119 |
| duties of, in cases of fire on board a ship | 1 | 99 | 381 |
| Ensigns, | |||
| stations and duties of, when at quarters | 1 | 16 | 76 |
| Equipments, | |||
| one round to be fired to ascertain the completeness of | 1 | 4 | 4 |
| when deficiencies exist in, duty of Commanding Officers | 1 | 4 | 5 |
| to be kept dry, and salt water not to be used in cleaning | 1 | 11 | 48 |
| for broadside-guns | 1 | 33 | 148 |
| for pivot-guns | 1 | 61 | 242 |
| for mortars | 1 | 114 | 445 |
| of Captains of Guns | 3 | 77 | 249 |
| Estimates, | |||
| for ordnance materials, to be made by Ordnance Officers | 3 | 3 | 2 |
| Evolutions, | |||
| of howitzers in the field, directions as to | 2 | 21 | 47 |
| Examinations, | |||
| of guns, directions as to making | 3 | 32-35 | 57-67 |
| Executive Officers, | |||
| duties of, in receiving, stowing, and using ordnance stores | 1 | 6 | 23 |
| duties of, in connection with the batteries, magazines, small-arms, &c. | 1 | 7 | 24 |
| to arrange for the stowage of all spare articles, and to have the shot and shells ready for action | 1 | 7 | 25 |
| duties of, when salutes are to be fired | 1 | 7 | 28 |
| to have cots ready for lowering the wounded | 1 | 7 | 28 |
| to inspect the magazines, before receiving powder | 1 | 7 | 27 |
| the stations of, in battle | 1 | 14 | 66 |
| to lead the boarders | 1 | 18 | 90 |
| duties of, when at general quarters | 1 | 27 | 108 |
| to understand perfectly the use, &c., of fuzes | 1 | 90 | 330 |
| to understand perfectly the use of Parrott projectiles | 1 | 102 | 390 |
| to certify as to arms lost or destroyed in action | 3 | 6 | 19 |
| to sign the Ordnance Ledgers of vessels returning home | 3 | 6 | 20 |
| Exercises, | |||
| short and spirited preferable; indulgences recommended for those who excel in | 1 | 3 | 2 |
| of crews, in the use of small-arms | 1 | 5 | 12 |
| of crews, at general quarters, without powder | 1 | 38 | 167 |
| of crews, at general quarters, with powder | 1 | 39 | 168 |
| of crews, at broadside-guns | 1 | 39 | 169 |
| of broadside-guns on one side only | 1 | 46-54 | 203-229 |
| general remarks on the manual | 1 | 55-57 | 231-235 |
| of broadside-guns, on both sides at once | 1 | 58 | 236 |
| of pivot-guns, with orders and mode of executing | 1 | 63-73 | 244-254 |
| of pivot-guns, notes upon | 1 | 74-88 | 256-313 |
| for alarms of fire on board ship | 1 | 99 | 383 |
| for boat-howitzers | 2 | 11 | 20 |
| for boat-howitzers, stations, &c., of the men | 2 | 13 | 21 |
| for boat-howitzers, orders and mode of executing | 2 | 14-18 | 22-36 |
| for howitzers on field-carriages, stations of the crews, orders and mode of manoeuvring | 2 | 19, 20 | 37-43 |
| [8] | |||
| F. | |||
| Field-Carriages, | |||
| for howitzers, of what they consist | 2 | 10 | 19 |
| moderating the recoil of, on smooth ground | 2 | 22 | 60 |
| Filling, | |||
| shells, directions as to | 3 | 44 | 108, 109 |
| cartridges, directions as to | 3 | 51 | 147 |
| Fires, | |||
| to be put out, when preparing for action | 1 | 39 | 168 |
| alarm of, given when the men are not at quarters | 1 | 97 | 371 |
| taking place when at anchor in port | 1 | 98 | 374 |
| Firing, | |||
| of one round directed, to see that the gun equipments are complete, &c. | 1 | 4 | 4 |
| charges for “distant,” “ordinary,” and “near,” the relative proportions of, to be preserved, &c. | 1 | 4 | 9 |
| for target practice, directions as to | 1 | 4 | 10, 11 |
| quarterly reports of, to be prepared and forwarded | 1 | 5 | 14 |
| salutes, directions as to | 1 | 7 | 26 |
| quick, or with 2 shot, to be determined by the Commanding Officers, &c. | 1 | 26 | 107 |
| two loaded shells together, disapproved | 1 | 76 | 269 |
| grape-hot, the proper occasions for | 1 | 76 | 271 |
| canister, the proper occasions for | 1 | 76 | 274 |
| shrapnell, the proper occasions for | 1 | 76 | 275 |
| at boats, within point blank range | 1 | 80 | 294 |
| at sea, general directions as to | 1 | 84 | 310-313 |
| at will, directions as to | 1 | 85 | 314 |
| in succession, directions as to | 1 | 85 | 315 |
| quick, directions as to | 1 | 85 | 316 |
| direct, directions as to | 1 | 85 | 317 |
| ricochet, directions as to | 1 | 85 | 318 |
| concentration of, directions as to | 1 | 86-88 | 319-323 |
| solid shot from rifled guns | 1 | 103 | 398 |
| mortars against the wind, precautions required | 1 | 119 | 465 |
| boat-howitzers point blank, breech sights not required | 2 | 16 | 27 |
| amount of, for each vent, directions upon | 3 | 33 | 61 |
| Firemen, | |||
| part of the Engineer Division when at quarters | 1 | 16 | 75 |
| at quarters, the selection and duties of | 1 | 19 | 95 |
| the call for, to repair to the spar-deck, and duties of | 1 | 37 | 163-165 |
| duties of, in preparing for the use of broadside-guns | 1 | 40 | 176 |
| Fire-Bills, | |||
| to be prepared as soon as crews are on board | 1 | 3, 97 | 2, 370 |
| Fire-Buckets, | |||
| materials of, &c. | 3 | 76 | 244 |
| Fire-Tubs, | |||
| materials of, &c. | 3 | 76 | 243 |
| Fireworks, | |||
| how and where to be stowed | 1 | 10 | 42 |
| a list of, to be furnished Commanding Officers | 3 | 51 | 146 |
| boxes for, their exterior dimensions, &c. | 3 | 55 | 167 |
| Flags, | |||
| distinguishing, each division of boats to have | 2 | 26 | 81 |
| yellow, to indicate the boats with Medical Officers | 2 | 26 | 83 |
| red, to indicate the handling of powder | 3 | 52 | 157 |
| Flash-pans, | |||
| description and use of | 3 | 70 | 219 |
| Friction-Matches. See Matches, Friction. | |||
| Fuzes, | |||
| special attention to be paid to the condition of, &c. | 1 | 5 | 16 |
| not to be shifted nor shortened, except | 1 | 5 | 17 |
| the times of, to be governed by Commanding Officers | 1 | 26 | 106 |
| construction and composition of | 1 | 89 | 324 |
| Fuzes,[9] | |||
| construction of, not to be explained to foreigners, &c. | 1 | 89 | 325 |
| times of burning, and use of | 1 | 89 | 326 |
| shortening, manner of doing it | 1 | 89 | 327 |
| Bormann, description and use of | 1 | 90 | 328 |
| percussion, nor concussion, none yet for spherical shells | 1 | 90 | 329 |
| times and lengths of, see Appendix B | 1 | 90 | 332 |
| percussion, how to obtain the best effects from | 1 | 90 | 333 |
| time, not reliable in rifle-guns | 1 | 91 | 334 |
| percussion, and time, when to be used on rifle-guns | 1 | 104 | 399-402 |
| for mortars, description and use of | 1 | 122 | 486-491 |
| examination of, directions as to | 3 | 45 | 113, 114 |
| proportions of, for the different times of | 3 | 46 | 121 |
| of 5″ times, to be ready for spherical shells, if required for immediate use, &c. | 3 | 46 | 122 |
| the different kinds of, to be separately and distinctly packed and marked | 3 | 47 | 125 |
| Fuze-Wrenches, | |||
| description and use of | 3 | 77 | 246 |
| G. | |||
| Gauges, | |||
| for shot and shell of rifled cannon | 1 | 101 | 386 |
| cylinder, for examining guns, description and use of | 3 | 8, 18 | 28, 29 |
| chamber, for examining guns, description and use of | 3 | 9, 18 | 28, 29 |
| star, for examining guns, description and use of | 3 | 9, 18 | 28, 29 |
| trunnion, for examining guns, description and use of | 3 | 14, 19 | 28, 29 |
| vent, for examining guns, description and use of | 3 | 15, 18 | 28, 29 |
| for inspection of shot and shell, with their uses | 3 | 36 | 70-74 |
| for shot and shell | 3 | 39 | 88-90 |
| General-Quarters, | |||
| Mondays to be set apart for, unless | 1 | 3 | 2 |
| calls for assembling at | 1 | 36, 37 | 154-166 |
| preparations for exercises at, without powder | 1 | 38 | 167 |
| preparations for exercises at, with powder | 1 | 39 | 168 |
| Grape-Shot, | |||
| the proper occasions for the use of | 1 | 76 | 271-273 |
| dimensions, weight, &c., of | 3 | 40 | 92 |
| Grapnels, | |||
| for boats, description and use of | 3 | 70 | 221 |
| Gravimetric Density, | |||
| of powder, what it is and ought to be | 3 | 48 | 132 |
| Gravity, Specific, | |||
| of powder | 3 | 48 | 133 |
| Griolet-Purchase, | |||
| the use of | 1 | 129 | 507, 508 |
| a detailed description of | 3 | 68 | 213 |
| Grommets, | |||
| over elongated projectiles, prohibited | 1 | 103 | 396 |
| Grommet-Muzzle-Lashings, | |||
| the description and use of | 3 | 76 | 245 |
| Guns, | |||
| not to be dismounted, nor struck below, unless, &c. | 1 | 6 | 18 |
| charges of, to be drawn, on entering friendly ports | 1 | 6 | 21 |
| to be examined by Division Officers | 1 | 8 | 32 |
| when about to be struck below, or prepared for transportation, directions as to | 1 | 10 | 46 |
| to be kept dry; salt water not to be used in cleaning | 1 | 11 | 48 |
| when ordered to be drawn, precautions to be taken | 1 | 11 | 52 |
| numbering and arrangement of, on each deck | 1 | 14 | 67 |
| distribution of crews, for each class of | 1 | 16 | 78-80 |
| crews of, their qualifications to be ascertained, prior to assignment to | 1 | 17 | 83 |
| the selection and examination of Captains of | 1 | 18 | 84[10] |
| distribution of crews and arms for the | 1 | 21 | 101 |
| elevation of, to be directed by Commanding Officers | 1 | 26 | 106 |
| not to be kept loaded longer than necessary | 1 | 46 | 203 |
| housing lower deck, how to be done | 1 | 54 | 230 |
| broadside, exercises of, objects to be attained | 1 | 55 | 231, 232 |
| broadside, crews of, directions as to shifting places | 1 | 56 | 233 |
| broadside, the firing of, when partially run in | 1 | 57 | 234 |
| fighting both sides at once, directions as to | 1 | 58 | 236 |
| when all are to be manned | 1 | 58 | 237 |
| quick firing of, directions as to | 1 | 58 | 238 |
| pivot, words of command, and mode of execution | 1 | 63-72 | 244-254 |
| pivot, moving them from one end of the vessel to the other | 1 | 72 | 255 |
| not to be loaded with two shells, nor two shots, except | 1 | 75 | 268 |
| loading with shells, great attention required | 1 | 76 | 270 |
| elevating or depressing them, directions as to | 1 | 78 | 287 |
| elevating screws for, directions for their use, &c. | 1 | 83 | 307, 308 |
| training of, general directions upon | 1 | 88 | 321, 322 |
| to be kept ready for use, in time of war | 1 | 94 | 346-358 |
| loading with maximum charges, &c., in time of war | 1 | 96 | 369 |
| rifled, must be kept free from sand, dirt, &c. | 1 | 103 | 395 |
| rifled, description of the sights of | 1 | 104 | 404 |
| getting them in on covered decks, how to be done | 1 | 128 | 504 |
| taking them in over all, how to be done | 1 | 129 | 505 |
| getting them out through ports, how to be done | 1 | 129 | 506 |
| mounting or dismounting them on covered decks, with the Griolet-purchase | 1 | 129 | 507, 508 |
| throwing them overboard, mode of execution | 1 | 131 | 509 |
| secrecy in the manufacture of, strictly required | 3 | 4 | 8-11 |
| inspection and proof of, directions as to | 3 | 8-21 | 26-30 |
| proof charges for shot and shell | 3 | 22 | 31 |
| water-proof of | 3 | 23 | 32 |
| marking them, directions as to | 3 | 23 | 33 |
| trial, extreme proof of, directions as to | 3 | 24-26 | 34-36 |
| Dahlgren, cutting the screw-holes of the | 3 | 27 | 38 |
| sights of, the manner of adjusting | 3 | 27-29 | 39, 40 |
| preservation of, their stowage, &c. | 3 | 30-32 | 41-58 |
| shot and shell, how to be denominated | 3 | 30 | 47 |
| condemnations of, not allowed, except | 3 | 31 | 51 |
| when about to be put on board ship | 3 | 31 | 52-55 |
| when shipped for transportation only | 3 | 31 | 56 |
| of all vessels returning from cruises to be carefully examined, &c. | 3 | 32 | 57 |
| descriptive lists of, forms for, &c. | 3 | 33 | 58 |
| to be frequently examined for cracks or defects | 3 | 34 | 61 |
| Dahlgren, the sizes of vents in | 3 | 34 | 64 |
| all accidents to, to be reported in detail | 3 | 35 | 67 |
| smooth-bore, service charges for | 3 | 53 | 160 |
| rifled, service charges for | 3 | 54 | 161 |
| cylinders for, directions as to making, &c. | 3 | 57, 58 | 181-185 |
| breechings for, their materials and sizes | 3 | 66 | 208 |
| Guns-Broadside. See Broadside-Guns. | |||
| Gun-Carriages, | |||
| implements, and names of the parts of common truck | 1 | 45 | 202 |
| names of the parts of, peculiar to the Marsilly | 1 | 45 | 202 |
| directions as to shifting trucks | 1 | 60 | 241 |
| the construction of, directions concerning | 3 | 65 | 207 |
| Gun-Gear, | |||
| with directions as to breechings, falls, blocks, &c. | 3 | 66, 67 | 208-212 |
| Gunners, | |||
| general and special duties of | 1 | 9-12 | 36-56 |
| to attend personally to receive ordnance stores | 1 | 9 | 36[11] |
| to stow and arrange the powder tanks | 1 | 9 | 37 |
| duties of, when guns are to be struck below, &c. | 1 | 10 | 46 |
| to report twice a day on articles in their charge | 1 | 10 | 47 |
| to keep the guns and equipments as dry as possible | 1 | 11 | 48 |
| discovering articles injured, to ask in writing for a survey | 1 | 11 | 49 |
| duties of, when magazines or shell-rooms are opened | 1 | 11 | 50 |
| duties of, when opening powder-tanks | 1 | 11 | 51 |
| duties of, when guns are ordered to be drawn | 1 | 11 | 52 |
| duties of, when salutes are being fired | 1 | 11 | 53 |
| sick or absent, their duties to be performed by a Gunner’s Mate | 1 | 11 | 54 |
| to keep minute books of all expenditures, &c., and render quarterly returns thereof | 1 | 11 | 55 |
| duties of, when vessels return from cruises | 1 | 12 | 56 |
| stations of, at quarters | 1 | 15 | 70 |
| duties of, at general quarters | 1 | 29 | 123 |
| to understand perfectly all about fuzes | 1 | 90 | 330 |
| to receive all ordnance stores except the ammunition | 3 | 5 | 17 |
| responsible for all deficiencies in ordnance stores, &c. | 3 | 6 | 19, 20 |
| duties of, when supplying ships with shells | 3 | 45 | 110 |
| duties of, when powder is sent on board ships | 3 | 51 | 156 |
| Gunners’ Mates, | |||
| when to perform the duties of the Gunners | 1 | 11 | 54 |
| the stations of, at quarters | 1 | 15, 17 | 70, 82 |
| Gunners-Quarter. See Quarter-Gunners. | |||
| Guns-Pivot. See Pivot-Guns. | |||
| Gunpowder. See Powder. | |||
| Guns-Rifled. See Rifled-Cannon. | |||
| Gun-Slings, | |||
| description and use of | 3 | 71 | 224 |
| H. | |||
| Handspikes, | |||
| ordinary, materials, sizes, &c., of | 3 | 74 | 237 |
| roller, materials, sizes, &c., of | 3 | 75 | 238 |
| Handspike-men, | |||
| the selection and requirements of | 1 | 18 | 84 |
| for broadside-guns, stations and numbers of | 1 | 35 | 152 |
| duties of, in preparing for exercise of broadside-guns | 1 | 40 | 174 |
| duties of, when exercising broadside-guns, on one side only | 1 | 48 | 214 |
| duties of, when housing lower deck guns | 1 | 54 | 230 |
| Harness-Casks, | |||
| for boats, use and size of | 3 | 77 | 248 |
| Hatchways, | |||
| arrangements of, for the wounded | 1 | 44 | 201 |
| Howitzers, | |||
| boats’ crews to be exercised in the use of, &c. | 1 | 5 | 13 |
| Borrman fuzes are fitted for the 12 and 24 pdrs. | 1 | 90 | 328 |
| the use of, in repelling boarders | 1 | 90 | 342 |
| the number, &c., of, for boats, assigned by Bureau | 2 | 3 | 1 |
| fixtures, &c., for, in boat expeditions | 2 | 4-9 | 6-18 |
| exercise and manœuvre of boat | 2 | 10-24 | 19-68 |
| getting them ready for boat expeditions | 2 | 11 | 20 |
| stations and duties of men for boat | 2 | 11 | 21 |
| closing the vents of | 2 | 15 | 27 |
| pivoting them, manner of doing | 2 | 16 | 28, 29 |
| shifting them, how to be done | 2 | 16 | 30 |
| disembarkation of, commands and execution | 2 | 17, 18 | 31-35 |
| embarkation of, commands and execution | 2 | 18 | 36 |
| on field-carriages, the exercises of, commands, &c. | 2 | 19-21 | 37-43 |
| [12]remarks on the use of, ashore and in boats | 2 | 21-24 | 44-68 |
| rifled 12-pdrs., the advantages of | 2 | 23 | 67 |
| landing them for exercise or service | 2 | 25-27 | 69-88 |
| service charges for | 3 | 54 | 164 |
| boat, dimensions of boxes for the ammunition of | 3 | 55 | 165 |
| Hydraulic Pump, | |||
| for proving guns, a description of | 3 | 17 | 28 |
| I. | |||
| Implements, | |||
| for broadside-guns | 1 | 33 | 148 |
| for common truck and Marsilly carriages | 1 | 45 | 202 |
| for pivot-guns, with their places | 1 | 61 | 242 |
| for mortars | 1 | 114 | 445 |
| for boats, when landed for service | 2 | 26 | 81 |
| for extreme proof of trial guns | 3 | 24 | 35 |
| Impression-Takers, | |||
| what guns to be provided with, and their use | 3 | 75 | 239 |
| Inspection, | |||
| of naval guns, directions as to | 3 | 8-21 | 26-30 |
| of shot and shell, directions as to | 3 | 36-38 | 68-87 |
| of cylinders, directions as to | 3 | 59 | 186 |
| Inspecting-Instruments, | |||
| for examining and proving guns, names and description of | 3 | 8-17 | 28 |
| for examining and proving guns, the use of | 3 | 18-21 | 28, 29 |
| for measuring the interior position of vents | 3 | 12-18 | 28, 29 |
| for examining shot and shell, with the use of, &c. | 3 | 36, 37 | 70-78 |
| Invoices, | |||
| of all ordnance stores, to be duly given and taken | 3 | 7 | 20 |
| K. | |||
| Keys, | |||
| of ordnance store-rooms, &c., where to be kept | 1 | 6 | 20 |
| L. | |||
| Lacquers, | |||
| for iron ordnance, composition of | 3 | 84 | 271 |
| for small-arms, or water-proof paper | 3 | 86 | 271 |
| for bright iron work | 3 | 86 | 271 |
| Ladles, | |||
| to be made according to patterns, and not used for drawing rifle-projectiles | 3 | 74 | 235 |
| Lamps, | |||
| for magazines, the proper arrangement, &c., of | 3 | 63 | 200 |
| Landing, | |||
| crews for exercise or service, directions as to | 2 | 25-27 | 69-88 |
| Landsmen, | |||
| distribution of, when at quarters | 1 | 17 | 81 |
| Lanterns, | |||
| dark, description of | 3 | 70 | 220 |
| Levermen, | |||
| stations and numbers of, for pivot-guns | 1 | 62 | 243 |
| Lights, | |||
| precautions as to use of, in time of war | 1 | 94 | 345 |
| Loaders, | |||
| the selection and requirements of | 1 | 18 | 84 |
| for broadside-guns, stations and numbers of | 1 | 35 | 152 |
| duties of, when preparing for exercise at the broadside-guns | 1 | 40 | 172 |
| duties of, at the manual exercise of the broadside-guns, on one side only | 1 | 47-53 | 208-229 |
| duties of, when housing lower-deck guns | 1 | 54 | 230 |
| [13]duties of, when firing quick | 1 | 59 | 238, 239 |
| duties of, when shifting breechings in action | 1 | 59 | 240 |
| for pivot-guns, stations, &c., of | 1 | 62 | 243 |
| to keep within the ports, as much as possible | 1 | 74 | 260 |
| Log-book, | |||
| the time required for complete preparation for action, &c., to be duly noted in the | 1 | 3 | 3 |
| M. | |||
| Magazines, | |||
| to be carefully cleaned, &c., before receiving powder, | 1 | 7 | 28 |
| coopering never to be done in the | 1 | 10 | 44 |
| when opened, precautions to be taken against fire | 1 | 11 | 50 |
| passing powder from, directions as to | 1 | 41-43 | 181-189 |
| for mortars, directions concerning | 1 | 119, 120 | 457-470 |
| on shore, the inspection and stowage of powder in | 3 | 49 | 136-139 |
| on shore, directions as to keeping them dry, &c. | 3 | 50 | 141, 142 |
| the proper construction of on board ship | 3 | 60-62 | 188-198 |
| the proper arrangement of the cocks for | 3 | 62 | 199 |
| the proper mode of lighting | 3 | 63 | 200 |
| the proper mode of stowing | 3 | 63 | 201 |
| how to ascertain the dryness of | 3 | 64 | 205 |
| the proper ventilation of | 3 | 64 | 206 |
| Magazine-Dresses, | |||
| the materials of | 3 | 69 | 216 |
| Magazine-Screws, | |||
| the use and description of | 3 | 69 | 215 |
| Manœuvres, | |||
| for boat-howitzers | 2 | 10-24 | 19-68 |
| Manual Exercises, | |||
| of broadside-guns, on one side only | 1 | 46-54 | 203-229 |
| general remarks on | 1 | 55-57 | 231-235 |
| of broadside-guns, on both sides at once | 1 | 58-60 | 236-240 |
| of pivot-guns with commands, &c. | 1 | 61-73 | 242-255 |
| notes and suggestions upon the | 1 | 74-88 | 256-323 |
| of monitors, with words of command, &c. | 1 | 109-112 | 420-435 |
| of mortars, with words of command, &c. | 1 | 115-118 | 446-456 |
| Marines, | |||
| their stations when at quarters | 1 | 15 | 71 |
| their stations for repelling boarders | 1 | 93 | 339 |
| landing them for exercise or service | 2 | 25-28 | 69-88 |
| Marking, | |||
| guns, directions as to | 3 | 23 | 33 |
| small-arms, directions as to | 3 | 79 | 258 |
| Marsilly-Gun-Carriages, | |||
| names of parts peculiar to | 1 | 45 | 202 |
| shifting trucks of, directions as to | 1 | 60 | 241 |
| Masters, | |||
| to have all articles in their divisions ready for use, &c. | 1 | 9 | 34 |
| divisions, where stationed in action | 1 | 15 | 69 |
| divisions, distribution of small-arms for | 1 | 25 | 101 |
| duties of, at general quarters | 1 | 27 | 111-118 |
| duties of, in cases of fire on board ship | 1 | 99 | 380 |
| Masters-at-Arms, | |||
| duties of, at general quarters | 1 | 31 | 137 |
| Mates, | |||
| stations and duties of, when at quarters | 1 | 16 | 76 |
| Matches—Friction | |||
| not allowed on board ship | 1 | 6 | 22 |
| Measuring-Staff, | |||
| for examining guns, description and use of | 3 | 8, 18 | 28, 29 |
| [14]Medical-Officers, | |||
| stations of, when at quarters | 1 | 15 | 72 |
| Midshipmen, | |||
| stations in action, when Aids to Commanding Officers | 1 | 14 | 66 |
| stations in action, when not Aids to Commanding Officers | 1 | 16 | 76 |
| Mirrors, | |||
| for proving guns, description and use of | 3 | 8, 18 | 28, 29 |
| Mondays, | |||
| to be set apart for general quarters, unless | 1 | 3 | 2 |
| Monitors, | |||
| description of the turrets, &c., of | 1 | 108 | 415-418 |
| manual exercise of | 1 | 109-112 | 420-435 |
| shell and powder divisions of, their duties | 1 | 112 | 436-443 |
| Mortars, | |||
| titles of the crews of | 1 | 113 | 444 |
| implements and equipments of | 1 | 114 | 445 |
| exercise of, with words of command, and execution | 1 | 115-118 | 446-456 |
| magazines and shell-rooms for, description, &c., of | 1 | 119, 120 | 457-470 |
| when fired against the wind, precautions required | 1 | 119 | 465 |
| rules and observations upon the use of | 1 | 120, 121 | 471-479 |
| loading, directions as to | 1 | 122 | 484, 485 |
| fuzes for, description and use of | 1 | 122 | 486-491 |
| filling bombs for | 1 | 122 | 492, 493 |
| pointing, directions as to | 1 | 123 | 494-499 |
| charges for 13-inch | 1 | 124 | 500 |
| ranges for 13-inch | 1 | 124, 125 | 501, 502 |
| allowances of implements, &c., for | 1 | 126 | 503 |
| trunnion-sights for, description and use of | 3 | 71 | 225 |
| Moths, | |||
| preservation of cartridge-bags from | 3 | 59 | 187 |
| Muskets, | |||
| crews to be exercised in the use of | 1 | 5 | 12 |
| number allowed for each pivot and other gun | 1 | 21 | 101 |
| missing fire, precautions to be used against | 2 | 25 | 76 |
| quantity of powder for the cartridges of | 3 | 55 | 166 |
| how to be stamped | 3 | 79 | 258 |
| how to be cleaned | 3 | 80-82 | 262-269 |
| Musketeers, | |||
| of whom composed, and their duties | 1 | 20 | 98 |
| N. | |||
| Nomenclature, | |||
| of common truck and Marsilly carriages | 1 | 45 | 202 |
| of the parts of the turrets of monitors | 1 | 108 | 415 |
| of boat-howitzers | 2 | 10 | 19 |
| Nitre, | |||
| of condemned powder, can be made use of | 3 | 51 | 151 |
| O. | |||
| Officers, | |||
| the stations, &c., of, at quarters—the Captain | 1 | 14 | 65 |
| the stations, &c., of, at quarters—the Executive Officer | 1 | 14 | 66 |
| the stations, &c., of, at quarters—Midshipmen as Aids | 1 | 14 | 66 |
| the stations, &c., of, at quarters—Signal Officer | 1 | 14 | 66 |
| the stations, &c., of, at quarters—Division Officers | 1 | 14 | 67, 68 |
| the stations, &c., of, at quarters—Master | 1 | 15 | 69 |
| the stations, &c., of, at quarters—Boatswain | 1 | 15 | 69 |
| the stations, &c., of, at quarters—Powder-division | 1 | 15 | 70 |
| the stations, &c., of, at quarters—Marine-division | 1 | 15 | 71 |
| [15]the stations, &c., of, at quarters—Surgeon’s-division | 1 | 15 | 72 |
| the stations, &c., of, at quarters—Chaplain | 1 | 15 | 73 |
| the stations, &c., of, at quarters—Paymaster | 1 | 16 | 74 |
| the stations, &c., of, at quarters—Engineer’s-division. | 1 | 16 | 75 |
| the stations, &c., of, at quarters—Miscellaneous | 1 | 16 | 76 |
| assignment of, to the divisions of boarders | 1 | 18 | 90 |
| in charge of powder-divisions, the duties of | 1 | 28-31 | 120-137 |
| in charge of gun-divisions, the duties of | 1 | 31-33 | 140-151 |
| of the watch, their duties in time of war, &c. | 1 | 94 | 347-352 |
| of boats armed for service, the duties | 2 | 3 | 2 |
| duties of, in preparing the boat-howitzers | 2 | 11 | 20 |
| Officers-in-charge-of-Divisions, | |||
| to be thoroughly conversant with the exercise, management, &c., of the guns | 1 | 8 | 29 |
| to inspect thoroughly, when called to quarters | 1 | 8 | 30 |
| to instruct their men fully in their duties | 1 | 8 | 31 |
| to examine weekly, &c., their guns and attachments | 1 | 8 | 32 |
| the stations of, at quarters | 1 | 14 | 67, 68 |
| to teach the men how to point the guns | 1 | 78 | 283 |
| duties of, in case of fire on board ship | 1 | 98 | 376, 377 |
| Officers-of-Powder-Divisions, | |||
| to instruct their men fully in all their duties, &c. | 1 | 8 | 33 |
| duties of, in case of fire on board ship | 1 | 98 | 378, 379 |
| Officers, Petty. See Petty-Officers. | |||
| Oils, | |||
| linseed, weight of a gallon of | 3 | 83 | 271 |
| sperm, weight of a gallon of | 3 | 83 | 271 |
| neat’s-foot, weight of a gallon of | 3 | 83 | 271 |
| Olive-Paste, | |||
| the composition of | 3 | 87 | 271 |
| Ordinary Seamen, | |||
| distribution of, when at quarters | 1 | 17 | 81 |
| Ordnance-Instructions, | |||
| obedience to, required from all on board ship | 1 | 3 | 1 |
| Ordnance-Ledgers, | |||
| to be signed by the Executive Officer, or Gunner, and the Commanding Officer | 3 | 6 | 20 |
| Ordnance-Officers, | |||
| to explain the use, &c., of fuzes | 1 | 90 | 330 |
| duties of; to have charge of all ordnance and ordnance stores, at Navy Yards, &c. | 3 | 3-7 | 1-25 |
| enjoined to secrecy, in relation to the mode of manufacturing guns, &c. | 3 | 4 | 8-11 |
| to give no official opinions to inventors, or others | 3 | 4 | 10 |
| to furnish ordnance and ordnance stores, in accordance with the allowance tables, except | 3 | 5 | 16 |
| pecuniarily responsible for the loss of ordnance stores, &c. | 3 | 6 | 17 |
| routine, &c., of their correspondence with the Bureau | 3 | 7 | 22-24 |
| to make fortnightly examinations of all guns, &c., under their charge | 3 | 31 | 49 |
| duties of, when guns are to be placed on board ship | 3 | 31 | 52-55 |
| duties of, when guns are to be shipped for transportation | 3 | 31 | 56 |
| to examine carefully all the guns of vessels returning from cruises | 3 | 32 | 57 |
| to furnish Commanding Officers of vessels with descriptive lists of their batteries | 3 | 32 | 58 |
| to furnish Commanding Officers of vessels with impressions of the vents of their guns | 3 | 33 | 60 |
| duties of, when supplying ships with shells | 3 | 45 | 110 |
| to examine the shell-houses, and the condition of the shells, every fortnight | 3 | 46 | 119 |
| to inspect the powder-houses every week, &c. | 3 | 49 | 136 |
| [16]duties of, when powder is to be sent on board ship | 3 | 51 | 146 |
| reports to be made by, when supplying or receiving powder | 3 | 51 | 152 |
| instructions to, as to marking small-arms | 3 | 79 | 258 |
| Ordnance-Stores, | |||
| surveys on, when to be ordered | 1 | 4 | 6 |
| the receiving, stowing, and expenditure of, to be attended to by Executive Officers | 1 | 6 | 23 |
| at Navy Yards, to be in charge of Ordnance Officers | 3 | 3 | 2, 3 |
| the delivery of, to the Gunner, and his responsibility | 3 | 5 | 17 |
| when landed from ships, directions as to | 3 | 6 | 18 |
| P. | |||
| Packing-Boxes, | |||
| to be preserved, duly accounted for, &c. | 3 | 71 | 223 |
| Paints, | |||
| white, the composition of | 3 | 83 | 271 |
| lead-color, the composition of | 3 | 84 | 271 |
| black, the composition of | 3 | 84 | 271 |
| for tarpaulins, the composition of | 3 | 84 | 271 |
| Brainard’s, the composition of | 3 | 84 | 271 |
| Paper-Parchment, | |||
| how to make it, and its use | 3 | 88 | 271 |
| Parrott-Rifled-Cannon, | |||
| denominations, weights, charges, &c., of | 1 | 101 | 384 |
| the full charge for; the 150-pdrs. withdrawn from service | 1 | 102 | 387 |
| Parrott-Shells, | |||
| time-fuzes for, the most certain of ignition, &c. | 1 | 91 | 334 |
| charges for | 1 | 101 | 385 |
| size of boxes containing | 1 | 107 | 411 |
| Passing-Boxes, | |||
| in time of war, to have charges ready for passing up at once | 1 | 9 | 38 |
| putting cartridges from the magazine into, &c. | 1 | 44 | 195 |
| color and size of lettering on | 1 | 44 | 196, 197 |
| empty, the handling of, when returned by the shoots | 1 | 44 | 198 |
| empty, fire-tubs with water, to be placed for | 1 | 44 | 199 |
| materials, sizes, &c., of | 3 | 76 | 240 |
| how to be painted | 3 | 76 | 241, 242 |
| Passing-Scuttles. See Powder-Scuttles. | |||
| Paymasters, | |||
| the stations of, when at quarters | 1 | 16 | 74 |
| Percussion-Caps, | |||
| the proper stowage of | 1 | 10 | 41 |
| for small arms, will be furnished from Washington | 3 | 55 | 168 |
| Percussion-Fuzes, | |||
| none reliable as yet for spherical shells | 1 | 90 | 329 |
| how to obtain the best effects from | 1 | 90 | 333 |
| when to be used in rifled guns | 1 | 104 | 399 |
| Petty-Officers, | |||
| distribution of, when at quarters | 1 | 16 | 77-81 |
| Picket-Boats, | |||
| to be kept out in direction of the enemy | 1 | 96 | 364 |
| Pikemen, | |||
| of whom to be composed, with the duties of | 1 | 19 | 91, 92 |
| to be covered by Marines with fixed bayonets | 1 | 19 | 94 |
| the calls for and duties of | 1 | 37 | 160, 165 |
| the stations of, when repelling boarders | 1 | 93 | 339-341 |
| to be exercised with the single-stick and sword | 1 | 93 | 344 |
| [17]Pikes-Boarding, | |||
| to be near each gun on covered decks | 1 | 19 | 93 |
| number allowed for each pivot, and other gun | 1 | 21 | 101 |
| Piling, | |||
| of balls, to ascertain the number of, &c. | 3 | 41, 42 | 95-97 |
| Pistol-Frogs, | |||
| materials and description of | 3 | 78 | 252 |
| Pistols, | |||
| crews to be exercised in the use of | 1 | 5 | 12 |
| number allowed for each pivot, and other gun | 1 | 21 | 101 |
| to be kept ready for the use of the boarders | 1 | 40 | 179 |
| quantity of powder in the cartridges for | 3 | 55 | 166 |
| how to be stamped | 3 | 79 | 258 |
| Pivot-Guns, | |||
| when practicable, each to be in charge of an Officer of the division, &c. | 1 | 14 | 68 |
| to have full gun’s-crews | 1 | 17 | 80 |
| distribution and arms for crews of | 1 | 21 | 101 |
| equipments and implements belonging to | 1 | 61 | 242 |
| stations, and gun-numbers of crews of | 1 | 62 | 243 |
| exercises of, with commands, and the mode of their execution | 1 | 63-72 | 244-254 |
| moving them from one end of the vessel to the other | 1 | 72 | 255 |
| the trunnion-sights of, with their use | 1 | 81 | 299 |
| the trunnion-sights of, a description of | 3 | 71 | 225 |
| to be supplied with tangent-sights | 3 | 71 | 226 |
| Plantou’s Compositions, | |||
| for preserving iron or wood | 3 | 85 | 271 |
| Point-blank-range, | |||
| what it signifies, &c. | 1 | 80 | 291 |
| Porter’s-Scabbard, | |||
| a description of | 3 | 78 | 250 |
| Port-Fires, | |||
| not to be used when firing salutes | 1 | 7 | 26 |
| Powder, | |||
| “saluting,” to be used when firing salutes | 1 | 7 | 26 |
| charges of, how to be distinguished | 1 | 9 | 39 |
| loose, never to be carried on board ship | 1 | 10 | 40 |
| the delivery and distribution of, at quarters | 1 | 41-43 | 180-189 |
| proper kind of, for rifled cannon | 1 | 102 | 389 |
| proof, for shot and shell guns | 3 | 22 | 31 |
| charges of, for spherical shells | 3 | 44 | 105 |
| classifications of | 3 | 48 | 130, 131 |
| size of the grains of, and initial velocities, &c. | 3 | 48 | 130, 131 |
| gravimetric density of | 3 | 48 | 132 |
| specific gravity of | 3 | 48 | 133 |
| for small-arms, size of | 3 | 49 | 134 |
| differences in the Army and Navy granulations of | 3 | 49 | 135 |
| stowage, &c., of, in powder-houses, &c., directions as to | 3 | 49, 50 | 136-145 |
| a statement of, to be furnished to Commanding Officers of vessels, before sailing, &c. | 3 | 51 | 146 |
| filling cartridges with, directions as to | 3 | 51 | 147 |
| when returned from ships, directions as to | 3 | 51 | 149, 150 |
| condemned, never to be thrown overboard, &c. | 3 | 51 | 151 |
| samples of, to be forwarded by Ordnance Officers, &c. | 3 | 52 | 152 |
| for saluting, may be purchased abroad, when | 3 | 52 | 153 |
| may be transferred to vessels remaining on a foreign station, by those returning, &c. | 3 | 52 | 154 |
| when to be used, though not regularly inspected, &c. | 3 | 52 | 155 |
| putting it on board ship, directions as to | 3 | 52 | 156 |
| when received or landed, the red flag to be hoisted | 3 | 52 | 157 |
| moving it from or to vessels, precautions required | 3 | 52 | 158, 159 |
| quantity of, for cartridges for small-arms | 3 | 55 | 166 |
| [18]Powder-Barrels, | |||
| directions as to stowage of | 3 | 49 | 137-139 |
| should be turned once in three months, &c. | 3 | 50 | 145 |
| Powder-Divisions, | |||
| stations of, when in action | 1 | 15 | 70 |
| duties of, at general quarters | 1 | 28-31 | 120-137 |
| on board monitors, their duties | 1 | 112 | 436, 443 |
| Powder-Houses, | |||
| to be inspected once a week, &c. | 3 | 49 | 136-139 |
| directions as to keeping them dry, &c. | 3 | 50 | 141, 142 |
| Powder-Men, | |||
| duties of, in preparing for the use of broadside-guns | 1 | 40 | 175 |
| duties of, at the manual exercise of broadside-guns, on one side only | 1 | 48 | 215 |
| stations, &c., of, for pivot-guns | 1 | 62 | 243 |
| Powder-Scuttles, | |||
| careful men to be selected for attending | 1 | 18 | 85 |
| directions as to use of, in passing cartridges | 1 | 41 | 181-189 |
| position of, on each deck | 1 | 43 | 190-192 |
| to be provided with water-tight tompions | 1 | 43 | 191 |
| flap-holes in magazine screens to be provided for | 1 | 43 | 193 |
| when guns of the same calibre on different decks may be supplied from the same | 1 | 43 | 194 |
| Powder-Tanks, | |||
| stowage and arrangement of, by Gunners | 1 | 9 | 37 |
| distinguishing colors and marks of | 1 | 9 | 39 |
| when opened, precautions required | 1 | 11 | 51 |
| tables of capacities, sizes, &c., of | 3 | 54 | 162, 163 |
| Precautions, | |||
| in time of war, general instructions as to | 1 | 94-96 | 345-369 |
| to be observed, in the use of rifled-guns | 1 | 105-107 | 410 |
| to be observed, in the use of small-arms | 3 | 82 | 270 |
| Primers, | |||
| the proper stowage of | 1 | 10 | 41 |
| for cannon, directions as to management of | 1 | 77 | 276-280 |
| for cannon, description, use, and preservation of, with their boxes, &c. | 3 | 56 | 172-180 |
| Primer-Boxes, | |||
| materials, and description of | 3 | 78 | 251 |
| Profile-Boards, | |||
| for examining guns, description and use of | 3 | 13, 19 | 28, 29 |
| Projectiles, | |||
| for Parrott-guns, a peculiar kind, &c. | 1 | 102 | 390 |
| for rifled-cannon, are shells, shrapnel, and solid shot | 1 | 102 | 391 |
| rifled, the bases of, to be thickly greased, &c. | 1 | 102 | 392 |
| rifled, uniformity in size of, requisite, &c. | 1 | 103 | 396 |
| care required in placing them in the guns | 1 | 103 | 397 |
| Parrott’s, size of boxes containing | 1 | 107 | 411 |
| Hotchkiss’s, size of boxes containing | 1 | 107 | 412 |
| Schenkl’s, size of boxes containing | 1 | 107 | 413 |
| Dahlgren’s, size of boxes containing | 1 | 107 | 414 |
| Proof, | |||
| of naval-guns directions as to | 3 | 8-21 | 26-30 |
| of shot and shell-guns, charges for | 3 | 22 | 31 |
| extreme, of trial-guns | 3 | 24-26 | 34-36 |
| Provisions, | |||
| for boats, on armed expeditions | 2 | 7 | 13 |
| Pumpmen, | |||
| the selection of, &c. | 1 | 20 | 99 |
| when to be in two divisions | 1 | 20 | 100 |
| to be at their stations, when preparing for action, &c. | 1 | 39 | 168 |
| Putty, | |||
| the composition of | 3 | 83 | 271 |
| Q. | |||
| [19]Quarter-Gunners, | |||
| the stations of, at quarters | 1 | 17 | 82 |
| implements for, when exercising without powder | 1 | 39 | 167 |
| duties of, in preparing for using broadside-guns | 1 | 40 | 178 |
| duties of, in case of fire on board ship | 1 | 98 | 377 |
| duties of, in preparing howitzers for boats | 2 | 11 | 20 |
| duties of, in disembarking howitzers | 2 | 17 | 31 |
| Quoins For Guns, | |||
| the arrangement of | 1 | 83 | 307 |
| R. | |||
| Rammers, | |||
| materials, sizes, &c., of | 3 | 72 | 227 |
| Ranges, | |||
| for shot-guns, how and when marked | 1 | 79 | 290 |
| point-blank, firing at | 1 | 80 | 294 |
| for shell-guns, how marked | 1 | 80 | 294 |
| for 13-inch mortars | 1 | 124, 125 | 501, 502 |
| exceeding 1400 yards, kind of fuzes for, &c. | 3 | 47 | 124 |
| Rattles, | |||
| use and description of | 3 | 69 | 217 |
| Receipts, | |||
| for all ordnance materials, to be duly given and taken | 3 | 7 | 20 |
| Reports, | |||
| quarterly, of all firing, to be forwarded | 1 | 5 | 14 |
| quarterly, of the condition of the armament, &c., to be prepared and forwarded | 1 | 5 | 15 |
| twice a day, to be made by Gunners, nature of | 1 | 10 | 47 |
| to be made of the expenditures of ordnance materials | 3 | 4 | 6 |
| in detail, to be prepared and forwarded, of all accidents to guns | 3 | 35 | 67 |
| to be forwarded of the action, &c., of all fuzes | 3 | 47 | 126 |
| to be forwarded by Ordnance Officers, when issuing or receiving powder | 3 | 51 | 152 |
| Requisitions, | |||
| for ordnance materials, to be made by Ordnance Officers | 3 | 3 | 2 |
| Responsibility, | |||
| of Officers, for loss of ordnance stores | 3 | 6 | 19, 20 |
| Returns, | |||
| quarterly, of receipts and issues of ordnance, to be forwarded by Commanding Officers | 1 | 5 | 14 |
| quarterly, to be rendered by Gunners | 1 | 11 | 55 |
| Revolvers, | |||
| number of, allowed for each pivot and other gun | 1 | 21-24 | 101 |
| quantity of powder in the cartridges for | 3 | 55 | 166 |
| how to be stamped | 3 | 79 | 258 |
| Rewards, | |||
| recommended to those excelling in ordnance exercises | 1 | 3 | 2 |
| Rifled-Cannon, | |||
| the breech-sights in the side of, with their use, &c. | 1 | 81 | 300 |
| time-fuzes very unreliable for | 1 | 91 | 334 |
| denominations, &c., of the Parrott and Dahlgren | 1 | 101 | 384 |
| the bores and grooves of, to be carefully cleaned, &c. | 1 | 102 | 392 |
| the shells in, must be close home on the powder | 1 | 103 | 393, 394 |
| must be kept free from sand, dust, &c. | 1 | 103 | 395 |
| projectiles for, to be uniform in size | 1 | 103 | 396 |
| vents of, how to replace old ones | 1 | 104 | 403 |
| sights of, description and use of | 1 | 104 | 404 |
| [20]all are rifled to the right | 1 | 105 | 405 |
| precautions required in the use of | 1 | 105-107 | 410 |
| kind of fuzes to be used for the shells of | 3 | 47 | 123, 124 |
| table of charges for | 3 | 54 | 161 |
| rammer-heads for, made of composition | 3 | 72 | 227 |
| Ricochet, | |||
| firing, directions as to | 1 | 85 | 318 |
| Rigging-Stoppers, | |||
| description and use of | 3 | 77 | 247 |
| Robinson’s-Worms, | |||
| description and use of | 3 | 73 | 234 |
| S. | |||
| Sabots, | |||
| for shells, dimensions, &c., of | 3 | 39 | 91 |
| Sailmakers, | |||
| the stations of, when at quarters | 1 | 16 | 76 |
| Sail-Trimmers, | |||
| when to be in two divisions, and the stations of | 1 | 19 | 96 |
| when to be in three divisions, and the stations of | 1 | 19 | 97 |
| the call for and duties of | 1 | 37 | 162, 165 |
| Salt-Water, | |||
| not to be used in cleaning guns nor equipments | 1 | 11 | 48 |
| Salutes, | |||
| directions as to firing | 1 | 7 | 26 |
| precautions required when firing | 1 | 11 | 53 |
| powder for, may be purchased abroad, when | 3 | 52 | 153 |
| old bags may be used for cylinders for | 3 | 59 | 185 |
| Scabbards, | |||
| for swords, Porter’s, description of | 3 | 78 | 250 |
| for bayonets, materials, size, &c., of | 3 | 79 | 257 |
| varnish for, its composition | 3 | 86 | 271 |
| Scaling-Ladders, | |||
| to be furnished each division of boats landed for service | 2 | 26 | 81 |
| Scrapers, | |||
| for bottoms of bores, description and use of | 3 | 74 | 236 |
| Screens. See Magazine-Screens | |||
| Seamen, | |||
| distribution of, when at quarters | 1 | 16 | 77 |
| the landing of, for battle, a remote contingency, &c. | 2 | 22 | 56 |
| the landing of, for exercise or service, directions as to | 2 | 25-27 | 69-88 |
| Seamen Ordinary. See Ordinary-Seamen. | |||
| Shells, | |||
| loaded, to be frequently used in target practice, &c. | 1 | 4 | 8 |
| precautions required in filling | 1 | 5 | 17 |
| stowage of, in the shell-rooms | 1 | 10 | 45 |
| how to be passed up for use | 1 | 44 | 200 |
| should be drawn if loaded more than 24 hours | 1 | 46 | 204 |
| loading with, directions as to | 1 | 75 | 261-263 |
| in battle, proper occasions for using | 1 | 75 | 265 |
| getting jammed in the bore, should be withdrawn | 1 | 75 | 267 |
| loading with, precautions to be observed | 1 | 76 | 270 |
| all spherical, fitted with time-fuzes, except | 1 | 89 | 324 |
| Parrott, the navy time-fuze the most certain for | 1 | 91 | 334 |
| Parrott, charges for | 1 | 101 | 385 |
| for rifled-cannon, gauges for | 1 | 101 | 386 |
| for rifled-guns, to be close home on the powder | 1 | 103 | 393, 394 |
| preferable for light artillery in the field | 2 | 22 | 52 |
| when useful in boat-howitzers | 2 | 23 | 64 |
| inspection of, with instruments to be used | 3 | 37, 38 | 77-87 |
| [21]gauges, and dimensions of sabots and straps for | 3 | 39 | 89-91 |
| preservation of, directions as to piling, painting, &c. | 3 | 43 | 98-103 |
| preparation of, for service, directions as to | 3 | 44-47 | 104-128 |
| filling, directions as to | 3 | 44 | 108 |
| emptying, directions as to | 3 | 46 | 116 |
| boxes for, dimensions and areas occupied by | 3 | 47 | 127, 128 |
| loaded, directions as to putting them on board ship | 3 | 52 | 157 |
| Shell-Bags, | |||
| to be preserved and returned into store | 1 | 10 | 43 |
| Shell-Divisions, | |||
| on board monitors, the duties of | 1 | 112 | 436-443 |
| Shell-Guns, | |||
| proof-charges for | 3 | 22 | 31 |
| denominated by the diameters of their bores | 3 | 30 | 47 |
| cylinders for, directions as to making &c. | 3 | 57, 58 | 181-185 |
| Shell-Men, | |||
| stations and numbers of, for broadside-guns | 1 | 35 | 152 |
| duties of, in preparing for exercise of broadside-guns | 1 | 40 | 173 |
| duties of, at the exercise of broadside-guns | 1 | 48 | 212 |
| duties of, when housing lower-deck guns | 1 | 54 | 230 |
| stations, &c., of, for pivot-guns | 1 | 62 | 243 |
| Shell-Rooms, | |||
| to be thoroughly cleaned, dried, and aired | 1 | 7 | 28 |
| when opened, precautions to be taken against fire | 1 | 11 | 50 |
| for mortars, directions concerning | 1 | 119, 120 | 457-470 |
| the position and construction of, on board ships | 3 | 64 | 202-204 |
| to ascertain the dryness of | 3 | 64 | 205 |
| Shell-Whips, | |||
| description and use of | 3 | 70 | 218 |
| Shifting Guns, | |||
| to have full gun’s crews | 1 | 17 | 80 |
| Ships’ Corporals, | |||
| the duties of, at general quarters | 1 | 31 | 137 |
| Shot, | |||
| how to be passed up for use | 1 | 44 | 200 |
| solid when to be used in action | 1 | 75 | 266 |
| if jammed in the bore, should be withdrawn | 1 | 75 | 267 |
| solid, not to be fired from shell-guns, except | 1 | 75 | 268 |
| grape, the use of | 1 | 76 | 271-273 |
| canister, the use of | 1 | 76 | 274 |
| shrapnel-shell, or spherical case, the use of | 1 | 76 | 275 |
| for rifled-cannon, the gauges for | 1 | 101 | 386 |
| the 32-pdr. and 18-pdr., may be fired from the 100-pdr. and 60-pdr. guns, especially on ricochet, &c. | 1 | 103 | 398 |
| manner of inspecting, with the instruments used | 3 | 36, 37 | 68-76 |
| to determine the average weight of, &c. | 3 | 37 | 76 |
| gauges for, with their dimensions, &c. | 3 | 39 | 88 |
| preservation of, with directions as to piling, painting, &c. | 3 | 43 | 98-103 |
| Shot-Guns, | |||
| proof-charges for | 3 | 22 | 31 |
| denominated by the weight of their shot | 3 | 30 | 47 |
| cylinders for, directions as to making, &c. | 3 | 57, 58 | 181-185 |
| Shrapnel-Shell, | |||
| in action, the proper use of | 1 | 76 | 275 |
| time-fuzes, only to be used with | 1 | 104 | 402 |
| useful with light artillery in the field | 2 | 22 | 52 |
| when useful with boat-howitzers | 2 | 23 | 61-63 |
| gauges and dimensions of sabots and straps for | 3 | 39 | 90, 91 |
| Sights, | |||
| for broadside-guns, description and use of | 1 | 79-83 | 288-308 |
| kind of, furnished to the Parrott-rifles | 1 | 82 | 303 |
| [22]for rifled-guns, description and use of | 1 | 104 | 404 |
| trunnion, for mortars and pivot-guns, use, &c., of | 3 | 71 | 225 |
| tangent, to be supplied to all pivot-guns | 3 | 71 | 226 |
| Signals, | |||
| making and answering, in time of war | 1 | 94 | 347-350 |
| for returning boats, in time of war | 1 | 96 | 365 |
| Signal-Officers, | |||
| in action, stationed upon the quarter-deck | 1 | 14 | 66 |
| the duties of, at general quarters | 1 | 27 | 109, 110 |
| Selvagee-Wads, | |||
| to be placed over shot | 1 | 75 | 264 |
| description of, and mode of making | 3 | 68 | 214 |
| Single-Stick, | |||
| practice with the, to be encouraged | 1 | 93 | 344 |
| Slings. See Gun-Slings. | |||
| Small-Arms, | |||
| crews to be exercised in the use of | 1 | 5 | 12 |
| to be turned over at the end of cruises, &c. | 1 | 12 | 56 |
| not to be used in the tops, without | 1 | 25 | 103 |
| loading and distribution of | 1 | 26 | 107 |
| to be unloaded after exercise or battle | 1 | 54 | 229 |
| proper for boats on armed expeditions | 2 | 7 | 11, 12 |
| condemnations of, not allowed, except | 3 | 31 | 51 |
| size of powder for | 3 | 49 | 134 |
| a list of, to be furnished commanding officers of vessels | 3 | 51 | 146 |
| quantity of powder for the cartridges of | 3 | 55 | 166 |
| dimensions of the boxes for the ammunition, &c., of | 3 | 55 | 167 |
| percussion-caps, and bullets for, will be furnished from the Washington Yard | 3 | 55 | 168 |
| how to be stamped | 3 | 79 | 258 |
| to be carefully cleaned, &c., after use | 3 | 80 | 259 |
| to be frequently examined, &c. | 3 | 80 | 260 |
| cleaning them, directions as to | 3 | 80-82 | 262-269 |
| precautions required in using | 3 | 82 | 270 |
| lacquer for, its composition | 3 | 86 | 271 |
| Small-Arm-Men, | |||
| formation, &c., of, when landed for service | 2 | 25 | 70-75 |
| accoutrements and equipments for | 3 | 77 | 249 |
| Smooth-Bore Guns, | |||
| service charges for | 3 | 53 | 160 |
| Spare-Articles, | |||
| required in action, the stowage, &c., of | 1 | 7 | 25 |
| Spherical-Case Shot, | |||
| in action, the proper use of | 1 | 76 | 27 |
| Sponges, | |||
| moist, the use of, recommended in wiping out, &c. | 1 | 74 | 25 |
| Spongers, | |||
| the selection for guns, merits of | 1 | 18 | 84 |
| the selection and requirements of | 1 | 18 | 84 |
| stations and numbers of, for broadside-guns | 1 | 35 | 15 |
| duties of, in preparing for exercise at the broadside-guns, &c., | 1 | 40 | 171 |
| duties of, at the exercise of broadside-guns, on one side only | 1 | 47 | 210-229 |
| duties of, when housing lower-deck guns | 1 | 54 | 230 |
| duties of, when shifting breechings in action | 1 | 59 | 240 |
| to keep within the ports, as much as possible | 1 | 74 | 260 |
| Sponge-Caps, | |||
| materials and description of | 3 | 73 | 233 |
| Sponge-Heads, | |||
| materials, sizes, &c., of | 3 | 72, 73 | 228-230 |
| [23]Sponge-Staves, | |||
| materials, sizes, &c., of | 3 | 73 | 232 |
| Steamships, | |||
| preparations on board of, when going into action | 1 | 39 | 168 |
| going into action, to have all the fires lighted, &c. | 1 | 94 | 353-356 |
| Stores, | |||
| table of, for armed boat expeditions | 2 | 4, 5 | 5 |
| Straps For Shells, | |||
| dimensions, &c., of | 3 | 39 | 91 |
| Surgeons, | |||
| their stations when at quarters, with their divisions, | 1 | 15 | 72 |
| the duties of, at general quarters | 1 | 31 | 138, 139 |
| the duties of, in case of fire on board ship | 1 | 99 | 382 |
| to accompany armed boat expeditions | 2 | 26 | 83 |
| Surveys, | |||
| on ordnance stores, when to be ordered | 1 | 4 | 6 |
| on ordnance stores, when to be asked for by gunners | 1 | 11 | 49 |
| on ordnance stores landed from ships, reports of, directions as to preparing, &c. | 3 | 6 | 19 |
| Swords, | |||
| crews to be exercised in the use of | 1 | 5 | 12 |
| number allowed for pivot and other guns | 1 | 21 | 101 |
| to be kept ready for the use of boarders | 1 | 40 | 179 |
| the efficient use of, in repelling boarders | 1 | 93 | 341 |
| the practice with, to be encouraged | 1 | 93 | 344 |
| Sword-Scabbards, | |||
| of Porter’s pattern, a description of | 3 | 78 | 250 |
| T. | |||
| Tables, | |||
| of the number of men for each kind of gun | 1 | 16 | 78 |
| of the number of men and their stations, for pivot-guns | 1 | 21 | 101 |
| of the number of men, with their stations, &c., for different classes of guns | 1 | 22-24 | 101 |
| of small-arms, allowed the master’s division | 1 | 25 | 101 |
| of equipments and implements for broadside-guns | 1 | 33 | 148 |
| of stations and gun-numbers for broadside-guns | 1 | 35 | 152 |
| of the wooden parts of ordinary truck-carriages | 1 | 45 | 202 |
| of the metal parts of ordinary truck-carriages | 1 | 45 | 202 |
| of parts peculiar to the Marsilly carriage | 1 | 45 | 202 |
| of equipments and implements for pivot-guns | 1 | 61 | 242 |
| of stations and gun-numbers for pivot-guns | 1 | 62 | 243 |
| of the weight, charges, &c., of rifled-guns, with their shot, shell, &c. | 1 | 101 | 384 |
| of the sizes of boxes for rifled projectiles | 1 | 107 | 411-414 |
| of equipments, arms, and stores for boats | 2 | 4 | 5 |
| of the stations, &c., of the men of boat-howitzers | 2 | 13 | 21 |
| of the stations, &c., of the men for field-howitzers | 2 | 19 | 37 |
| of allowed variations in guns from the proper dimensions | 3 | 20 | 30 |
| of proof charges for shot and shell guns | 3 | 22 | 31 |
| of shot and shell gauges | 3 | 39, 40 | 88-93 |
| of the number of balls in a triangular pile | 3 | 42 | 96 |
| of the number of balls in a square pile | 3 | 42 | 97 |
| of charges of powder for spherical shells | 3 | 44 | 105 |
| of exterior dimensions of shell-boxes | 3 | 47 | 127 |
| of areas occupied by one tier of shell-boxes | 3 | 47 | 128 |
| of the sizes of grains of different classes of powder | 3 | 48 | 130, 131 |
| of differences between the army and navy powder granulations | 3 | 49 | 135 |
| of service-charges for smooth-bore guns | 3 | 53 | 160 |
| of service-charges for navy rifle-guns | 3 | 54 | 161 |
| of the capacity, weight &c., of powder-tanks | 3 | 54 | 162 |
| of the stowage of cartridges in powder-tanks | 3 | 54 | 163 |
| [24]of charges for boat and field howitzers | 3 | 54 | 164 |
| of dimensions, weight, &c., of boxes for boat-howitzer projectiles | 3 | 55 | 165 |
| of the quantity of powder in small-arm cartridges | 3 | 55 | 166 |
| of the dimensions, &c., of boxes for small-arm ammunition and fireworks | 3 | 55 | 167 |
| of the dimensions, &c., of cylinders for guns | 3 | 58 | 183, 184 |
| of the dimensions, &c., of sockets and pivots for carriages | 3 | 65 | 207 |
| of the dimensions, &c., of breechings for guns | 3 | 67 | 210 |
| of the dimensions, &c., of ordinary handspikes | 3 | 74 | 237 |
| of the dimensions, &c., of roller handspikes | 3 | 75 | 238 |
| of the compositions of paints, varnishes, lacquers, &c. | 3 | 82-89 | 271 |
| [For Appendix Tables, see "Contents Of Appendix."] | |||
| Tacklemen, | |||
| stations and numbers of, for broadside-guns | 1 | 35 | 152 |
| the duties of, in preparing for use of broadside-guns | 1 | 40 | 177 |
| the duties of, at the exercises of broadside-guns on one side only | 1 | 48 | 211-216 |
| stations, &c., of, for pivot-guns | 1 | 62 | 243 |
| Targets, | |||
| materials, construction, &c., of | 3 | 70 | 222 |
| Target-Practice, | |||
| numbers of rounds and broadsides to be expended in | 1 | 4 | 7 |
| the expenditure for the allowances for | 1 | 4 | 10 |
| in port, directions as to | 1 | 5 | 11 |
| quarterly reports of, to be prepared and forwarded | 1 | 5 | 15 |
| Thumbstalls, | |||
| the naked thumb may be used, except for howitzers | 1 | 74 | 256 |
| materials of | 3 | 78 | 253 |
| Time-Fuzes, | |||
| times and lengths of, see Appendix B | 1 | 90 | 332 |
| unreliable in rifle-guns | 1 | 91 | 334 |
| when may be used in rifle-guns | 1 | 104 | 402 |
| Tools, | |||
| for boats on armed expeditions | 2 | 8 | 15 |
| intrenching, to be furnished for each division of boats, when | 2 | 26 | 81 |
| Tompions, | |||
| not to be put in guns when stowed, except | 3 | 30 | 45 |
| Training, | |||
| guns sharp, directions as to | 1 | 51 | 222 |
| guns lateral, directions as to | 1 | 78 | 284 |
| guns, general directions as to | 1 | 88 | 321, 322 |
| Trial-Guns, | |||
| extreme proof for, directions for | 3 | 24-26 | 34-36 |
| Trucks, | |||
| shifting, directions as to | 1 | 60 | 241 |
| Truck-Carriages, | |||
| the names, &c., of the parts of | 1 | 45 | 202 |
| Trunnion, | |||
| gauges, for examining guns, description and use of | 3 | 14, 19 | 28, 29 |
| rules, for examining guns, description and use of | 3 | 14, 19 | 28, 29 |
| sights, for mortars and pivot-guns, description and use of | 3 | 71 | 225 |
| squares, for examining guns, description and use of | 3 | 13, 19 | 29, 29 |
| V. | |||
| Varnishes, | |||
| for scabbards or patent leather | 3 | 86 | 271 |
| Copal, the composition of | 3 | 86 | 271 |
| Japan, the composition of | 3 | 87 | 271 |
| Vents, | |||
| the stopping of, recommended | 1 | 74 | 256 |
| [25]obstructed how to be cleared | 1 | 74 | 259 |
| of rifle-guns, description of | 1 | 104 | 403 |
| of boat-howitzers, as to closing them, &c. | 2 | 15 | 27 |
| measuring them, in examining guns | 3 | 18 | 29 |
| to take the impressions of | 3 | 24 | 36 |
| the amount of firing allowed for each, &c. | 3 | 33, 34 | 61-65 |
| wax for taking impressions of, its composition | 3 | 88 | 271 |
| Vent-Gauges, | |||
| for examining guns, description and use of | 3 | 15, 18 | 28, 29 |
| Vent-Guides, | |||
| for examining guns, description and use of | 3 | 14, 18 | 28, 29 |
| Vent-Searchers, | |||
| for examining guns, description and use of | 3 | 15, 18 | 28, 29 |
| Ventilation, | |||
| for magazines and for magazine-men | 3 | 64 | 206 |
| W. | |||
| Wads, | |||
| hard, not to be used in firing salutes | 1 | 7 | 26 |
| selvagee, to be placed over shot | 1 | 75 | 264 |
| over elongated projectiles, prohibited | 1 | 103 | 397 |
| selvagee, a description of | 3 | 68 | 214 |
| Waist-Belts, | |||
| materials and sizes of | 3 | 77 | 249 |
| Water-Proof, | |||
| of guns, directions for | 3 | 23 | 32 |
| Wax, | |||
| for taking impressions of vents, its composition | 3 | 88 | 271 |
| Whips. See Shell-Whips. | |||
| Words Of Command, | |||
| for broadside guns, on one side only “Silence.” | 1 | 47 | 205 |
| for broadside guns, on one side only “Cast loose,” &c. | 1 | 47, 48 | 206-218 |
| for broadside guns, on one side only “Run in.” | 1 | 49 | 219 |
| for broadside guns, on one side only “Serve vent and sponge.” | 1 | 49 | 220 |
| for broadside guns, on one side only “Load.” | 1 | 49 | 221 |
| for broadside guns, on one side only “Run out.” | 1 | 50 | 222 |
| for broadside guns, on one side only “Prime.” | 1 | 51 | 223 |
| for broadside guns, on one side only “Point.” | 1 | 51 | 224 |
| for broadside guns, on one side only “Ready—Fire.” | 1 | 52 | 225 |
| for broadside guns, on one side only “Cease Firing.” | 1 | 52 | 227 |
| for broadside guns, on one side only “Secure.” | 1 | 53, 54 | 229 |
| for quick-firing “Load, in one motion.” | 1 | 58, 59 | 238, 239 |
| shifting breechings in action “Sponge, Load, and Shift,” &c. | 1 | 59, 60 | 240 |
| for pivot-guns “Silence! Cast Loose and Provide.” | 1 | 63, 65 | 244, 245 |
| for pivot-guns “Run in.” | 1 | 65 | 246 |
| for pivot-guns “Shift Pivot,” &c. | 1 | 65, 66 | 247 |
| for pivot-guns “Serve vent and sponge.” | 1 | 67 | 248 |
| for pivot-guns “Load.” | 1 | 68 | 249 |
| for pivot-guns “Run out.” | 1 | 69 | 250 |
| for pivot-guns “Prime.” | 1 | 70 | 251 |
| for pivot-guns “Point.” | 1 | 70 | 252 |
| for pivot-guns “Ready—Fire.” | 1 | 71 | 253 |
| for pivot-guns “Shift to housing-pivot and Secure.” | 1 | 71 | 254 |
| for monitors “Serve vent and sponge.” | 1 | 109 | 421 |
| for monitors “Load.” | 1 | 109 | 422 |
| for monitors “Prime.” | 1 | 110 | 423 |
| for monitors “Elevate” [or "Depress."] | 1 | 110 | 424 |
| for monitors “Run out.” | 1 | 110 | 425 |
| for monitors “Train Right” [or "Left."] | 1 | 110 | 426 |
| for monitors “Ready—Fire.” | 1 | 110 | 427 |
| for mortars “Silence.” | 1 | 115 | 447 |
| for mortars “Cast Loose and Provide.” | 1 | 115 | 448 |
| [26]for mortars “Train” [Right or Left.] | 1 | 116 | 449 |
| for mortars “Serve vent and sponge.” | 1 | 116 | 450 |
| for mortars “Load.” | 1 | 117 | 451 |
| for mortars “Elevate.” | 1 | 117 | 452 |
| for mortars “Prime.” | 1 | 117 | 453 |
| for mortars “Ready—Fire.” | 1 | 118 | 454 |
| for mortars “Mortar—Front.” | 1 | 118 | 455 |
| for mortars “Secure.” | 1 | 118 | 456 |
| for boat-howitzers “Man the Howitzer.” | 2 | 14 | 22 |
| for boat-howitzers “Sponge.” | 2 | 14 | 23 |
| for boat-howitzers “Load.” | 2 | 14 | 24 |
| for boat-howitzers “Point.” | 2 | 14 | 25 |
| for boat-howitzers “Fire.” | 2 | 14 | 26 |
| for disembarking howitzers “Prepare to Land” | 2 | 17 | 31 |
| for disembarking howitzers “Trail bow and stroke oars.” | 2 | 17 | 32 |
| for disembarking howitzers “Trail.” | 2 | 17 | 33 |
| for disembarking howitzers “Shift the Howitzer.” | 2 | 17 | 34 |
| for disembarking howitzers “Land.” | 2 | 18 | 35 |
| for embarking Howitzers | 2 | 18 | 36 |
| for field-Howitzers “Man the Howitzer.” | 2 | 19 | 38 |
| for field-Howitzers “Sponge.” | 2 | 19 | 39 |
| for field-Howitzers “Load.” | 2 | 19 | 40 |
| for field-Howitzers “Point.” | 2 | 19 | 41 |
| for field-Howitzers “Fire.” | 2 | 19 | 42 |
| for field-Howitzers “Secure the Howitzer.” | 2 | 19 | 43 |
| Worms. See Robinson’s Worms. | |||
| Wounded, | |||
| arrangements for lowering the | 1 | 44 | 201 |
| implements for, on armed boat expeditions | 2 | 8 | 17 |
| Y. | |||
| Yeomen, | |||
| what articles of ordnance stores to be accountable for | 1 | 13 | 61 |
| duties of, when their ships are to be laid up | 1 | 13 | 62 |
| appointments and qualifications of. | 1 | 13 | 63 |










































You must log in to post a comment.